Resolução CVM Nº 76 DE 22/03/2022


 Publicado no DOU em 23 mar 2022


Aprova a Consolidação do Pronunciamento Técnico CPC 48, do Comitê de Pronunciamentos Contábeis - CPC, que trata de instrumentos financeiros.


Monitor de Publicações

O Presidente da Comissão de Valores Mobiliários - CVM torna público que o Colegiado, em reunião realizada em 1º de dezembro de 2021, com fundamento nos §§ 3º e 5º do art. 177 da Lei nº 6.404, de 15 de dezembro de 1976 , combinados com os incisos II e IV do § 1º do art. 22 da Lei nº 6.385, de 7 de dezembro de 1976 , bem como nos arts. 5º e 14 do Decreto nº 10.139, de 28 de novembro de 2019 , APROVOU a seguinte Resolução:

Art. 1º Torna obrigatório para as companhias abertas o Pronunciamento Técnico CPC 48, que trata de instrumentos financeiros, emitido pelo Comitê de Pronunciamentos Contábeis - CPC, conforme consolidado no Anexo "A" à presente Resolução.

Art. 2º Fica revogada a Deliberação CVM nº 763, de 22 de dezembro de 2016 , a partir da vigência desta Resolução.

Art. 3º Esta Resolução entra em vigor em 1º de julho de 2022.

MARCELO BARBOSA

ANEXO "A"

COMITÊ DE PRONUNCIAMENTOS CONTÁBEIS

PRONUNCIAMENTO TÉCNICO CPC 48

INSTRUMENTOS FINANCEIROS

Correlação às Normas Internacionais de Contabilidade - IFRS 9

Sumário  Item 
1 OBJETIVO  1.1 
2 ALCANCE  2.1 
3 RECONHECIMENTO E DESRECONHECIMENTO  3.1.1 
3.1 Reconhecimento inicial  3.1.1 
3.2 Desreconhecimento de ativo financeiro  3.2.1 
3.3 Desreconhecimento de passivo financeiro  3.3.1 
4 CLASSIFICAÇÃO  4.1.1 
4.1 Classificação de ativo financeiro  4.1.1 
4.2 Classificação de passivo financeiro  4.2.1 
4.3 Derivativo embutido  4.3.1 
4.4 Reclassificação  4.4.1 
5 MENSURAÇÃO  5.1.1 
5.1 Mensuração inicial  5.1.1 
5.2 Mensuração subsequente de ativo financeiro  5.2.1 
5.3 Mensuração subsequente de passivo financeiro  5.3.1 
5.4 Mensuração ao custo amortizado  5.4.1 
5.5 Redução ao valor recuperável  5.5.1 
5.6 Reclassificação de ativo financeiro  5.6.1 
5.7 Ganhos e perdas  5.7.1 
6 CONTABILIZAÇÃO DE HEDGE  6.1.1 
6.1 Objetivo e alcance da contabilização de hedge  6.1.1 
6.2 Instrumento de hedge  6.2.1 
6.3 Item protegido (hedged)  6.3.1 
6.4 Critérios de qualificação para contabilização de hedge  6.4.1 
6.5 Contabilização de relação de proteção que se qualifica  6.5.1 
6.6 Hedge de grupo de itens  6.6.1 
6.7 Opção de designar a exposição de crédito como mensurada ao valor justo por meio do resultado  6.7.1 
7 DATA DE VIGÊNCIA E TRANSIÇÃO  7.1.1 
7.1 Data de vigência  7.1.1 
7.2 Transição  7.2.1 
7.3 Eliminado  7.3.1 
APÊNDICES   
A Definição de termos   
B Orientação de aplicação 

CAPÍTULO 1

OBJETIVO

1.1 O objetivo deste pronunciamento é estabelecer princípios para os relatórios financeiros de ativos financeiros e passivos financeiros que devem apresentar informações pertinentes e úteis aos usuários de demonstrações contábeis para a sua avaliação dos valores, época e incerteza dos fluxos de caixa futuros da entidade.

CAPÍTULO 2

ALCANCE

2.1 Este pronunciamento deve ser aplicado por todas as entidades a todos os tipos de instrumentos financeiros, exceto:

(a) participações em controladas, coligadas ou empreendimentos controlados em conjunto que devem ser contabilizadas de acordo com o CPC 36 - Demonstrações Consolidadas, o CPC 35 - Demonstrações Separadas ou o CPC 18 - Investimento em Coligada, em Controlada e em Empreendimento Controlado em Conjunto. Entretanto, em alguns casos, o CPC 36, o CPC 35 ou o CPC 18 exigem ou permitem que a entidade contabilize sua participação em controlada, coligada ou empreendimento controlado em conjunto de acordo com alguns, ou todos, requisitos deste pronunciamento. As entidades devem também aplicar este pronunciamento a derivativos em participação em controlada, coligada ou empreendimento controlado em conjunto, exceto se o derivativo atender à definição de instrumento patrimonial da entidade no CPC 39 - Instrumentos Financeiros: Apresentação;

(b) direitos e obrigações previstos em arrendamentos aos quais deve ser aplicado o CPC 06 - Arrendamentos. Entretanto:

(i) os recebíveis de arrendamento financeiro (ou seja, investimentos líquidos em arrendamento financeiro) e recebíveis de arrendamento operacional reconhecidos por arrendador estão sujeitos aos requisitos de desreconhecimento e de redução ao valor recuperável deste pronunciamento;

(ii) passivos de arrendamento reconhecidos por arrendatário estão sujeitos aos requisitos de desreconhecimento do item 3.3.1 deste pronunciamento; e

(iii) derivativos que estão embutidos em arrendamentos estão sujeitos aos requisitos de derivativos embutidos deste pronunciamento;

(c) direitos e obrigações de empregadores em planos de benefícios a empregados, aos quais deve ser aplicado o CPC 33 - Benefícios a Empregados;

(d) instrumentos financeiros emitidos pela entidade que atenderem à definição de instrumento patrimonial do CPC 39 (incluindo opções e bônus de subscrição) ou que tiverem de ser classificados como instrumento patrimonial de acordo com os itens 16A e 16B ou com os itens 16C e 16D do CPC 39. Entretanto, o titular desses instrumentos patrimoniais deve aplicar este pronunciamento a esses instrumentos, exceto se atenderem à exceção da alínea (a);

(e) direitos e obrigações decorrentes de (i) contrato de seguro, conforme definido no CPC 11 - Contratos de Seguro, que não sejam direitos e obrigações da emitente decorrentes de contrato de seguro que atenda à definição de contrato de garantia financeira, ou (ii) contrato que esteja dentro do alcance do CPC 11, porque contém característica de participação discricionária. Contudo, este pronunciamento deve ser aplicado a um derivativo que esteja embutido em contrato dentro do alcance do CPC 11 se o derivativo não for, ele próprio, um contrato dentro do alcance do CPC 11. Além disso, se a emitente de contratos de garantia financeira tiver anteriormente afirmado explicitamente que considera esses contratos como contratos de seguro e tiver usado a contabilização aplicável a contratos de seguro, a emitente pode decidir aplicar este pronunciamento ou o CPC 11 a esses contratos de garantia financeira (ver itens B2.5 e B2.6). A emitente pode tomar essa decisão, contrato a contrato, mas a decisão para cada contrato é irrevogável;

(f) qualquer contrato a termo entre a adquirente e o acionista vendedor para comprar ou vender uma entidade adquirida que resultará em combinação de negócios dentro do alcance do CPC 15 - Combinação de Negócios na data de aquisição futura. O prazo do contrato a termo não deve exceder um período razoável normalmente necessário para obter quaisquer aprovações exigidas e para concluir a transação;

(g) compromissos de empréstimo, exceto os compromissos de empréstimo descritos no item 2.3. Entretanto, a emitente de compromissos de empréstimo deve aplicar os requisitos de redução ao valor recuperável deste pronunciamento a compromissos de empréstimo que não estejam dentro do alcance deste pronunciamento. Além disso, todos os compromissos de empréstimo estão sujeitos aos requisitos de desreconhecimento deste pronunciamento;

(h) instrumentos financeiros, contratos e obrigações previstos em transações de pagamento baseadas em ações aos quais deve ser aplicado o CPC 10 - Pagamento Baseado em Ações, com exceção de contratos dentro do alcance dos itens 2.4 a 2.7 deste pronunciamento, aos quais este pronunciamento deve ser aplicado;

(i) direitos a pagamentos para reembolsar a entidade por gastos incorridos para liquidar um passivo que reconheça como provisão de acordo com o CPC 25 - Provisões, Passivos Contingentes e Ativos Contingentes, ou para os quais, em período anterior, tenha reconhecido uma provisão de acordo com o CPC 25;

(j) direitos e obrigações dentro do alcance do CPC 47 - Receita de Contrato com Cliente que são instrumentos financeiros, exceto aqueles que o CPC 47 especifica que devem ser contabilizados de acordo com este pronunciamento.

2.2 Os requisitos de perdas por redução ao valor recuperável deste pronunciamento devem ser aplicados aos direitos que o CPC 47 especifica que devem ser contabilizados de acordo com este pronunciamento para as finalidades de reconhecimento de ganhos ou de perdas por redução ao valor recuperável.

2.3 Os seguintes compromissos de empréstimo estão dentro do alcance deste pronunciamento:

(a) compromissos de empréstimo que a entidade designe como passivos financeiros ao valor justo por meio do resultado (ver item 4.2.2). A entidade que tenha a prática passada de vender os ativos resultantes de seus compromissos de empréstimo logo após a concessão deve aplicar este pronunciamento a todos os seus compromissos de empréstimo na mesma classe;

(b) compromissos de empréstimo que possam ser liquidados pelo valor líquido à vista ou pela entrega ou emissão de outro instrumento financeiro. Esses compromissos de empréstimo são derivativos. O compromisso de empréstimo não é considerado como liquidado pelo valor líquido meramente pelo fato de o empréstimo ter sido pago em prestações (por exemplo, empréstimo hipotecário para construção que seja pago em parcelas, de acordo com o progresso da construção);

(c) compromissos para fornecer empréstimo à taxa de juros abaixo do mercado (ver item 4.2.1 (d)).

2.4 Este pronunciamento deve ser aplicado àqueles contratos de compra e venda de item não financeiro que puderem ser liquidados pelo valor líquido à vista ou por outro instrumento financeiro, ou pela troca de instrumentos financeiros, como se os contratos fossem instrumentos financeiros, com exceção dos contratos que foram celebrados e continuam a ser mantidos para fins de recebimento ou entrega de item não financeiro, de acordo com os requisitos de compra, venda ou uso esperados da entidade. Entretanto, este pronunciamento deve ser aplicado àqueles contratos que a entidade designa como mensurados ao valor justo por meio do resultado de acordo com o item 2.5.

2.5 O contrato para comprar ou vender um item não financeiro, que pode ser liquidado pelo valor líquido à vista ou por outro instrumento financeiro, ou pela troca de instrumentos financeiros, como se o contrato fosse um instrumento financeiro, pode ser irrevogavelmente designado como mensurado ao valor justo por meio do resultado, mesmo se foi celebrado para fins de recebimento ou entrega de item não financeiro, de acordo com os requisitos de compra, venda ou uso esperados da entidade. Essa designação está disponível apenas no início do contrato e apenas se eliminar ou reduzir significativamente uma inconsistência de reconhecimento (algumas vezes referida como descasamento contábil) que de outra forma surgiria do não reconhecimento desse contrato porque foi excluída do alcance deste pronunciamento (ver item 2.4).

2.6 Há diversas formas em que um contrato para compra ou venda de item não financeiro pode ser liquidado pelo valor líquido à vista ou por outro instrumento financeiro ou pela troca de instrumentos financeiros. Essas formas incluem:

(a) quando os termos do contrato permitem que uma das partes o liquide pelo valor líquido à vista ou por outro instrumento financeiro, ou pela troca de instrumentos financeiros;

(b) quando a capacidade de liquidar pelo valor líquido à vista ou por outro instrumento financeiro, ou pela troca de instrumentos financeiros, não estiver explícita nos termos do contrato, mas a entidade tiver a prática de liquidar contratos similares pelo valor líquido à vista ou por outro instrumento financeiro, ou pela troca de instrumentos financeiros (se com a contraparte, celebrando o contrato de compensação, ou vendendo o contrato antes de seu exercício ou prescrição);

(c) quando, para contratos similares, a entidade tiver a prática de obter a entrega do item subjacente e vendê-lo dentro de curto período após a entrega, para a finalidade de gerar lucro de flutuações de curto prazo no preço ou margem do revendedor;e

(d) quando um item não financeiro que for objeto do contrato for prontamente conversível em caixa.

O contrato, ao qual seja aplicada a alínea (b) ou (c) não é celebrado para fins de recebimento ou entrega de item não financeiro, de acordo com os requisitos de compra, venda ou uso esperados da entidade e, consequentemente, está dentro do alcance deste pronunciamento. Outros contratos, aos quais deva ser aplicado o item 2.4, devem ser avaliados para determinar se foram celebrados e continuam a ser mantidos para fins de recebimento ou entrega do item não financeiro, de acordo com os requisitos de compra, venda ou uso esperados da entidade e, consequentemente, se estão dentro do alcance deste pronunciamento.

2.7 A opção lançada de compra ou venda de item não financeiro, que pode ser liquidada pelo valor líquido à vista ou por outro instrumento financeiro, ou pela troca de instrumentos financeiros, de acordo com o item 2.6 (a) ou 2.6 (d) está dentro do alcance deste pronunciamento. Esse contrato não pode ser celebrado para fins de recebimento ou entrega do item não financeiro, de acordo com os requisitos de compra, venda ou uso esperados da entidade.

CAPÍTULO 3

RECONHECIMENTO E DESRECONHECIMENTO

3.1 Reconhecimento inicial

3.1.1 A entidade deve reconhecer um ativo financeiro ou um passivo financeiro em seu balanço patrimonial, quando, e apenas quando, a entidade se tornar parte das disposições contratuais do instrumento (ver itens B3.1.1 e B3.1.2). Ao reconhecer, pela primeira vez, um ativo financeiro, a entidade deve classificá-lo de acordo com os itens 4.1.1 a 4.1.5 e mensurá-lo de acordo com os itens 5.1.1 a 5.1.3. Ao reconhecer, pela primeira vez, um passivo financeiro, a entidade deve classificá-lo de acordo com os itens 4.2.1 e 4.2.2 e mensurá-lo de acordo com o item 5.1.1.

Compra ou venda de forma regular de ativos financeiros

3.1.2 A compra ou a venda de forma regular de ativos financeiros deve ser reconhecida e desreconhecida, conforme aplicável, utilizando-se a contabilização na data da negociação ou a contabilização na data da liquidação (ver itens B3.1.3 a B3.1.6).

3.2 Desreconhecimento de ativo financeiro

3.2.1 Nas demonstrações contábeis consolidadas, os itens 3.2.2 a 3.2.9, B3.1.1, B3.1.2 e B3.2.1 a B3.2.17 devem ser aplicados ao nível consolidado. Portanto, a entidade primeiramente deve consolidar todas as controladas de acordo com o CPC 36 e, então, deve aplicar esses itens ao grupo resultante.

3.2.2 Antes de avaliar se, e até que ponto, o desreconhecimento é apropriado de acordo com os itens 3.2.3 a 3.2.9, a entidade define se esses itens devem ser aplicados a uma parte do ativo financeiro (ou a uma parte de grupo de ativos financeiros similares) ou a um ativo financeiro (ou grupo de ativos financeiros similares) em sua totalidade, como segue:

(a) os itens 3.2.3 a 3.2.9 devem ser aplicados a uma parte do ativo financeiro (ou a uma parte de grupo de ativos financeiros similares) se, e apenas se, a parte que estiver sendo considerada para desreconhecimento atender a uma das três condições a seguir:

(i) a parte compreender apenas fluxos de caixa especificamente identificados do ativo financeiro (ou de grupo de ativos financeiros similares). Por exemplo, quando a entidade celebrar um acordo de faixa de taxa de juros, pelo qual a contraparte obtém o direito aos fluxos de caixa de juros, mas, não, aos fluxos de caixa do principal do instrumento de dívida, os itens 3.2.3 a 3.2.9 devem ser aplicados aos fluxos de caixa de juros;

(ii) a parte compreender apenas uma parcela totalmente proporcional (pro rata) dos fluxos de caixa do ativo financeiro (ou grupo de ativos financeiros similares). Por exemplo, quando a entidade celebrar um acordo pelo qual a contraparte obtém os direitos à participação de 90% de todos os fluxos de caixa do instrumento de dívida, os itens 3.2.3 a 3.2.9 devem ser aplicados a 90% desses fluxos de caixa. Se houver mais de uma contraparte, cada contraparte não é obrigada a ter uma parcela proporcional dos fluxos de caixa, desde que a entidade transferente tenha uma parcela totalmente proporcional;(iii) a parte compreender apenas uma parcela totalmente proporcional (pro rata) dos fluxos de caixa especificamente identificados do ativo financeiro (ou grupo de ativos financeiros similares). Por exemplo, quando a entidade celebrar um acordo pelo qual a contraparte obtém direito a 90% dos fluxos de caixa de juros do ativo financeiro, os itens 3.2.3 a 3.2.9 devem ser aplicados a 90% desses fluxos de caixa de juros. Se houver mais de uma contraparte, cada contraparte não é obrigada a ter uma parcela proporcional dos fluxos de caixa especificamente identificados, desde que a entidade transferente tenha uma parcela totalmente proporcional;

(b) em todos os outros casos, os itens 3.2.3 a 3.2.9 devem ser aplicados ao ativo financeiro em sua totalidade (ou ao grupo de ativos financeiros similares em sua totalidade). Por exemplo, quando a entidade transferir (i) os direitos aos primeiros ou aos últimos 90% dos recebimentos de caixa do ativo financeiro (ou grupo de ativos financeiros), ou (ii) o direito a 90% dos fluxos de caixa de grupo de contas a receber, mas fornecer uma garantia para compensar o comprador por quaisquer perdas de crédito de até 8% do valor do principal das contas a receber, os itens 3.2.3 a 3.2.9 devem ser aplicados ao ativo financeiro (ou a grupo de ativos financeiros similares) em sua totalidade.

Nos itens 3.2.3 a 3.2.12, a expressão "ativo financeiro" refere-se a uma parte do ativo financeiro (ou a uma parte de grupo de ativos financeiros similares), conforme identificado na alínea (a) acima ou, de outro modo, a um ativo financeiro (ou grupo de ativos financeiros similares) em sua totalidade.

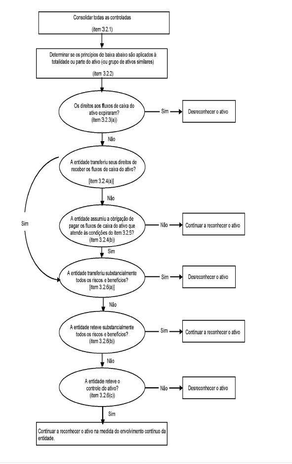
3.2.3 A entidade deve desreconhecer o ativo financeiro quando, e apenas quando:

(a) os direitos contratuais aos fluxos de caixa do ativo financeiro expirarem; ou

(b) transferir o ativo financeiro, conforme definido nos itens 3.2.4 e 3.2.5, e a transferência se qualificar para desreconhecimento, de acordo com o item 3.2.6.

(Ver item 3.1.2 para vendas de forma regular de ativos financeiros).

3.2.4 A entidade deve transferir o ativo financeiro se, e apenas se:

(a) transferir os direitos contratuais de receber fluxos de caixa do ativo financeiro; ou

(b) retiver os direitos contratuais de receber fluxos de caixa do ativo financeiro, mas assumir a obrigação contratual de pagar os fluxos de caixa a um ou mais recebedores em acordo que atenda às condições do item 3.2.5.

3.2.5 Quando a entidade retiver os direitos contratuais de receber fluxos de caixa do ativo financeiro ("ativo original"), mas assumir a obrigação contratual de pagar esses fluxos de caixa a uma ou mais entidades (eventuais recebedores), ela deve tratar a transação como transferência do ativo financeiro se, e apenas se, todas as três condições a seguir forem atendidas:

(a) a entidade não tem obrigação de pagar valores a eventuais recebedores, exceto se cobrar valores equivalentes ao do ativo original. Os adiantamentos em curto prazo por parte da entidade, com direito à recuperação total do valor emprestado, mais juros acumulados a taxas de mercado não violam essa condição;

(b) a entidade está proibida, pelos termos do contrato de transferência, de vender ou oferecer em garantia o ativo original, exceto como garantia a eventuais recebedores pela obrigação de lhes pagar fluxos de caixa;

(c) a entidade tem a obrigação de remeter quaisquer fluxos de caixa que cobrar em nome de eventuais recebedores, sem atraso relevante. Além disso, a entidade não tem o direito de reinvestir esses fluxos de caixa, com exceção de investimentos em caixa ou equivalentes de caixa (como definido no CPC 03 - Demonstração dos Fluxos de Caixa) durante o curto período de liquidação, desde a data de recebimento até a data requerida de remessa aos eventuais recebedores, e os juros auferidos sobre esses investimentos devem ser repassados aos eventuais recebedores.

3.2.6 Quando a entidade transferir o ativo financeiro (ver item 3.2.4), ela deve avaliar até que ponto retém os riscos e benefícios da propriedade do ativo financeiro. Nesse caso:

(a) se a entidade transferir, substancialmente, todos os riscos e benefícios da propriedade do ativo financeiro, ela deve desreconhecer o ativo financeiro e reconhecer separadamente como ativos ou passivos quaisquer direitos e obrigações criados ou retidos na transferência;

(b) se a entidade retiver substancialmente todos os riscos e benefícios da propriedade do ativo financeiro, ela deve continuar a reconhecer o ativo financeiro;

(c) se a entidade não transferir nem retiver substancialmente todos os riscos e benefícios da propriedade do ativo financeiro, ela deve determinar se reteve o controle do ativo financeiro. Nesse caso:

(i) se a entidade não tiver retido o controle, ela deve desreconhecer o ativo financeiro e reconhecer separadamente como ativos ou passivos quaisquer direitos ou obrigações criados ou retidos na transferência;

(ii) se a entidade tiver retido o controle, ela deve continuar a reconhecer o ativo financeiro, na medida de seu envolvimento contínuo no ativo financeiro (ver item 3.2.16).

3.2.7 A transferência dos riscos e benefícios (ver item 3.2.6) deve ser avaliada, comparando-se a exposição da entidade, antes e após a transferência, com a variabilidade nos valores e época dos fluxos de caixa líquidos do ativo transferido. A entidade reteve, substancialmente, todos os riscos e benefícios da propriedade do ativo financeiro se sua exposição à variabilidade no valor presente dos fluxos de caixa líquidos futuros do ativo financeiro não mudar significativamente como resultado da transferência (por exemplo, pelo fato de a entidade ter vendido um ativo financeiro sujeito a um contrato para recomprá-lo por preço fixo ou por preço de venda mais o retorno de juros). A entidade transferiu substancialmente todos os riscos e benefícios da propriedade do ativo financeiro se sua exposição a essa variabilidade deixar de ser significativa em relação à variabilidade total no valor presente dos fluxos de caixa líquidos futuros associados ao ativo financeiro (por exemplo, pelo fato de a entidade ter vendido um ativo financeiro sujeito apenas à opção de recomprá-lo pelo seu valor justo no momento da recompra ou ter transferido uma parcela totalmente proporcional dos fluxos de caixa do ativo financeiro maior em acordo, como, por exemplo, uma subparticipação em empréstimo que atenda às condições do item 3.2.5).

3.2.8 Frequentemente, é óbvio que a entidade transfira ou retenha substancialmente todos os riscos e benefícios da propriedade e não haja necessidade de realizar nenhum cálculo. Em outros casos, é necessário calcular e comparar a exposição da entidade à variabilidade no valor presente dos fluxos de caixa líquidos futuros antes e após a transferência. O cálculo e a comparação devem ser feitos, usando-se como taxa de desconto uma taxa de juros de mercado corrente apropriada. Toda a variabilidade razoavelmente possível nos fluxos de caixa líquidos deve ser considerada, sendo dado maior peso àqueles resultados cuja ocorrência seja mais provável.

3.2.9 O fato de a entidade ter retido, ou não, o controle (ver item 3.2.6 (c)) do ativo transferido depende da capacidade do cessionário de vender o ativo. Se o cessionário tiver a capacidade prática de vender o ativo em sua totalidade a um terceiro não relacionado e for capaz de exercer essa capacidade unilateralmente e sem precisar impor restrições adicionais sobre a transferência, a entidade não reteve o controle. Em todos os outros casos, a entidade reteve o controle.

Transferência que se qualifica para desreconhecimento

3.2.10 Se a entidade transferir o ativo financeiro em uma transferência que se qualifica para desreconhecimento em sua totalidade e retiver o direito de prestar serviço de cobrança do ativo financeiro em troca de comissão, ela deve reconhecer um ativo ou um passivo pelo serviço de cobrança em relação a esse contrato de serviço. Se não se espera que a comissão a ser recebida remunere adequadamente a entidade pela prestação do serviço de cobrança, um passivo pela obrigação de serviço de cobrança deve ser reconhecido ao seu valor justo. Se for esperado que a comissão a ser recebida seja uma remuneração mais que adequada pelo serviço de cobrança, o ativo de serviço de cobrança deve ser reconhecido para o direito de serviço de cobrança pelo valor determinado, com base na alocação do valor contábil do ativo financeiro maior, de acordo com o item 3.2.13.

3.2.11 Se, como resultado da transferência, o ativo financeiro for desreconhecido em sua totalidade, mas a transferência resultar na obtenção pela entidade de novo ativo financeiro ou na assunção de novo passivo financeiro, ou de passivo de serviço de cobrança, a entidade deve reconhecer o novo ativo financeiro, passivo financeiro ou passivo de serviço de cobrança ao valor justo.

3.2.12 Ao desreconhecer o ativo financeiro em sua totalidade, a diferença entre:

(a) o valor contábil (mensurado na data do desreconhecimento); e

(b) a contraprestação recebida (incluindo qualquer novo ativo obtido menos qualquer novo passivo assumido);

deve ser reconhecida no resultado.

3.2.13 Se o ativo transferido fizer parte de ativo financeiro maior (por exemplo, quando a entidade transferir fluxos de caixa de juros que sejam parte de instrumento de dívida, ver item 3.2.2 (a)) e a parte transferida se qualificar para desreconhecimento em sua totalidade, o valor contábil anterior do ativo financeiro maior deve ser alocado entre a parte que continua a ser reconhecida e a parte que é desreconhecida, com base nos valores justos relativos dessas partes na data da transferência. Para essa finalidade, o ativo de serviço de cobrança retido deve ser tratado como parte que continua a ser reconhecida. A diferença entre:

(a) o valor contábil (mensurado na data do desreconhecimento) alocado à parte desreconhecida; e

(b) a contraprestação recebida pela parte desreconhecida (incluindo qualquer novo ativo obtido menos qualquer novo passivo assumido);

deve ser reconhecida no resultado.

3.2.14 Quando a entidade alocar o valor contábil anterior de ativo financeiro maior entre a parte que continua a ser reconhecida e a parte que é desreconhecida, o valor justo da parte que continua a ser reconhecida deve ser mensurado. Quando a entidade tem histórico de vendas de partes similares à parte que continua a ser reconhecida ou houver outras transações de mercado para essas partes, os preços recentes das transações reais fornecem a melhor estimativa de seu valor justo. Quando não houver cotações de preço ou transações de mercado recentes para suportar o valor justo da parte que continua a ser reconhecida, a melhor estimativa do valor justo é a diferença entre o valor justo do ativo financeiro maior e a contraprestação recebida do cessionário pela parte que é desreconhecida.

Transferência que não se qualifica para desreconhecimento

3.2.15 Se a transferência não resultar em desreconhecimento, porque a entidade reteve substancialmente todos os riscos e benefícios da propriedade do ativo transferido, a entidade deve continuar a reconhecer o ativo transferido em sua totalidade e deve reconhecer o passivo financeiro pela contraprestação recebida. Em períodos subsequentes, a entidade deve reconhecer qualquer receita proveniente do ativo transferido e qualquer despesa incorrida com o passivo financeiro.

Envolvimento contínuo em ativos transferidos

3.2.16 Se a entidade não transferir nem retiver substancialmente todos os riscos e benefícios da propriedade do ativo transferido e retiver o controle do ativo transferido, ela deve continuar a reconhecer o ativo transferido na medida de seu envolvimento contínuo. A extensão do envolvimento contínuo da entidade no ativo transferido é a extensão em que ela está exposta a alterações no valor do ativo transferido. Por exemplo:

(a) quando o envolvimento contínuo da entidade tomar a forma de garantia do ativo transferido, a extensão do envolvimento contínuo da entidade é o menor valor entre (i) o valor do ativo e (ii) o valor máximo da contraprestação recebida que a entidade pode ser obrigada a restituir ("valor da garantia");

(b) quando o envolvimento contínuo da entidade tomar a forma de opção lançada ou comprada (ou ambas) sobre o ativo transferido, a extensão do envolvimento contínuo da entidade é o valor do ativo transferido que a entidade pode recomprar.

Entretanto, no caso de opção lançada sobre um ativo que seja mensurado ao valor justo, a extensão do envolvimento contínuo da entidade está limitada ao que for menor entre o valor justo do ativo transferido e o preço de exercício da opção (ver item B3.2.13);

(c) quando o envolvimento contínuo da entidade tomar a forma de opção com liquidação pelo valor à vista ou forma similar sobre o ativo transferido, a extensão do envolvimento contínuo da entidade deve ser mensurada da mesma forma que aquela que resulta de opções não liquidáveis à vista, conforme definido na alínea (b) acima.

3.2.17 Quando a entidade continuar a reconhecer o ativo na medida de seu envolvimento contínuo, ela deve também reconhecer o respectivo passivo.

Independentemente dos outros requisitos de mensuração deste pronunciamento, o ativo transferido e o respectivo passivo devem ser mensurados em base que reflita os direitos e as obrigações que a entidade reteve. O respectivo passivo deve ser mensurado de tal forma que o valor contábil líquido do ativo transferido e do respectivo passivo seja:

(a) o custo amortizado dos direitos e obrigações retidos pela entidade, se o ativo transferido for mensurado ao custo amortizado; ou

(b) igual ao valor justo dos direitos e obrigações retidos pela entidade, quando mensurado de forma individual, caso o ativo transferido seja mensurado ao valor justo.

3.2.18 A entidade deve continuar a reconhecer qualquer receita proveniente do ativo transferido na medida do seu envolvimento contínuo e deve reconhecer qualquer despesa incorrida com o respectivo passivo.

3.2.19 Para fins de mensuração subsequente, as alterações reconhecidas no valor justo do ativo transferido e do respectivo passivo devem ser contabilizadas de forma consistente uma com a outra, de acordo com o item 5.7.1, e não devem ser compensadas.

3.2.20 Se o envolvimento contínuo da entidade estiver apenas em uma parte do ativo financeiro (por exemplo, quando a entidade retém a opção para recomprar parte do ativo transferido, ou retém participação residual que não resulta na retenção de substancialmente todos os riscos e benefícios da propriedade e a entidade retém o controle), a entidade deve alocar o valor contábil anterior do ativo financeiro entre a parte que continua a reconhecer de acordo com o seu envolvimento contínuo e a parte que deixa de reconhecer com base nos valores justos relativos dessas partes na data da transferência. Para essa finalidade, os requisitos descritos no item 3.2.14 devem ser aplicados. A diferença entre:

(a) o valor contábil (mensurado na data do desreconhecimento) alocado à parte que deixa de ser reconhecida; e

(b) a contraprestação recebida pela parte que deixa de ser reconhecida; deve ser reconhecida no resultado.

3.2.21 Se o ativo transferido for mensurado ao custo amortizado, a opção deste pronunciamento de designar o passivo financeiro como ao valor justo por meio do resultado não é aplicável ao respectivo passivo.

Todas as transferências

3.2.22 Se o ativo transferido continuar a ser reconhecido, o ativo e o respectivo passivo não devem ser compensados. De forma similar, a entidade não deve compensar nenhuma receita proveniente do ativo transferido com nenhuma despesa incorrida com o respectivo passivo (ver item 42 do CPC 39).

3.2.23 Se o cedente fornecer garantia não monetária (tais como instrumento de dívida ou instrumento patrimonial) ao cessionário, a contabilização da garantia pelo cedente e pelo cessionário depende do fato de o cessionário ter, ou não, o direito de vender ou oferecer novamente a garantia e do fato de o cedente estar, ou não, em inadimplência. O cedente e o cessionário devem contabilizar a garantia da seguinte forma:

(a) se o cessionário tiver o direito por contrato ou praxe de vender ou oferecer novamente a garantia, então o cedente deve reclassificar esse ativo em seu balanço patrimonial (por exemplo, como ativo emprestado, instrumento patrimonial oferecido em garantia ou recebível por compra) separadamente de outros ativos;

(b) se o cessionário vender a garantia oferecida a ele, ele deve reconhecer o valor da venda e o passivo mensurado ao valor justo pela sua obrigação de devolver a garantia;

(c) se o cedente estiver em inadimplência de acordo com os termos do contrato e deixar de ter direito de resgatar a garantia, ele deve desreconhecer a garantia, e o cessionário deve reconhecer a garantia como seu ativo inicialmente mensurado ao valor justo ou, se já tiver vendido a garantia, deve desreconhecer sua obrigação de devolver a garantia;

(d) exceto conforme previsto na alínea (c), o cedente deve continuar a reconhecer a garantia como seu ativo e o cessionário não deve reconhecer a garantia como ativo.

3.3 Desreconhecimento de passivo financeiro

3.3.1 A entidade deve baixar o passivo financeiro (ou parte do passivo financeiro) de seu balanço patrimonial quando, e apenas quando, ele for extinto, ou seja, quando a obrigação especificada no contrato for liquidada, cancelada ou expirar.

3.3.2 A troca entre o mutuário e o credor de instrumentos de dívida com termos substancialmente diferentes deve ser contabilizada como extinção do passivo financeiro original e como reconhecimento de novo passivo financeiro. De forma similar, a modificação substancial dos termos do passivo financeiro existente ou parte dele (atribuível, ou não, à dificuldade financeira do devedor) deve ser contabilizada como extinção do passivo financeiro original e o reconhecimento de novo passivo financeiro.

3.3.3 A diferença entre o valor contábil do passivo financeiro (ou parte do passivo financeiro) extinto ou transferido à outra parte e a contraprestação paga, incluindo quaisquer ativos não monetários transferidos ou passivos assumidos, deve ser reconhecida no resultado.

3.3.4 Se a entidade recomprar parte do passivo financeiro, ela deve alocar o valor contábil anterior do passivo financeiro entre a parte que continua a ser reconhecida e a parte que é desreconhecida com base nos valores justos relativos dessas partes na data da recompra. A diferença entre (a) o valor contábil alocado à parte desreconhecida e (b) a contraprestação paga, incluindo quaisquer ativos não monetários transferidos ou passivos assumidos, pela parte desreconhecida, deve ser reconhecida no resultado.

CAPÍTULO 4

CLASSIFICAÇÃO

4.1 Classificação de ativo financeiro

4.1.1 A menos que o item 4.1.5 seja aplicável, a entidade deve classificar ativos financeiros como subsequentemente mensurados ao custo amortizado, ao valor justo por meio de outros resultados abrangentes ou ao valor justo por meio do resultado com base tanto:

(a) no modelo de negócios da entidade para a gestão dos ativos financeiros; quanto

(b) nas características de fluxo de caixa contratual do ativo financeiro.

4.1.2 O ativo financeiro deve ser mensurado ao custo amortizado se ambas as seguintes condições forem atendidas:

(a) o ativo financeiro for mantido dentro de modelo de negócios cujo objetivo seja manter ativos financeiros com o fim de receber fluxos de caixa contratuais; e

(b) os termos contratuais do ativo financeiro derem origem, em datas especificadas, a fluxos de caixa que constituam, exclusivamente, pagamentos de principal e juros sobre o valor do principal em aberto.

Os itens B4.1.1 a B4.1.26 fornecem orientação sobre como aplicar essas condições.

4.1.2 A O ativo financeiro deve ser mensurado ao valor justo por meio de outros resultados abrangentes se ambas as seguintes condições forem atendidas:

(a) o ativo financeiro for mantido dentro de modelo de negócios cujo objetivo seja atingido tanto pelo recebimento de fluxos de caixa contratuais quanto pela venda de ativos financeiros; e

(b) os termos contratuais do ativo financeiro derem origem, em datas especificadas, a fluxos de caixa que constituam exclusivamente pagamentos de principal e juros sobre o valor do principal em aberto.

Os itens B4.1.1 a B4.1.26 fornecem orientação sobre como aplicar essas condições.

4.1.3 Para a finalidade de aplicar os itens 4.1.2 (b) e 4.1.2A(b):

(a) principal é o valor justo do ativo financeiro no reconhecimento inicial. O item B4.1.7B fornece orientação adicional sobre o significado de principal;

(b) juros consistem de contraprestação pelo valor do dinheiro no tempo, pelo risco de crédito associado ao valor do principal em aberto durante período de tempo específico e por outros riscos e custos básicos de empréstimo, bem como a margem de lucro. Os itens B4.1.7A e B4.1.9A a B4.1.9E fornecem orientação adicional sobre o significado de juros, incluindo o significado do valor do dinheiro no tempo.

4.1.4 O ativo financeiro deve ser mensurado ao valor justo por meio do resultado, a menos que seja mensurado ao custo amortizado de acordo com o item 4.1.2 ou ao valor justo por meio de outros resultados abrangentes de acordo com o item 4.1.2A.

Entretanto, a entidade pode efetuar uma escolha irrevogável no reconhecimento inicial para investimentos específicos em instrumento patrimonial, que de outro modo seriam mensurados ao valor justo por meio do resultado, de apresentar alterações subsequentes no valor justo em outros resultados abrangentes (ver itens 5.7.5 e 5.7.6).

Opção de designar ativo financeiro como ao valor justo por meio do resultado

4.1.5 Não obstante os itens 4.1.1 a 4.1.4, a entidade pode, no reconhecimento inicial, designar de modo irrevogável o ativo financeiro como mensurado ao valor justo por meio do resultado se, ao fazê-lo, puder eliminar ou reduzir significativamente uma inconsistência de mensuração ou de reconhecimento (algumas vezes referida como "descasamento contábil") que, de outro modo, pode resultar da mensuração de ativos ou passivos ou do reconhecimento de ganhos e perdas nesses ativos e passivos em bases diferentes (ver itens B4.1.29 a B4.1.32).

4.2 Classificação de passivo financeiro

4.2.1 A entidade deve classificar todos os passivos financeiros como mensurados subsequentemente ao custo amortizado, exceto por:

(a) passivos financeiros ao valor justo por meio do resultado. Esses passivos, incluindo derivativos que sejam passivos, devem ser mensurados subsequentemente ao valor justo;

(b) passivos financeiros que surjam quando a transferência do ativo financeiro não se qualificar para desreconhecimento ou quando a abordagem do envolvimento contínuo for aplicável. Os itens 3.2.15 e 3.2.17 devem ser aplicados à mensuração desses passivos financeiros;

(c) contratos de garantia financeira. Após o reconhecimento inicial, o emitente desse contrato (exceto se o item 4.2.1 (a) ou (b) for aplicável) deve mensurá-lo subsequentemente pelo maior valor entre:

(i) o valor da provisão para perdas, determinado de acordo com a Seção 5.5;e

(ii) o valor inicialmente reconhecido (ver item 5.1.1) menos, se apropriado, o valor acumulado da receita reconhecido de acordo com os princípios do CPC 47;

(d) compromissos de conceder empréstimo com taxa de juros abaixo do mercado. O emitente desse compromisso (exceto se o item 4.2.1 (a) for aplicável) deve mensurá-lo subsequentemente pelo maior valor entre:

(i) o valor da provisão para perdas, determinado de acordo com a Seção 5.5; e

(ii) o valor inicialmente reconhecido (ver item 5.1.1) menos, se apropriado, o valor acumulado da receita reconhecido de acordo com os princípios do CPC 47;

(e) a contraprestação contingente reconhecida por adquirente em combinação de negócios à qual deve ser aplicado o CPC 15. Essa contraprestação contingente deve ser mensurada subsequentemente ao valor justo com as alterações reconhecidas no resultado.

Opção de designar passivo financeiro como ao valor justo por meio do resultado

4.2.2 A entidade pode, no reconhecimento inicial, designar de modo irrevogável o passivo financeiro como mensurado ao valor justo por meio do resultado se for permitido pelo item 4.3.5, ou quando, ao fazê-lo, isso resultar em informações mais pertinentes, porque:

(a) elimina ou reduz significativamente uma inconsistência de mensuração ou reconhecimento (algumas vezes denominada como "descasamento contábil") que ocorreria em virtude da mensuração de ativos ou passivos ou do reconhecimento de seus ganhos e perdas em bases diferentes (ver itens B4.1.29 a B4.1.32); ou

(b) um grupo de passivos financeiros ou ativos financeiros e passivos financeiros é administrado e seu desempenho é avaliado com base no valor justo, de acordo com uma estratégia documentada de gerenciamento de risco ou de investimento, e informações sobre o grupo são fornecidas internamente nessa base ao pessoal-chave da administração da entidade (como definido no CPC 05 - Divulgação sobre Partes Relacionadas), por exemplo, o conselho de administração e o presidente da entidade (ver itens B4.1.33 a B4.1.36).

4.3 Derivativo embutido

4.3.1 Derivativo embutido é um componente de contrato híbrido que inclui também um componente principal não derivativo, com o efeito de que parte dos fluxos de caixa do instrumento combinado varia de forma similar ao derivativo individual. O derivativo embutido faz com que a totalidade ou parte dos fluxos de caixa, que seria, de outro modo, exigido pelo contrato, seja modificada de acordo com determinada taxa de juros, preço de instrumento financeiro, preço de commodity, taxa de câmbio, índice de preços ou taxas, classificação ou índice de crédito ou outra variável, desde que, no caso de variável não financeira, essa variável não seja específica a uma das partes do contrato. O derivativo que esteja vinculado ao instrumento financeiro, mas que possa ser contratualmente transferido independentemente desse instrumento, ou que possua contraparte diferente, não é derivativo embutido, mas instrumento financeiro separado.

Contratos híbridos com contratos principais de ativos financeiros

4.3.2 Se o contrato híbrido contiver um componente principal que seja um ativo dentro do alcance deste pronunciamento, a entidade deve aplicar os requisitos dos itens 4.1.1 a 4.1.5 ao contrato híbrido como um todo.

Outros contratos híbridos

4.3.3 Se o contrato híbrido contiver um componente principal que não seja um ativo dentro do alcance deste pronunciamento, o derivativo embutido deve ser separado do componente principal e contabilizado como derivativo de acordo com este pronunciamento se, e somente se:

(a) as características e os riscos econômicos do derivativo embutido não estiverem estritamente relacionados às características e riscos econômicos do contrato principal (ver itens B4.3.5 e B4.3.8);

(b) o instrumento separado, com os mesmos termos que o derivativo embutido, atender à definição de derivativo; e

(c) o contrato híbrido não for mensurado ao valor justo, com as alterações no valor justo reconhecidas no resultado (ou seja, o derivativo que esteja embutido em passivo financeiro ao valor justo por meio do resultado não seja separado).

4.3.4 Se o derivativo embutido for separado, o contrato principal deve ser contabilizado de acordo com os pronunciamentos apropriados. Este pronunciamento não aborda se o derivativo embutido deve ser apresentado separadamente no balanço patrimonial.

4.3.5 Apesar dos itens 4.3.3 e 4.3.4, se o contrato contiver um ou mais derivativos embutidos e o componente principal não for um ativo dentro do alcance deste pronunciamento, a entidade pode designar todo o contrato híbrido como ao valor justo por meio do resultado, salvo se:

(a) o derivativo embutido não modificar significativamente os fluxos de caixa que de outra forma são exigidos pelo contrato; ou

(b) ficar claro com pouca ou nenhuma análise, quando um instrumento híbrido similar for considerado pela primeira vez, que é proibida a separação do derivativo embutido, como, por exemplo, a opção de pagamento antecipado embutida em empréstimo que permita que o titular pré-pague o empréstimo por aproximadamente seu custo amortizado.

4.3.6 Se a entidade for obrigada por este pronunciamento a separar o derivativo embutido de seu contrato principal, mas for incapaz de mensurar o derivativo embutido separadamente na aquisição ou no final de período subsequente da demonstração contábil, ela deve designar todo o contrato híbrido como ao valor justo por meio do resultado.

4.3.7 Se a entidade não puder mensurar de forma confiável o valor justo de derivativo embutido, com base em seus termos e condições, o valor justo do derivativo embutido será a diferença entre o valor justo do contrato híbrido e o valor justo do contrato principal. Se a entidade não puder mensurar o valor justo do derivativo embutido utilizando esse método, o item 4.3.6 deve ser aplicado e o contrato híbrido deve ser designado como ao valor justo por meio do resultado.

4.4 Reclassificação

4.4.1 Quando, e somente quando, a entidade mudar seu modelo de negócios para a gestão de ativos financeiros, deve reclassificar todos os ativos financeiros afetados de acordo com os itens 4.1.1 a 4.1.4. Ver itens 5.6.1 a 5.6.7, B4.4.1 a B4.4.3, B5.6.1 e B5.6.2 para orientação adicional sobre reclassificação de ativos financeiros.

4.4.2 A entidade não deve reclassificar qualquer passivo financeiro.

4.4.3 As seguintes alterações nas circunstâncias não constituem reclassificações para as finalidades dos itens 4.4.1 e 4.4.2:

(a) o item que era anteriormente instrumento de hedge designado e efetivo no hedge de fluxo de caixa ou hedge de investimento líquido não mais se qualifica como tal;

(b) o item se torna instrumento de hedge designado e efetivo no hedge de fluxo de caixa ou hedge de investimento líquido; e

(c) alterações na mensuração de acordo com a Seção 6.7.

CAPÍTULO 5

MENSURAÇÃO

5.1 Mensuração inicial

5.1.1 Exceto por contas a receber dentro do alcance do item 5.1.3, no reconhecimento inicial, a entidade deve mensurar o ativo financeiro ou o passivo financeiro ao seu valor justo, mais ou menos, no caso de ativo financeiro ou passivo financeiro que não seja ao valor justo por meio do resultado, os custos de transação que sejam diretamente atribuíveis à aquisição ou à emissão do ativo financeiro ou passivo financeiro.

5.1.1A Contudo, se o valor justo do ativo financeiro ou passivo financeiro no reconhecimento inicial diferir do preço da transação, a entidade deve aplicar o item B5.1.2A.

5.1.2 Quando a entidade utilizar a data de liquidação para contabilização do ativo que seja subsequentemente mensurado ao custo amortizado, o ativo deve ser reconhecido inicialmente ao seu valor justo na data de negociação (ver itens B3.1.3 a B3.1.6).

5.1.3 Apesar do requisito no item 5.1.1, no reconhecimento inicial, a entidade deve mensurar contas a receber de clientes ao seu preço de transação (conforme definido no CPC 47), se as contas a receber de clientes não contiverem componente de financiamento significativo de acordo com o CPC 47 (ou quanto a entidade aplicar o expediente prático de acordo com o item 63 do CPC 47).

5.2 Mensuração subsequente de ativo financeiro

5.2.1 Após o reconhecimento inicial, a entidade deve mensurar o ativo financeiro de acordo com os itens 4.1.1 a 4.1.5:

(a) ao custo amortizado;

(b) ao valor justo por meio de outros resultados abrangentes; ou

(c) ao valor justo por meio do resultado.

5.2.2 A entidade deve aplicar os requisitos de redução ao valor recuperável na Seção 5.5 a ativos financeiros mensurados ao custo amortizado de acordo com o item 4.1.2 e a ativos financeiros mensurados ao valor justo por meio de outros resultados abrangentes de acordo com o item 4.1.2A.

5.2.3 A entidade deve aplicar os requisitos de contabilização de hedge dos itens 6.5.8 a 6.5.14 (e, se aplicável, os itens 89 a 94 do CPC 38 - Instrumentos Financeiros: Reconhecimento e Mensuração para a contabilização de cobertura de valor justo para uma cobertura de carteira de risco de taxa de juros) ao ativo financeiro que seja designado como item protegido.

5.3 Mensuração subsequente de passivo financeiro

5.3.1 Após o reconhecimento inicial, a entidade deve mensurar o passivo financeiro de acordo com os itens 4.2.1 e 4.2.2.

5.3.2 A entidade deve aplicar os requisitos de contabilização de hedge dos itens 6.5.8 a 6.5.14 (e, se aplicável, os itens 89 a 94 do CPC 38 para a contabilização de cobertura de valor justo para uma cobertura de carteira de risco de taxa de juros) ao passivo financeiro que seja designado como item protegido.

5.4 Mensuração ao custo amortizado

Ativo financeiro

Método de juros efetivos

5.4.1 A receita de juros deve ser calculada, utilizando-se o método de juros efetivos (ver Apêndice A e itens B5.4.1 a B5.4.7). Isso deve ser calculado aplicando-se a taxa de juros efetiva ao valor contábil bruto do ativo financeiro, exceto por:(a) ativos financeiros comprados ou concedidos com problemas de recuperação de crédito. Para esses ativos financeiros, a entidade deve aplicar a taxa de juros efetiva ajustada ao crédito ao custo amortizado do ativo financeiro desde o reconhecimento inicial;(b) ativos financeiros que não são comprados ou concedidos com problemas de recuperação de crédito, mas que, posteriormente, se tornaram ativos financeiros com problemas de recuperação de crédito. Para esses ativos financeiros, a entidade deve aplicar a taxa de juros efetiva ao custo amortizado do ativo financeiro em períodos de relatório contábil subsequentes.

5.4.2 A entidade que, no período de relatório contábil, calcular a receita de juros aplicando o método de juros efetivos ao custo amortizado de ativo financeiro de acordo com o item 5.4.1 (b) deve calcular, em períodos de relatório subsequentes, a receita de juros aplicando a taxa de juros efetiva ao valor contábil bruto se o risco de crédito do instrumento financeiro melhorar de modo que o ativo financeiro não apresente mais problemas de recuperação de crédito e a melhoria possa estar objetivamente relacionada a evento que ocorra depois que os requisitos do item 5.4.1 (b) foram aplicados (tais como, melhora na classificação de crédito do mutuário).

Modificação de fluxo de caixa contratual

5.4.3 Quando os fluxos de caixa contratuais de ativo financeiro forem renegociados ou de outro modo modificados e a renegociação ou modificação não resulta no desreconhecimento desse ativo financeiro de acordo com este pronunciamento, a entidade deve recalcular o valor contábil bruto do ativo financeiro e reconhecer o ganho ou a perda na modificação no resultado. O valor contábil bruto do ativo financeiro deve ser recalculado como o valor presente dos fluxos de caixa contratuais renegociados ou modificados que são descontados pela taxa de juros efetiva original do ativo financeiro (ou taxa de juros efetiva ajustada ao crédito para ativos financeiros comprados ou concedidos com problemas de recuperação de crédito) ou, quando aplicável, pela taxa de juros efetiva revisada calculada de acordo com o item 6.5.10. Quaisquer custos ou taxas incorridos devem ajustar o valor contábil do ativo financeiro modificado e devem ser amortizados ao longo do prazo restante do ativo financeiro modificado.

Baixa

5.4.4 A entidade deve reduzir diretamente o valor contábil bruto de ativo financeiro quando a entidade não tiver expectativas razoáveis de recuperar o ativo financeiro em sua totalidade ou parte dele. A baixa constitui evento de desreconhecimento dos registros contábeis (ver item B3.2.16 (r)).

Mudanças na base para determinar os fluxos de caixa contratuais como resultado da Reforma da Taxa de Juros de Referência

5.4.5. A entidade deve aplicar os itens 5.4.6 a 5.4.9 a um ativo financeiro ou passivo financeiro se, e somente se, a base para determinar os fluxos de caixa contratuais do ativo financeiro ou passivo financeiro muda como resultado da reforma da taxa de juros de referência. Para este efeito, o termo "Reforma da Taxa de Juros de Referência" referese à reforma em todo o mercado de uma taxa de juros de referência como descrito no item 6.8.2.

5.4.6. A base para determinar os fluxos de caixa contratuais de um ativo financeiro ou passivo financeiro pode mudar:

(a) alterando os termos contratuais especificados no reconhecimento inicial do instrumento financeiro (por exemplo, os termos contratuais são alterados para substituir a referência de taxa de juros por uma taxa de referência alternativa);

(b) de uma forma que não foi considerada por (ou contemplada em) termos contratuais no reconhecimento inicial do instrumento financeiro, sem alterar os termos contratuais (por exemplo, o método para cálculo da taxa de juros de referência é alterado sem alterar os termos contratuais); ou

(c) por causa do acionamento de um termo contratual existente (por exemplo, uma cláusula de salvaguarda (fallback) existente é acionada).

5.4.7. Como um expediente prático, a entidade deve aplicar o item B5.4.5 para contabilizar uma mudança na base para determinar os fluxos de caixa contratuais de um ativo ou passivo financeiro que é exigido pela Reforma da Taxa de Juros de Referência. Este expediente prático se aplica apenas a tais mudanças e apenas na medida em que a mudança é exigida pela Reforma da Taxa de Juros de Referência (ver também item 5.4.9). Para tanto, uma mudança na base de determinação dos fluxos de caixa contratuais é exigida pela Reforma da Taxa de Juros de Referência se, e somente se, ambas as condições forem atendidas:

(a) a mudança é necessária como consequência direta da reforma da taxa de juros de referência; e

(b) a nova base para determinar os fluxos de caixa contratuais é economicamente equivalente à base anterior (ou seja, a base imediatamente antes da mudança).

5.4.8. Exemplos de mudanças que dão origem a uma nova base para determinar fluxos de caixa contratuais que são economicamente equivalentes à base anterior (ou seja, a base imediatamente anterior à mudança) são:

(a) a substituição de um referencial de taxa de juros existente usado para determinar os fluxos de caixa contratuais de um ativo financeiro ou passivo financeiro com uma taxa de referência alternativa - ou a implementação de tal reforma da taxa de juros de referência, alterando o método usado para calcular o referencial da taxa de juros - com a adição de um spread fixo necessário para compensar a diferença de base entre a referência de taxa de juros existente e a referência alternativa taxa;

(b) mudanças no período de redefinição (reset), datas de redefinição (reset) ou o número de dias entre datas de pagamento de cupom, a fim de implementar a reforma da taxa de juros de referência; e

(c) a adição de uma cláusula de contingência aos termos contratuais de um ativo financeiro ou passivo financeiro para permitir qualquer mudança descrita em (a) e (b) acima a serem implementadas.

5.4.9. Se forem feitas alterações em um ativo financeiro ou passivo financeiro, além de mudanças na base para determinar os fluxos de caixa contratuais exigidos pela reforma da taxa de juros de referência, a entidade deve primeiro aplicar o expediente prático do item 5.4.7 para as mudanças exigidas pela reforma da taxa de juros de referência. A entidade deve então aplicar os requisitos aplicáveis neste Pronunciamento para quaisquer alterações adicionais às quais o expediente prático não se aplica. Se a mudança adicional não resultar no desreconhecimento do ativo financeiro ou passivo financeiro, a entidade deve aplicar o item 5.4.3 ou item B5.4.6, conforme aplicável, para contabilizar essa alteração adicional. Se a mudança adicional resulta no desreconhecimento do ativo financeiro ou passivo financeiro, a entidade deve aplicar os requisitos de desreconhecimento.

5.5 Redução ao valor recuperável

Reconhecimento de perda de crédito esperada

Abordagem geral

5.5.1 A entidade deve reconhecer uma provisão para perdas de crédito esperadas em ativo financeiro mensurado de acordo com os itens 4.1.2 ou 4.1.2A, em recebível de arrendamento, em ativo contratual ou em compromisso de empréstimo e em contrato de garantia financeira aos quais devem ser aplicados os requisitos de redução ao valor recuperável de acordo com os itens 2.1 (g), 4.2.1 (c) ou 4.2.1 (d).

5.5.2 A entidade deve aplicar os requisitos de redução ao valor recuperável para o reconhecimento e mensuração de provisão para perdas de ativos financeiros que são mensurados ao valor justo por meio de outros resultados abrangentes, de acordo com o item 4.1.2A. Entretanto, a provisão para perdas deve ser reconhecida em outros resultados abrangentes e não deve reduzir o valor contábil do ativo financeiro no balanço patrimonial.

5.5.3 Sujeito aos itens 5.5.13 a 5.5.16, em cada data do balanço, a entidade deve mensurar a provisão para perdas de instrumento financeiro ao valor equivalente às perdas de crédito esperadas se o risco de crédito desse instrumento financeiro tiver aumentado significativamente desde o reconhecimento inicial.

5.5.4 O objetivo dos requisitos de redução ao valor recuperável é reconhecer perdas de crédito esperadas para todos os instrumentos financeiros para os quais houve aumentos significativos no risco de crédito desde o reconhecimento inicial, avaliados de forma individual ou coletiva, considerando todas as informações razoáveis e sustentáveis, incluindo informações prospectivas.

5.5.5 Sujeito aos itens 5.5.13 a 5.5.16, se, na data do balanço, o risco de crédito de instrumento financeiro não tiver aumentado, significativamente, desde o reconhecimento inicial, a entidade deve mensurar a provisão para perdas para esse instrumento financeiro ao valor equivalente às perdas de crédito esperadas para 12 meses.

5.5.6 Para compromissos de empréstimo e contratos de garantia financeira, a data em que a entidade se tornar parte do compromisso irrevogável deve ser considerada como sendo a data de reconhecimento inicial para fins de aplicação dos requisitos de redução ao valor recuperável.

5.5.7 Se a entidade tiver mensurado a provisão para perdas para instrumento financeiro ao valor equivalente às perdas de crédito esperadas no período do relatório contábil anterior, mas determinar no período do relatório atual que o item 5.5.3 não é mais atendido, a entidade deve mensurar a provisão para perdas ao valor equivalente às perdas de crédito esperadas para 12 meses na data de relatório atual.

5.5.8 A entidade deve reconhecer no resultado, como ganho ou perda na redução ao valor recuperável, o valor das perdas de crédito esperadas (ou reversão) requerido para ajustar a provisão para perdas na data de relatório ao valor que deve ser reconhecido, de acordo com este pronunciamento.

Determinação de aumento significativo no risco de crédito

5.5.9 Em cada data do balanço, a entidade deve avaliar se o risco de crédito de instrumento financeiro aumentou significativamente desde o reconhecimento inicial. Ao fazer essa avaliação, a entidade deve utilizar a alteração no risco de inadimplência que ocorre ao longo da vida esperada do instrumento financeiro, e não a alteração no valor de perdas de crédito esperadas. Para fazer essa avaliação, a entidade deve comparar o risco de inadimplência que ocorre no instrumento financeiro na data do balanço com o risco de inadimplência que ocorre no instrumento financeiro na data de reconhecimento inicial e deve considerar informações razoáveis e sustentáveis, disponíveis sem custo ou esforço excessivos, que sejam um indicativo de aumentos significativos no risco de crédito desde o reconhecimento inicial.

5.5.10 A entidade pode presumir que o risco de crédito de instrumento financeiro não aumentou significativamente desde o reconhecimento inicial se for determinado que o instrumento financeiro possui baixo risco de crédito na data do balanço (ver itens B5.5.22 a B5.5.24).

5.5.11 Se informações prospectivas razoáveis e sustentáveis estiverem disponíveis sem custo ou esforço excessivos, a entidade não pode se basear exclusivamente em informações sobre pagamentos vencidos ao determinar se o risco de crédito aumentou significativamente desde o reconhecimento inicial. Entretanto, quando as informações que são mais prospectivas do que sobre pagamentos vencidos (de forma individual ou coletiva) não estiverem disponíveis sem custo ou esforço excessivos, a entidade pode utilizar informações sobre pagamentos vencidos para determinar se houve aumentos significativos no risco de crédito desde o reconhecimento inicial.

Independentemente da forma como a entidade avalia aumentos significativos no risco de crédito, existe uma presunção refutável de que o risco de crédito de ativo financeiro aumentou significativamente desde o reconhecimento inicial quando os pagamentos contratuais estiverem vencidos há mais de 30 dias. A entidade pode refutar essa presunção se tiver informações razoáveis e sustentáveis disponíveis, sem custo ou esforço excessivos, que demonstrem que o risco de crédito não aumentou significativamente desde o reconhecimento inicial, mesmo se os pagamentos contratuais estiverem vencidos há mais de 30 dias. Quando a entidade determinar que houve aumentos significativos no risco de crédito antes que os pagamentos contratuais estejam vencidos há mais de 30 dias, a presunção refutável não deve ser aplicada.

Ativo financeiro modificado

5.5.12 Se os fluxos de caixa contratuais de ativo financeiro foram negociados ou modificados e o ativo financeiro não foi desreconhecido, a entidade deve avaliar se houve aumento significativo no risco de crédito do instrumento financeiro, de acordo com o item 5.5.3, comparando-se:

(a) o risco de inadimplência que ocorre na data do balanço (com base nos termos contratuais modificados); e

(b) o risco de inadimplência que ocorre no reconhecimento inicial (com base nos termos contratuais originais e não modificados).

Ativos financeiros comprados ou concedidos com problemas de recuperação de crédito

5.5.13 Não obstante os itens 5.5.3 e 5.5.5, na data do balanço, a entidade somente deve reconhecer as alterações cumulativas nas perdas de crédito esperadas desde o reconhecimento inicial como provisão para perdas para ativos financeiros comprados ou concedidos com problemas de recuperação de crédito.

5.5.14 Em cada data de balanço, a entidade deve reconhecer no resultado o valor da alteração nas perdas de crédito esperadas como ganho ou perda na redução ao valor recuperável. A entidade deve reconhecer alterações favoráveis nas perdas de crédito esperadas como ganho na redução ao valor recuperável, mesmo se as perdas de crédito esperadas forem inferiores ao valor das perdas de crédito esperadas incluídas nos fluxos de caixa estimados no reconhecimento inicial.

Abordagem simplificada para contas a receber de clientes, ativos contratuais e recebíveis de arrendamento

5.5.15 Não obstante os itens 5.5.3 e 5.5.5, a entidade deve sempre mensurar a provisão para perdas por valor equivalente às perdas de crédito esperadas para:

(a) contas a receber de clientes ou ativos contratuais que resultam de transações dentro do alcance do CPC 47, e que:

(i) não contêm componente de financiamento significativo de acordo com o CPC 47 (ou quando a entidade aplicar o expediente prático de acordo com o item 63 do CPC 47); ou

(ii) contêm componente de financiamento significativo de acordo com o CPC 47, se a entidade escolher, como sua política contábil, mensurar a provisão para perdas por valor equivalente às perdas de crédito esperadas. Essa política contábil deve ser aplicada a todas essas contas a receber de clientes ou ativos contratuais, mas pode ser aplicada separadamente a contas a receber de clientes e a ativos contratuais;

(b) recebíveis de arrendamento que resultam de transações dentro do alcance do CPC 06, se a entidade escolher, como sua política contábil, mensurar a provisão para perdas por valor equivalente às perdas de crédito esperadas. Essa política contábil deve ser aplicada a todos os recebíveis de arrendamento, mas pode ser aplicada separadamente a recebíveis de arrendamento operacional e financeiro.

5.5.16 A entidade pode escolher sua política contábil para contas a receber de clientes, recebíveis de arrendamento e ativos contratuais independentemente uma da outra.

Mensuração de perda de crédito esperada

5.5.17 A entidade deve mensurar as perdas de crédito esperadas de instrumento financeiro de modo que reflita:

(a) o valor imparcial e ponderado pela probabilidade que seja determinado ao avaliar um intervalo de resultados possíveis;

(b) o valor do dinheiro no tempo; e

(c) informações razoáveis e sustentáveis disponíveis, sem custo ou esforço excessivos, na data do balanço sobre eventos passados, condições atuais e previsões de condições econômicas futuras.

5.5.18 Ao mensurar as perdas de crédito esperadas, a entidade não precisa, necessariamente, identificar cada cenário possível. Entretanto, ela deve considerar o risco ou a probabilidade de que ocorra uma perda de crédito ao refletir sobre a possibilidade de que essa perda ocorra e sobre a possibilidade de que não ocorra, mesmo se a possibilidade de ocorrência de perda de crédito for muito baixa.

5.5.19 O período máximo a ser considerado ao mensurar perdas de crédito esperadas é o período contratual máximo (incluindo as opções de prorrogação) sobre o qual a entidade está exposta ao risco de crédito e, não, a um período mais longo, mesmo se esse período mais longo estiver consistente com a prática comercial.

5.5.20 Entretanto, alguns instrumentos financeiros incluem tanto um empréstimo quanto um componente de compromisso não utilizado, e a capacidade contratual da entidade de exigir reembolso e cancelar o compromisso não utilizado não limita a exposição da entidade a perdas de crédito para o período de notificação contratual. Para esses instrumentos financeiros, e somente esses, a entidade deve mensurar as perdas de crédito esperadas ao longo do período durante o qual a entidade estiver exposta ao risco de crédito e as perdas de crédito esperadas não forem mitigadas por ações de gerenciamento de risco de crédito, mesmo se esse período estender-se além do período contratual máximo.

5.6 Reclassificação de ativo financeiro

5.6.1 Se a entidade reclassificar ativos financeiros, de acordo com o item 4.4.1, ela deve aplicar a reclassificação, prospectivamente, a partir da data da reclassificação. A entidade não deve reapresentar nenhum ganho, perda (incluindo ganho ou perda por redução ao valor recuperável) ou juro reconhecido anteriormente. Os itens 5.6.2 a 5.6.7 estabelecem os requisitos para reclassificações.

5.6.2 Se a entidade reclassificar um ativo financeiro da categoria de mensuração ao custo amortizado para a categoria de mensuração ao valor justo por meio do resultado, seu valor justo deve ser mensurado na data da reclassificação. Qualquer ganho ou perda decorrente da diferença entre o custo amortizado anterior do ativo financeiro e o valor justo deve ser reconhecido no resultado.

5.6.3 Se a entidade reclassificar o ativo financeiro da categoria de mensuração ao valor justo por meio do resultado para a categoria de mensuração ao custo amortizado, seu valor justo na data da reclassificação tornar-se-á seu novo valor contábil bruto (ver item B5.6.2 para orientação sobre a determinação da taxa de juros efetiva e uma provisão para perdas na data da reclassificação).

5.6.4 Se a entidade reclassificar o ativo financeiro da categoria de mensuração ao custo amortizado para a categoria de mensuração ao valor justo por meio de outros resultados abrangentes, seu valor justo deve ser mensurado na data da reclassificação. Qualquer ganho ou perda decorrente da diferença entre o custo amortizado anterior do ativo financeiro e o valor justo deve ser reconhecido em outros resultados abrangentes. A taxa de juros efetiva e a mensuração de perdas de crédito esperadas não devem ser ajustadas em decorrência da reclassificação (ver item B5.6.1).

5.6.5 Se a entidade reclassificar o ativo financeiro da categoria de mensuração ao valor justo por meio de outros resultados abrangentes para a categoria de mensuração ao custo amortizado, o ativo financeiro deve ser reclassificado ao seu valor justo na data da reclassificação. Entretanto, o ganho ou a perda acumulada anteriormente reconhecida em outros resultados abrangentes deve ser transferido do patrimônio líquido e ajustado contra o valor justo do ativo financeiro na data da reclassificação. Como resultado, o ativo financeiro deve ser mensurado na data da reclassificação como se tivesse sempre sido mensurado ao custo amortizado. Esse ajuste afetará outros resultados abrangentes, mas não afetará o resultado e, portanto, não deve ser ajuste de reclassificação (ver CPC 26 - Apresentação das Demonstrações Contábeis). A taxa de juros efetiva e a mensuração de perdas de crédito esperadas não devem ser ajustadas como resultado da reclassificação (ver item B5.6.1).

5.6.6 Se a entidade reclassificar o ativo financeiro da categoria de mensuração ao valor justo por meio do resultado para a categoria de mensuração ao valor justo por meio de outros resultados abrangentes, o ativo financeiro deve continuar a ser mensurado ao valor justo (ver item B5.6.2 para orientação sobre a determinação da taxa de juros efetiva e a provisão para perdas na data da reclassificação).

5.6.7 Se a entidade reclassificar o ativo financeiro da categoria de mensuração ao valor justo, por meio de outros resultados abrangentes para a categoria de mensuração ao valor justo por meio do resultado o ativo financeiro deve continuar a ser mensurado ao valor justo. O ganho ou a perda acumulada, anteriormente reconhecido em outros resultados abrangentes, deve ser reclassificado do patrimônio líquido para o resultado como ajuste de reclassificação (ver CPC 26), na data da reclassificação.

5.7 Ganhos e perdas

5.7.1 O ganho ou a perda em ativo financeiro ou passivo financeiro que é mensurado ao valor justo deve ser reconhecido no resultado, exceto se:

(a) for parte de relação de proteção (ver itens 6.5.8 a 6.5.14 e, se aplicável, itens 89 a 94 do CPC 38 para a contabilização de cobertura de valor justo para uma cobertura de carteira de risco de taxa de juros);

(b) for investimento em instrumento patrimonial e a entidade tiver escolhido apresentar ganhos e perdas nesse investimento em outros resultados abrangentes, de acordo com o item 5.7.5;

(c) for passivo financeiro designado como ao valor justo, por meio do resultado, e a entidade é requerida a apresentar os efeitos das alterações no risco de crédito do passivo em outros resultados abrangentes, de acordo com o item 5.7.7; ou

(d) for ativo financeiro mensurado ao valor justo por meio de outros resultados abrangentes, de acordo com o item 4.1.2A, e a entidade for obrigada a reconhecer algumas alterações no valor justo em outros resultados abrangentes, de acordo com o item 5.7.10.

5.7.1 A Dividendos devem ser reconhecidos no resultado somente quando:

(a) o direito da entidade de receber pagamento do dividendo for estabelecido;

(b) for provável que os benefícios econômicos associados ao dividendo fluirão para a entidade; e

(c) o valor do dividendo puder ser mensurado de forma confiável.

5.7.2 O ganho ou a perda em ativo financeiro, que seja mensurado ao custo amortizado e que não faça parte de relação de proteção (ver itens 6.5.8 a 6.5.14 e, se aplicável, itens 89 a 94 do CPC 38 para a contabilização de cobertura de valor justo para uma cobertura de carteira de risco de taxa de juros), deve ser reconhecido no resultado quando o ativo financeiro for desreconhecido, reclassificado de acordo com o item 5.6.2, por meio do processo de amortização ou para reconhecer ganhos ou perdas por redução ao valor recuperável. A entidade deve aplicar os itens 5.6.2 e 5.6.4 se reclassificar ativos financeiros da categoria de mensuração ao custo amortizado. O ganho ou a perda em ativo financeiro, que seja mensurado ao custo amortizado e que não faça parte de relação de proteção (ver itens 6.5.8 a 6.5.14 e, se aplicável, itens 89 a 94 do CPC 38 para a contabilização de cobertura de valor justo para uma cobertura de carteira de risco de taxa de juros), deve ser reconhecido no resultado quando o passivo financeiro for desreconhecido e por meio do processo de amortização (ver item B5.7.2 para orientação sobre ganhos ou perdas cambiais).

5.7.3 O ganho ou a perda em ativos financeiros ou passivos financeiros, que forem itens protegidos, deve ser reconhecido de acordo com os itens 6.5.8 a 6.5.14 e, se aplicável, itens 89 a 94 do CPC 38 para a contabilização de cobertura de valor justo para uma cobertura de carteira de risco de taxa de juros.

5.7.4 Se a entidade reconhecer ativos financeiros, utilizando a data de liquidação para contabilização (ver itens 3.1.2, B3.1.3 e B3.1.6), qualquer alteração no valor justo do ativo a ser recebido durante o período entre a data de negociação e a data de liquidação não deve ser reconhecida para ativos mensurados ao custo amortizado. Para ativos mensurados ao valor justo, entretanto, a alteração no valor justo deve ser reconhecida no resultado ou em outros resultados abrangentes, conforme apropriado, de acordo com o item 5.7.1. A data de negociação deve ser considerada a data de reconhecimento inicial para as finalidades de aplicar os requisitos de redução ao valor recuperável.

Investimento em instrumento patrimonial

5.7.5 No reconhecimento inicial, a entidade pode efetuar uma escolha irrevogável de apresentar, em outros resultados abrangentes, alterações subsequentes no valor justo de investimento em instrumento patrimonial dentro do alcance deste pronunciamento, que não seja mantido para negociação, nem seja contraprestação contingente reconhecida por adquirente em combinação de negócios à qual deve ser aplicado o CPC 15 (ver item B5.7.3 para orientação sobre ganhos ou perdas cambiais).

5.7.6 Se a entidade efetuar a escolha do item 5.7.5, ela deve reconhecer, no resultado, dividendos desse investimento, de acordo com o item 5.7.1A.

Passivo designado como ao valor justo por meio do resultado

5.7.7 A entidade deve apresentar o ganho ou a perda em passivo financeiro designado como ao valor justo por meio do resultado de acordo com o item 4.2.2 ou o item 4.3.5, conforme abaixo especificado:

(a) o valor da alteração no valor justo do passivo financeiro que é atribuível a alterações no risco de crédito desse passivo deve ser apresentado em outros resultados abrangentes (ver itens B5.7.13 a B5.7.20); e

(b) o valor remanescente da alteração no valor justo do passivo deve ser apresentado no resultado,

salvo se o tratamento dos efeitos das alterações no risco de crédito do passivo descrito na alínea (a) criar ou aumentar o descasamento contábil no resultado (sendo que, nesse caso, se aplica o item 5.7.8). Os itens B5.7.5 a B5.7.7 e B5.7.10 a B5.7.12 fornecem orientação sobre como determinar se o descasamento contábil é criado ou aumentado.

5.7.8 Se os requisitos do item 5.7.7 criarem ou aumentarem o descasamento contábil no resultado, a entidade deve apresentar todos os ganhos ou as perdas nesse passivo (incluindo os efeitos das alterações no risco de crédito desse passivo) no resultado.

5.7.9 Apesar dos requisitos dos itens 5.7.7 e 5.7.8, a entidade deve apresentar no resultado todos os ganhos e as perdas em compromissos de empréstimo e contratos de garantia financeira que sejam designados como ao valor justo por meio do resultado.

Ativo mensurado ao valor justo por meio de outros resultados abrangentes

5.7.10 O ganho ou a perda em ativo financeiro mensurado ao valor justo por meio de outros resultados abrangentes, de acordo com o item 4.1.2A, deve ser reconhecido em outros resultados abrangentes, exceto ganhos ou perdas por redução ao valor recuperável (ver Seção 5.5) e ganhos e perdas de câmbio (ver itens B5.7.2 e B5.7.2A), até que o ativo financeiro seja desreconhecido ou reclassificado. Quando o ativo financeiro for desreconhecido, o ganho ou a perda acumulado, anteriormente reconhecido em outros resultados abrangentes, deve ser reclassificado do patrimônio líquido para o resultado como ajuste de reclassificação (ver CPC 26). Se o ativo financeiro for reclassificado da categoria de mensuração ao valor justo por meio de outros resultados abrangentes, a entidade deve contabilizar o ganho ou a perda acumulado, reconhecido anteriormente em outros resultados abrangentes, de acordo com os itens 5.6.5 e 5.6.7. Os juros calculados utilizando o método de juros efetivos devem ser reconhecidos no resultado.

5.7.11 Conforme descrito no item 5.7.10, se o ativo financeiro for mensurado ao valor justo por meio de outros resultados abrangentes, de acordo com o item 4.1.2A, os valores reconhecidos no resultado devem ser os mesmos valores que teriam sido reconhecidos no resultado se o ativo financeiro tivesse sido mensurado ao custo amortizado.

CAPÍTULO 6

CONTABILIZAÇÃO DE HEDGE

6.1 Objetivo e alcance da contabilização de hedge

6.1.1 O objetivo da contabilização de hedge é representar, nas demonstrações contábeis, o efeito das atividades de gerenciamento de risco da entidade que utiliza instrumentos financeiros para gerenciar exposições resultantes de riscos específicos que poderiam afetar o resultado (ou outros resultados abrangentes, no caso de investimentos em instrumento patrimonial para os quais a entidade escolheu apresentar alterações no valor justo em outros resultados abrangentes, de acordo com o item 5.7.5). Essa abordagem destina-se a transmitir o contexto de instrumentos de hedge para os quais deve ser aplicada a contabilização de hedge para permitir a compreensão de seus fins e efeitos.

6.1.2 A entidade pode escolher designar a relação de proteção entre o instrumento de hedge e o item protegido, de acordo com os itens 6.2.1 a 6.3.7 e B6.2.1 a B6.3.25. Para relação de proteção que atender aos critérios de qualificação, a entidade deve contabilizar o ganho ou a perda no instrumento de hedge e o item protegido, de acordo com os itens 6.5.1 a 6.5.14 e B6.5.1 a B6.5.28. Quando o item protegido for grupo de itens, a entidade deve cumprir os requisitos adicionais dos itens 6.6.1 a 6.6.6 e B6.6.1 a B6.6.16.

6.1.3 Para hedge de valor justo da exposição à taxa de juros de carteira de ativos financeiros ou passivos financeiros (e somente para tal hedge), a entidade pode aplicar os requisitos de contabilização de hedge do CPC 38 (IAS 39) em vez daqueles neste pronunciamento. Nesse caso, a entidade também deve aplicar os requisitos específicos para a contabilização de hedge de valor justo para hedge de carteira de risco de taxa de juros e designar uma parte que seja um valor monetário como item protegido (ver itens 81A, 89A e AG114 a AG132 do CPC 38 (IAS 39)).

6.2 Instrumento de hedge

Instrumento que se qualifica

6.2.1 Derivativo mensurado ao valor justo por meio do resultado pode ser designado como instrumento de hedge, com exceção de algumas opções lançadas (ver item B6.2.4).

6.2.2 Ativo financeiro não derivativo ou passivo financeiro não derivativo mensurado ao valor justo por meio do resultado pode ser designado como instrumento de hedge, salvo se for passivo financeiro designado como ao valor justo por meio do resultado, para o qual o valor de sua alteração no valor justo atribuível a alterações no risco de crédito desse passivo seja apresentado em outros resultados abrangentes, de acordo com o item 5.7.7. Para hedge de risco de moeda estrangeira, o componente de risco de moeda estrangeira de ativo financeiro não derivativo ou passivo financeiro não derivativo pode ser designado como instrumento de hedge, desde que não seja investimento em instrumento patrimonial para o qual a entidade escolheu apresentar alterações no valor justo em outros resultados abrangentes, de acordo com o item 5.7.5.

6.2.3 Para fins de contabilização de hedge, apenas contratos com a parte externa à entidade que reporta (ou seja, externa ao grupo ou entidade individual sobre a qual estejam sendo fornecidas informações) podem ser designados como instrumentos de hedge.

Designação de instrumento de hedge

6.2.4 Instrumento que se qualifica deve ser designado em sua totalidade como instrumento de hedge. As únicas exceções permitidas são:

(a) a separação do valor intrínseco e do valor de contrato de opção no tempo e a designação como instrumento de hedge apenas da alteração no valor intrínseco da opção e, não, a alteração em seu valor no tempo (ver itens 6.5.15 e B6.5.29 a B6.5.33);

(b) separar o elemento a termo e o elemento à vista do contrato a termo e designar como instrumento de hedge somente a alteração no valor do elemento à vista do contrato a termo e, não, o elemento a termo; de forma similar, o spread com base em moeda estrangeira pode ser separado e excluído da designação do instrumento financeiro como instrumento de hedge (ver itens 6.5.16 e B6.5.34 a B6.5.39); e

(c) uma proporção de todo o instrumento de hedge, como, por exemplo, 50% do valor nominal, pode ser designada como instrumento de hedge em relação de proteção. Entretanto, o instrumento de hedge pode não ser designado para parte de sua alteração no valor justo que resultar apenas de parte do período de tempo durante o qual o instrumento de hedge permanecer pendente.

6.2.5 A entidade pode visualizar em combinação, e designar conjuntamente como instrumento de hedge qualquer combinação dos seguintes itens (incluindo aquelas circunstâncias em que o risco ou riscos decorrentes de alguns instrumentos de hedge compensam aqueles decorrentes de outros):

(a) derivativos ou uma proporção deles; e

(b) não derivativos ou uma proporção deles.

6.2.6 Contudo, o instrumento derivativo que combinar uma opção lançada e uma opção comprada (por exemplo, colar de taxa de juros) não se qualifica como instrumento de hedge se for, de fato, uma opção lançada líquida na data de designação (salvo se qualificar-se de acordo com o item B6.2.4). De forma similar, dois ou mais instrumentos (ou proporções deles) podem ser conjuntamente designados como instrumento de hedge somente se, em combinação, eles não forem, de fato, uma opção lançada líquida na designação (salvo se qualificar-se de acordo com o item B6.2.4).

6.3 Item protegido (hedged)

Item que se qualifica

6.3.1 Item protegido pode ser um ativo ou um passivo reconhecido, um compromisso firme não reconhecido, uma transação prevista ou um investimento líquido em operação no exterior. O item protegido pode ser:

(a) um único item; ou

(b) grupo de itens (sujeito aos itens 6.6.1 a 6.6.6 e B6.6.1 a B6.6.16).

O item protegido também pode ser um componente desse item ou grupo de itens (ver itens 6.3.7 e B6.3.7 a B6.3.25).

6.3.2 O item protegido deve ser mensurável de forma confiável.

6.3.3 Se o item protegido for uma transação prevista (ou um componente dela), essa transação deve ser altamente provável.

6.3.4 Uma exposição agregada que seja uma combinação de exposição pode qualificar-se como item protegido, de acordo com o item 6.3.1, e um derivativo pode ser designado como item protegido (ver itens B6.3.3 e B6.3.4). Isso inclui uma transação futura de exposição agregada (ou seja, transações futuras não comprometidas, mas previstas, que resultariam em uma exposição e um derivativo) se essa exposição agregada for altamente provável e, uma vez que tenha ocorrido e, portanto, não seja mais prevista, seja elegível como item protegido.

6.3.5 Para fins de contabilização de hedge, apenas ativos, passivos, compromissos firmes ou transações previstas altamente prováveis com parte externa à entidade que reporta podem ser designados como itens protegidos. A contabilização de hedge pode ser aplicada a transações entre entidades do mesmo grupo somente nas demonstrações contábeis individuais ou separadas dessas entidades e, não, nas demonstrações contábeis consolidadas do grupo, exceto em relação às demonstrações contábeis consolidadas de entidade de investimento, conforme definido no CPC 36, em que as transações entre a entidade de investimento e suas controladas mensuradas ao valor justo por meio do resultado não devem ser eliminadas nas demonstrações contábeis consolidadas.

6.3.6 Contudo, como exceção ao item 6.3.5, o risco de moeda estrangeira de item monetário intragrupo (por exemplo, conta a pagar/receber entre duas controladas) pode se qualificar como item protegido nas demonstrações contábeis consolidadas, se resultar na exposição a ganhos ou a perdas de taxa de câmbio que não forem totalmente eliminadas na consolidação de acordo com o CPC 02 - Efeitos das Mudanças nas Taxas de Câmbio e Conversão de Demonstrações Contábeis. De acordo com o CPC 02, os ganhos e as perdas de taxa de câmbio em itens monetários intragrupo não são totalmente eliminados na consolidação, quando o item monetário intragrupo é transacionado entre duas entidades do grupo que possuem diferentes moedas funcionais. Além disso, o risco de moeda estrangeira de transação intragrupo prevista altamente provável pode se qualificar como item protegido nas demonstrações contábeis consolidadas, desde que a transação seja denominada em moeda que não seja a moeda funcional da entidade que realiza essa transação e o risco de moeda estrangeira afete o resultado consolidado.

Designação de item protegido

6.3.7 A entidade pode designar um item em sua totalidade ou um componente de item como item protegido em relação de proteção. Um item inteiro compreende todas as alterações nos fluxos de caixa ou no valor justo do item. Um componente compreende menos do que a alteração de valor justo total ou variabilidade de fluxo de caixa do item. Nesse caso, a entidade pode designar somente os seguintes tipos de componentes (incluindo combinações) como itens protegidos:

(a) somente alterações nos fluxos de caixa ou no valor justo de item atribuível a risco ou riscos específicos (componente de risco), desde que, com base na avaliação dentro do contexto da estrutura de mercado específico, o componente de risco seja separadamente identificável e mensurável de forma confiável (ver itens B6.3.8 a B6.3.15). Componentes de risco incluem a designação de apenas alterações nos fluxos de caixa ou no valor justo de item protegido acima ou abaixo de determinado preço ou outra variável (risco unilateral).

(b) um ou mais fluxos de caixa contratuais selecionados;

(c) componentes do valor nominal, ou seja, uma parte específica do valor do item (ver itens B6.3.16 a B6.3.20).

6.4 Critérios de qualificação para contabilização de hedge

6.4.1 A relação de proteção qualifica-se para contabilização de hedge somente se todos os seguintes critérios forem atendidos:

(a) a relação de proteção consiste somente de instrumentos de hedge elegíveis e itens protegidos elegíveis;

(b) no início da relação de proteção, houver designação e documentação formal da relação de proteção e o objetivo e a estratégia de gerenciamento de risco da entidade para assumir o hedge. Essa documentação deve incluir identificação do instrumento de hedge, do item protegido, da natureza do risco que está sendo protegido e de como a entidade deve avaliar se a relação de proteção atende aos requisitos de efetividade de hedge (incluindo sua análise das fontes de inefetividade de hedge e como determinar o índice de hedge);

(c) a relação de proteção atende a todos os seguintes requisitos de efetividade de hedge:

(i) existe relação econômica entre o item protegido e o instrumento de hedge (ver itens B6.4.4 a B6.4.6);

(ii) o efeito de risco de crédito não influencia as alterações no valor que resultam dessa relação econômica (ver itens B6.4.7 e B6.4.8); e

(iii) o índice de hedge da relação de proteção é o mesmo que aquele resultante da quantidade do item protegido que a entidade efetivamente protege e a quantidade do instrumento de hedge que a entidade efetivamente utiliza para proteger essa quantidade de item protegido. Contudo, essa designação não deve refletir um desequilíbrio entre as ponderações do item protegido e o instrumento de hedge que criam inefetividade de hedge (independentemente de ser reconhecida ou não), resultando em resultado contábil inconsistente com a finalidade de contabilização de hedge (ver itens B6.4.9 a B6.4.11).

6.5 Contabilização de relação de proteção que se qualifica

6.5.1 A entidade deve aplicar a contabilização de hedge a relações de proteção que atendem aos critérios de qualificação do item 6.4.1 (que inclui a decisão da entidade de designar a relação de proteção).

6.5.2 Existem três tipos de relações de proteção:

(a) hedge de valor justo: o hedge da exposição a alterações no valor justo de ativo ou passivo reconhecido ou de compromisso firme não reconhecido, ou componente de quaisquer desses itens, que seja atribuível a risco específico e que possa afetar o resultado;

(b) hedge de fluxo de caixa: o hedge da exposição à variabilidade nos fluxos de caixa que seja atribuível a risco específico associado à totalidade de ativo ou passivo reconhecido, ou a um componente dele (como, por exemplo, a totalidade ou parte dos pagamentos de juros futuros sobre dívida de taxa variável) ou a transação prevista altamente provável e que possa afetar o resultado;

(c) hedge de investimento líquido em operação no exterior, conforme definido no CPC 02.

6.5.3 Se o item protegido for instrumento patrimonial para o qual a entidade escolheu apresentar alterações no valor justo em outros resultados abrangentes, de acordo com o item 5.7.5, a exposição protegida referida no item 6.5.2 (a) deve ser registrada de forma que afete outros resultados abrangentes. Nesse caso, e somente nesse caso, a inefetividade de hedge reconhecida deve ser apresentada em outros resultados abrangentes.

6.5.4 O hedge de risco de moeda estrangeira de compromisso firme pode ser contabilizado como hedge de valor justo ou hedge de fluxo de caixa.

6.5.5 Se a relação de proteção deixar de atender ao requisito de efetividade de hedge, referente ao índice de hedge (ver item 6.4.1 (c)(iii)), mas o objetivo de gerenciamento de risco para essa relação de proteção designada permanecer o mesmo, a entidade deve ajustar o índice de hedge da relação de proteção de forma que ele atenda aos critérios de qualificação novamente (isso é referido neste pronunciamento como "reequilíbrio", ver itens B6.5.7 a B6.5.21).

6.5.6 A entidade deve descontinuar prospectivamente a contabilização de hedge somente quando a relação de proteção (ou parte da relação de proteção) deixar de atender aos critérios de qualificação (após levar em consideração qualquer reequilíbrio da relação de proteção, se aplicável). Isso inclui exemplos de quando o instrumento de hedge expirar ou for vendido, rescindido ou exercido. Para esse fim, a substituição ou rolagem do instrumento de hedge em outro instrumento de hedge não é expiração ou rescisão se essa substituição ou rolagem fizer parte do objetivo de gerenciamento de risco documentado da entidade, ou for consistente com esse objetivo. Adicionalmente, para esse fim, não existe expiração ou rescisão do instrumento de hedge se:

(a) como consequência de leis ou regulamentos ou a introdução de leis ou regulamentos, as partes do instrumento de hedge concordarem com que uma ou mais contrapartes de compensação substituem sua contraparte original para tornarem-se a nova contraparte de cada uma das partes. Para esse fim, a contraparte de compensação é a contraparte central (algumas vezes denominada "organização de compensação" ou "agência de compensação") ou a entidade ou entidades, por exemplo, um membro de compensação de organização de compensação ou cliente de membro de compensação de organização de compensação, que estão atuando como contraparte para efetuar compensação por contraparte central. Contudo, quando as partes do instrumento de hedge substituírem suas contrapartes originais por contrapartes diferentes, o requisito deste subitem somente será atendido se cada uma dessas partes efetuar compensação com a mesma contraparte central;

(b) outras alterações, se houver, ao instrumento de hedge estão limitadas àquelas que são necessárias para efetuar essa substituição da contraparte. Essas alterações estão limitadas àquelas que são consistentes com os termos que seriam esperados se o instrumento de hedge fosse originalmente compensado com a contraparte de compensação. Essas alterações incluem alterações nos requisitos de garantia, direitos de compensar saldos a receber e a pagar e encargos lançados.

Descontinuar a contabilização de hedge pode afetar a relação de proteção em sua totalidade ou somente parte dela (sendo que, nesse caso, a contabilização de hedge deve continuar durante o restante da relação de proteção).

6.5.7 A entidade deve aplicar:

(a) o item 6.5.10 quando descontinuar a contabilização de hedge para hedge de valor justo pela qual o item protegido é (ou é componente de) instrumento financeiro mensurado ao custo amortizado; e

(b) o item 6.5.12 quando descontinuar a contabilização de hedge para hedges de fluxo de caixa.

Hedge de valor justo

6.5.8 Enquanto a cobertura de valor justo atender aos critérios de qualificação do item 6.4.1, a relação de proteção deve ser contabilizada da seguinte forma:

(a) o ganho ou a perda no instrumento de hedge deve ser reconhecido no resultado (ou outros resultados abrangentes, se o instrumento de hedge protege instrumento patrimonial para o qual a entidade escolheu apresentar alterações no valor justo em outros resultados abrangentes, de acordo com o item 5.7.5);

(b) o ganho ou a perda protegida no item protegido deve ajustar o valor contábil do item protegido (se aplicável) e deve ser reconhecido no resultado. Se o item protegido for ativo financeiro (ou componente dele) mensurado ao valor justo por meio de outros resultados abrangentes de acordo com o item 4.1.2A, o ganho ou a perda protegida no item protegido deve ser reconhecido no resultado. Contudo, se o item protegido for instrumento patrimonial para o qual a entidade escolheu apresentar alterações no valor justo em outros resultados abrangentes de acordo com o item 5.7.5, esses valores devem permanecer em outros resultados abrangentes. Quando o item protegido for compromisso firme não reconhecido (ou componente dele), a alteração acumulada no valor justo do item protegido, subsequente à sua designação, deve ser reconhecida como ativo ou passivo com o ganho ou a perda correspondente reconhecida no resultado.

6.5.9 Quando o item protegido no hedge de valor justo é um compromisso firme (ou componente dele) para adquirir o ativo ou assumir o passivo, o valor contábil inicial do ativo ou passivo que resulte do atendimento pela entidade do compromisso firme deve ser ajustado para incluir a alteração acumulada no valor justo do item protegido que foi reconhecido no balanço patrimonial.

6.5.10 Qualquer ajuste decorrente do item 6.5.8 (b) deve ser amortizado no resultado, se o item protegido for instrumento financeiro (ou componente dele) mensurado ao custo amortizado. A amortização pode ter início assim que houver o ajuste e deve começar o mais tardar quando o item protegido deixar de ser ajustado para ganhos e perdas de hedge. A amortização deve ser baseada na taxa de juros efetiva, recalculada na data em que começar essa amortização. No caso de ativo financeiro (ou componente dele) que seja um item protegido e que seja mensurado ao valor justo por meio de outros resultados abrangentes, de acordo com o item 4.1.2A, deve ser aplicada a amortização da mesma forma, mas ao valor que representa o ganho ou a perda acumulada anteriormente reconhecido, de acordo com o item 6.5.8 (b), em vez de ajustar o valor contábil.

Hedge de fluxo de caixa

6.5.11 Enquanto o hedge de fluxo de caixa atender aos critérios de qualificação do item 6.4.1, a relação de proteção deve ser contabilizada da seguinte forma:

(a) o componente separado do patrimônio líquido associado ao item protegido (reserva de hedge de fluxo de caixa) deve ser ajustado ao menor valor entre (em valores absolutos):

(i) o ganho ou a perda acumulado no instrumento de hedge desde o início do hedge; e

(ii) a alteração acumulada no valor justo (valor presente) do item protegido (ou seja, o valor presente da alteração acumulada nos fluxos de caixa futuros esperados protegidos) desde o início do hedge;

(b) a parcela do ganho ou da perda no instrumento de hedge que for determinada como hedge efetivo (ou seja, a parcela que é compensada pela alteração na reserva de hedge de fluxo de caixa calculada de acordo com a alínea (a)) deve ser reconhecida em outros resultados abrangentes;

(c) qualquer ganho ou perda remanescente no instrumento de hedge (ou qualquer ganho ou perda requerida para equilibrar a alteração na reserva de hedge de fluxo de caixa calculada de acordo com a alínea (a)) é uma inefetividade de hedge que deve ser reconhecida no resultado;

(d) o valor acumulado na reserva de hedge de fluxo de caixa, de acordo com a alínea (a), deve ser contabilizado, conforme segue:

(i) se a transação prevista protegida resultar subsequentemente no reconhecimento de ativo não financeiro ou passivo não financeiro, ou a transação prevista protegida para ativo não financeiro ou passivo não financeiro tornar-se um compromisso firme para o qual a contabilização de hedge do valor justo deve ser aplicada, a entidade deve transferir esse valor da reserva de hedge de fluxo de caixa e deve incluí-la diretamente no custo inicial ou em outro valor contábil do ativo ou do passivo. Isso não é ajuste de reclassificação (ver CPC 26) e, portanto, não afeta outros resultados abrangentes;

(ii) para hedges de fluxo de caixa que não sejam aqueles cobertos pelo inciso (i), esse valor deve ser reclassificado da reserva de hedge de fluxo de caixa para o resultado como ajuste de reclassificação (ver CPC 26) no mesmo período ou períodos durante os quais os fluxos de caixa futuros esperados protegidos afetam o resultado (por exemplo, nos períodos em que a despesa ou a receita de juros é reconhecida ou quando ocorre a venda prevista);

(iii) contudo, se esse valor for uma perda e a entidade espera que a totalidade ou qualquer parcela dessa perda não deva ser recuperada em um ou mais períodos futuros, ela imediatamente deve reclassificar o valor, que não se espera que seja recuperado, no resultado como ajuste de reclassificação (ver CPC 26).

6.5.12 Quando a entidade descontinuar a contabilização de hedge para hedge de fluxo de caixa (ver itens 6.5.6 e 6.5.7 (b)), ela deve contabilizar o valor acumulado na reserva de hedge de fluxo de caixa, de acordo com o item 6.5.11 (a), conforme abaixo:

(a) se ainda se espera que ocorram os fluxos de caixa futuros protegidos, esse valor deve permanecer na reserva de hedge de fluxo de caixa até que ocorram os fluxos de caixa futuros ou até que se aplique o item 6.5.11 (d)(iii). Quando ocorrerem fluxos de caixa futuros, deve ser aplicado o item 6.5.11 (d);

(b) se não se espera mais que ocorram fluxos de caixa futuros protegidos, esse valor deve ser imediatamente reclassificado da reserva de hedge de fluxo de caixa para o resultado como ajuste de reclassificação (ver CPC 26). Ainda se espera que o fluxo de caixa futuro protegido, que deixou de ser altamente provável, ocorra.

Hedge de investimento líquido em operação no exterior

6.5.13 Hedges de investimento líquido em operação no exterior, incluindo o hedge de item monetário que seja contabilizado como parte do investimento líquido (ver CPC 02), devem ser contabilizados de forma similar aos hedges de fluxo de caixa:

(a) a parte do ganho ou da perda no instrumento de hedge, que é determinada como hedge efetivo, deve ser reconhecida em outros resultados abrangentes (ver item 6.5.11); e

(b) a parcela inefetiva deve ser reconhecida no resultado.

6.5.14 O ganho ou a perda acumulada no instrumento de hedge, relacionado à parcela efetiva do hedge que tiver sido acumulado na reserva de conversão de moeda estrangeira, deve ser reclassificado do patrimônio líquido para o resultado como ajuste de reclassificação (ver CPC 26), de acordo com os itens 48 e 49 do CPC 02, na alienação ou alienação parcial da operação no exterior.

Contabilização do valor de opção no tempo

6.5.15 Quando a entidade separar o valor intrínseco e o valor do contrato de opção no tempo e designar como instrumento de hedge somente a alteração no valor intrínseco da opção (ver item 6.2.4 (a)), ela deve contabilizar o valor da opção no tempo, conforme abaixo especificado (ver itens B6.5.29 a B6.5.33):

(a) a entidade deve distinguir o valor das opções no tempo pelo tipo de item protegido que a opção protege (ver item B6.5.29):

(i) item protegido relativo à transação; ou

(ii) item protegido relativo a período de tempo;

(b) a alteração no valor justo do valor da opção, no tempo que cobre o item protegido relativo à transação, deve ser reconhecida em outros resultados abrangentes na medida em que se relacione com o item protegido e deve ser acumulada em componente separado do patrimônio líquido. A alteração acumulada no valor justo decorrente do valor da opção, no tempo que tem sido acumulado em componente separado de patrimônio líquido ("valor"), deve ser contabilizada da seguinte forma:

(i) se o item protegido resultar, subsequentemente, no reconhecimento de ativo não financeiro ou passivo não financeiro, ou compromisso firme para ativo não financeiro ou passivo não financeiro, para o qual a contabilização de hedge do valor justo deve ser aplicada, a entidade deve transferir o valor do componente separado do patrimônio líquido e deve incluí-lo diretamente no custo inicial ou em outro valor contábil do ativo ou do passivo. Isso não é ajuste de reclassificação (ver CPC 26) e, portanto, não afeta outros resultados abrangentes;

(ii) para relação de proteção que não sejam aquelas cobertas pelo inciso (i), esse valor deve ser reclassificado do componente separado do patrimônio líquido para o resultado, como ajuste de reclassificação (ver CPC 26), no mesmo período ou períodos durante os quais os fluxos de caixa futuros esperados protegidos afetam o resultado (por exemplo, quando ocorre uma venda prevista);

(iii) entretanto, se não se espera que a totalidade ou parte desse valor seja recuperada em um ou mais períodos futuros, o valor que não se espera que seja recuperado deve ser imediatamente reclassificado para o resultado, como ajuste de reclassificação (ver CPC 26);

(c) a alteração no valor justo do valor de opção no tempo que cobre item protegido, relativo a período de tempo, deve ser reconhecida em outros resultados abrangentes na medida em que se relacione com o item protegido e deve ser acumulada em componente separado do patrimônio líquido. O valor no tempo na data de designação da opção como instrumento de hedge, na medida em que se relaciona com o item protegido, deve ser amortizado de forma sistemática e racional ao longo do período durante o qual o instrumento de hedge para o valor intrínseco da opção possa afetar o resultado (ou outros resultados abrangentes, se o item protegido for instrumento patrimonial para o qual a entidade escolheu apresentar alterações no valor justo em outros resultados abrangentes, de acordo com o item 5.7.5). Portanto, em cada período contábil, o valor da amortização deve ser reclassificado do componente separado do patrimônio líquido para o resultado, como ajuste de reclassificação (ver CPC 26).

Entretanto, se a contabilização de hedge for descontinuada para a relação de proteção que inclui a alteração no valor intrínseco da opção como instrumento de hedge, o valor líquido (ou seja, incluindo amortização acumulada), que tem sido acumulado no componente separado do patrimônio líquido, deve ser imediatamente reclassificado para o resultado, como ajuste de reclassificação (ver CPC 26).

Contabilização do elemento a termo de contrato a termo e spread com base em moeda estrangeira de instrumento financeiro

6.5.16 Quando a entidade separar o elemento a termo e o elemento à vista de contrato a termo e designar como instrumento de hedge, somente a alteração no valor do elemento à vista do contrato a termo, ou quando a entidade separar o spread com base em moeda estrangeira do instrumento financeiro e o excluir da designação desse instrumento financeiro como instrumento de hedge (ver item 6.2.4 (b)), a entidade pode aplicar o item 6.5.15 ao elemento a termo do contrato a termo ou ao spread com base em moeda estrangeira, do mesmo modo que ele é aplicado ao valor da opção no tempo. Nesse caso, a entidade deve aplicar a orientação de aplicação descrita nos itens B6.5.34 a B6.5.39.

6.6 Hedge de grupo de itens

Elegibilidade de grupo de itens como item protegido

6.6.1 Um grupo de itens (incluindo um grupo de itens que constitui posição líquida (ver itens B6.6.1 a B6.6.8)) é um item protegido elegível somente se:

(a) consiste de itens (incluindo componentes de itens) que são, individualmente, itens protegidos elegíveis;

(b) os itens no grupo são gerenciados em conjunto na base de grupo para fins de gerenciamento de risco; e

(c) no caso de hedge de fluxo de caixa de grupo de itens, cujas variabilidades de fluxo de caixa não se espera que sejam aproximadamente proporcionais à variabilidade geral de fluxos de caixa do grupo de modo a surgirem posições de risco que se compensam:

(i) for hedge de risco de moeda estrangeira; e

(ii) a designação dessa posição líquida especificar o período contábil, em que se espera que as transações previstas afetem o resultado, bem como sua natureza e volume (ver itens B6.6.7 e B6.6.8).

Designação de componente de valor nominal

6.6.2 O componente, que seja uma proporção de grupo elegível de itens, é um item protegido elegível, desde que a designação seja consistente com o objetivo de gerenciamento de risco da entidade.

6.6.3 O componente de camada (layer) de grupo geral de itens (por exemplo, camada inferior) é elegível para contabilização de hedge somente se:

(a) for separadamente identificável e mensurável de forma confiável;

(b) o objetivo do gerenciamento de risco for proteger um componente de camada (layer);

(c) os itens, no grupo geral do qual a camada for identificada, estiverem expostos ao mesmo risco protegido (de modo que a mensuração da camada protegida não seja, significativamente, afetada pelos itens específicos do grupo geral, que fazem parte da camada protegida);

(d) para hedge de itens existentes (por exemplo, compromisso firme não reconhecido ou ativo reconhecido), a entidade puder identificar e rastrear o grupo geral de itens, a partir do qual a camada protegida é definida (de modo que a entidade seja capaz de cumprir os requisitos para a contabilização de relação de proteção que se qualificam); e

(e) quaisquer itens, no grupo que contém opções de pagamento antecipado, atenderem aos requisitos para componentes de valor nominal (ver item B6.3.20).

Apresentação

6.6.4 Para hedge de grupo de itens com posições de risco que se compensam (ou seja, no hedge da posição líquida), cujo risco protegido afeta diferentes rubricas na demonstração do resultado e outros resultados abrangentes, quaisquer ganhos e perdas protegidos nessa demonstração, devem ser apresentados em rubrica separada daquelas afetadas pelos itens protegidos. Portanto, nessa demonstração, o valor na rubrica que corresponde ao próprio item protegido (por exemplo, receita ou custo de venda) permanece sem ser afetado.

6.6.5 Para ativos e passivos que são protegidos em conjunto como grupo no hedge de valor justo, o ganho ou a perda no balanço patrimonial em ativos e passivos individuais devem ser reconhecidos como ajuste ao valor contábil dos respectivos itens individuais, que integram o grupo de acordo com o item 6.5.8 (b).

Posição líquida nula

6.6.6 Quando o item protegido for um grupo que esteja em posição líquida nula (ou seja, os itens protegidos entre si compensam totalmente o risco que é gerenciado na base de grupo), a entidade tem permissão de designá-lo na relação de proteção que não inclui instrumento de hedge, ficando ressalvado que:

(a) o hedge faz parte da estratégia de rolagem do hedge de risco líquido, pela qual a entidade rotineiramente protege novas posições do mesmo tipo, conforme o tempo passa (por exemplo, quando transações movem-se pelo horizonte de tempo, durante o qual a entidade protege);

(b) a posição líquida protegida muda em tamanho ao longo da vida da estratégia de hedge de risco líquida de rolagem e a entidade deve utilizar instrumentos de hedge elegíveis para proteger o risco líquido (ou seja, quando a posição líquida não é nula);

(c) a contabilização de hedge normalmente é aplicada a essas posições líquidas, quando a posição líquida não é nula e é protegida com instrumentos de hedge elegíveis; e

(d) não aplicar contabilização de hedge à posição líquida nula daria origem a resultados contábeis inconsistentes porque a contabilização não reconheceria as posições de risco que se compensam que, de outro modo, seriam reconhecidas no hedge da posição líquida.

6.7 Opção de designar a exposição de crédito como mensurada ao valor justo por meio do resultado

Elegibilidade de exposição de crédito para designação ao valor justo por meio do resultado

6.7.1 Se a entidade utilizar um derivativo de crédito, que seja mensurado ao valor justo por meio do resultado, para gerenciar o risco de crédito da totalidade, ou parte, de instrumento financeiro (exposição de crédito), ela pode designar esse instrumento financeiro na medida em que for assim gerenciado (ou seja, a totalidade ou uma proporção dele) como mensurado ao valor justo por meio do resultado se:

(a) o nome da exposição de crédito (por exemplo, o mutuário, ou o titular de compromisso de empréstimo) corresponde à entidade de referência do derivativo de crédito ("nome correspondente"); e

(b) a senioridade do instrumento financeiro corresponde àquela dos instrumentos que podem ser entregues de acordo com o derivativo de crédito.

A entidade pode realizar essa designação, independentemente de o instrumento financeiro, que é gerenciado para risco de crédito, estar dentro do alcance deste pronunciamento (por exemplo, a entidade pode designar compromissos de empréstimo, que estão fora do alcance deste pronunciamento). A entidade pode designar esse instrumento financeiro no reconhecimento inicial, ou após isso, ou enquanto não estiver reconhecido e deve documentar a designação, simultaneamente.

Contabilização de exposição de crédito designada ao valor justo por meio do resultado

6.7.2 Se o instrumento financeiro for designado de acordo com o item 6.7.1 como mensurado ao valor justo por meio do resultado após seu reconhecimento inicial, ou não tiver sido anteriormente reconhecido, a diferença no momento da designação entre o valor contábil, se houver, e o valor justo deve ser imediatamente reconhecida no resultado. Para ativos financeiros mensurados ao valor justo por meio de outros resultados abrangentes, de acordo com o item 4.1.2A, o ganho ou a perda acumulada, reconhecido anteriormente em outros resultados abrangentes, deve ser imediatamente reclassificado do patrimônio líquido para o resultado, como ajuste de reclassificação (ver CPC 26).

6.7.3 A entidade deve descontinuar a mensuração do instrumento financeiro que deu origem ao risco de crédito, ou uma proporção desse instrumento financeiro, ao valor justo por meio do resultado se:

(a) os critérios de qualificação no item 6.7.1 não forem mais atendidos, por exemplo:

(i) o derivativo de crédito ou o instrumento financeiro relacionado, que dá origem ao risco de crédito, expira ou é vendido, rescindido ou liquidado; ou

(ii) o risco de crédito do instrumento financeiro não é mais gerenciado utilizando-se derivativos de crédito. Por exemplo, isso pode ocorrer devido às melhorias na qualidade de crédito do mutuário ou do titular de compromisso de empréstimo ou alterações nos requisitos de capital impostos à entidade; e

(b) o instrumento financeiro, que dá origem ao risco de crédito, não precisar ser mensurado ao valor justo por meio do resultado (ou seja, o modelo de negócios da entidade não se alterou nesse meio tempo de modo que fosse requerida a reclassificação de acordo com o item 4.4.1).

6.7.4 Quando a entidade descontinuar a mensuração do instrumento financeiro, que dá origem ao risco de crédito, ou uma proporção desse instrumento financeiro, ao valor justo por meio do resultado, o valor justo desse instrumento financeiro na data da descontinuação torna-se seu novo valor contábil. Subsequentemente, a mesma mensuração, que foi utilizada antes de designar o instrumento financeiro ao valor justo por meio do resultado, deve ser aplicada (incluindo amortização que resulte do novo valor contábil). Por exemplo, o ativo financeiro, que havia sido originalmente classificado como mensurado ao custo amortizado, reverteria para essa mensuração e sua taxa de juros efetiva seria recalculada com base em seu novo valor contábil bruto, na data da descontinuação da mensuração ao valor justo por meio do resultado.

6.8 Exceções temporárias da aplicação de requisitos específicos de contabilização de hedge

6.8.1 A entidade deve aplicar os itens de 6.8.4 a 6.8.12, 7.1.8 e 7.2.26 (d) a todas as relações de proteção diretamente afetadas pela reforma da taxa de juros de referência. Esses itens se aplicam apenas a essas relações de proteção. A relação de proteção é diretamente afetada pela reforma da taxa de juros de referência somente se a reforma suscitar incertezas sobre:

(a) a taxa de juros de referência (especificada contratualmente ou não) designada como risco protegido de hedge; e/ou

(b) o período ou o valor dos fluxos de caixa baseados na taxa de juros de referência do item objeto de hedge ou do instrumento de hedge.

6.8.2 Para fins de aplicação dos itens de 6.8.4 a 6.8.12, o termo "reforma da taxa de juros de referência" refere-se à reforma de todo o mercado de referência de taxa de juros, incluindo a substituição da taxa de juros de referência por taxa de referência alternativa, tal como resultante das recomendações estabelecidas no relatório do Financial Stability Boards (Conselho de Estabilidade Financeira), de julho de 2014, "Reforma das principais taxas de juros de referência".

6.8.3 Os itens de 6.8.4 a 6.8.12 fornecem exceções apenas aos requisitos especificados nesses itens. A entidade deve continuar a aplicar todos os outros requisitos de contabilidade de hedge às relações de proteção diretamente afetadas pela reforma da taxa de juros de referência.

Requisito altamente provável para hedge de fluxo de caixa

6.8.4 Com o objetivo de determinar se uma transação prevista (ou um componente dela) é altamente provável, conforme requerido no item 6.3.3, a entidade deve assumir que a taxa de juros de referência, na qual os fluxos de caixa protegidos (especificados contratualmente ou não) são baseados, não é alterada como resultado da reforma da taxa de juros de referência.

Reclassificação do valor acumulado na reserva de hedge de fluxo de caixa

6.8.5 Para fins de aplicação do requisito no item 6.5.12, a fim de determinar se os fluxos de caixa futuros protegidos irão ocorrer, a entidade deve assumir que a taxa de juros de referência, na qual os fluxos de caixa protegidos (especificado contratualmente ou não) são baseados, não é alterada como resultado da reforma da taxa de juros de referência.

Avaliação da relação econômica entre o item protegido e o instrumento de hedge

6.8.6 Para fins de aplicação dos requisitos dos itens 6.4.1 (c)(i) e de B6.4.4 a B6.4.6, a entidade deve assumir que a taxa de juros de referência na qual o fluxo de caixa protegido e/ou o risco de hedge (especificado contratualmente ou não) são baseados, ou a taxa de juros de referência no qual se baseiam os fluxos de caixa do instrumento de hedge, não é alterada como resultado da reforma da taxa de juros de referência.

Designação de componente de item como item protegido

6.8.7 A menos que o item 6.8.8 seja aplicável para hedge de componente de referência não contratualmente especificado do risco de taxa de juros, a entidade deve aplicar o requisito nos itens 6.3.7 (a) e B6.3.8 - que o componente de risco seja identificável separadamente - somente no início da relação de proteção.

6.8.8 Quando a entidade, consistente com sua documentação de hedge, frequentemente redefine (ou seja, descontinua e reinicia) a relação de proteção, porque tanto o instrumento de hedge quanto o item de hedge são alterados com frequência (ou seja, a entidade utiliza um processo dinâmico no qual os itens de hedge e os instrumentos de hedge utilizados para gerenciar essa exposição não permanecem os mesmos por muito tempo), a entidade deve aplicar o requisito dos itens 6.3.7 (a) e B6.3.8 - que o componente de risco seja identificável separadamente - somente quando designar inicialmente um item protegido nessa relação de proteção. O item protegido que foi avaliado no momento de sua designação inicial na relação de proteção, se era no momento do início do hedge ou, subsequentemente, não é reavaliado em nenhuma redesignação subsequente na mesma relação de proteção.

Fim da aplicação

6.8.9 A entidade deve cessar, prospectivamente, a aplicação do item 6.8.4 ao item protegido no que primeiro ocorrer:

(a) quando a incerteza decorrente da reforma da taxa de juros de referência não estiver mais presente no momento e no valor dos fluxos de caixa baseados na taxa de juros de referência do item protegido; e

(b) quando a relação de proteção do qual o item protegido faz parte for descontinuado.

6.8.10 A entidade deve cessar, prospectivamente, a aplicação do item 6.8.5, no que primeiro ocorrer:

(a) quando a incerteza decorrente da reforma da taxa de juros de referência não estiver mais presente no momento e no valor dos fluxos de caixa futuros baseados na taxa de juros de referência do item protegido; e

(b) quando o valor total acumulado na reserva de hedge de fluxo de caixa referente a essa relação de proteção descontinuada for reclassificado para o resultado.

6.8.11 A entidade deve cessar, prospectivamente, de aplicar o item 6.8.6:

(a) ao item protegido, quando a incerteza decorrente da reforma da taxa de juros de referência não estiver mais presente em relação ao risco protegido ou ao momento e ao valor dos fluxos de caixa baseados na taxa de juros de referência do item protegido; e

(b) ao instrumento de hedge, quando a incerteza decorrente da reforma da taxa de juros de referência não estiver mais presente no que diz respeito ao momento e ao valor dos fluxos de caixa baseados na taxa de juros referência do instrumento de hedge.

Se a relação de proteção da qual o item protegido e o instrumento de hedge fizerem parte for descontinuada antes da data especificada no item 6.8.11 (a) ou da data especificada no item 6.8.11 (b), a entidade deve cessar, prospectivamente, de aplicar o item 6.8.6 àquela relação de proteção na data de descontinuação.

6.8.12 Ao designar um grupo de itens como item protegido por hedge, ou uma combinação de instrumentos financeiros como instrumento de hedge, a entidade deve deixar de aplicar, prospectivamente, os itens de 6.8.4 a 6.8.6 ao item individualmente ou ao instrumento financeiro, de acordo com os itens 6.8.9, 6.8.10 ou 6.8.11, conforme o caso, quando a incerteza decorrente da reforma da taxa de juros de referência não estiver mais presente com relação ao risco protegido e/ou ao momento e ao valor dos fluxos de caixa baseado na taxa de juros de referência daquele item ou instrumento financeiro.

6.8.13 A entidade deve cessar prospectivamente a aplicação dos itens 6.8.7 e 6.8.8, no que ocorrer primeiro entre:

(a) quando as mudanças exigidas pela Reforma da Taxa de Juros de Referência forem feitas para o componente de risco não especificado contratualmente aplicando item 6.9.1; ou

(b) quando a relação de proteção (hedging) em que o componente de risco não contratualmente especificado é designado for descontinuado.

6.9 Exceções temporárias adicionais decorrentes da Reforma da Taxa de Juros de Referência

6.9.1 Como e quando os requisitos dos itens 6.8.4 a 6.8.8 cessarem de se aplicar a uma relação de proteção (ver itens 6.8.9 a 6.8.13), a entidade deve alterar a designação formal dessa relação de proteção, conforme documentado anteriormente para refletir as mudanças exigidas pela reforma da taxa de juros de referência, ou seja, as mudanças são consistentes com os requisitos dos itens 5.4.6 a 5.4.8. Nesse contexto, a designação de proteção deve ser alterada apenas para fazer um ou mais dessas mudanças:

(a) designando uma taxa de referência alternativa (contratualmente especificada ou não) como um risco coberto;

(b) alterar a descrição do item protegido, incluindo a descrição da parcela designada dos fluxos de caixa ou valor justo sendo coberto; ou

(c) alterar a descrição do instrumento de cobertura.

6.9.2 A entidade também deve aplicar o requisito do item 6.9.1 (c) se estas três condições forem atendidas:

(a) a entidade faz uma alteração exigida pela reforma da taxa de juros de referência usando uma abordagem diferente da mudança de base para determinar os fluxos de caixa contratuais do instrumento de hedge (conforme descrito no item 5.4.6);

(b) o instrumento de proteção original não é desreconhecido; e

(c) a abordagem escolhida é economicamente equivalente a mudar a base para determinar os fluxos de caixa contratuais da proteção do instrumento original (conforme descrito nos itens 5.4.7 e 5.4.8).

6.9.3 Os requisitos dos itens 6.8.4 a 6.8.8 podem cessar a aplicação em diferentes situações. Portanto, ao aplicar o item 6.9.1, a entidade pode ser requerida a alterar a designação formal de suas relações de proteção em momentos diferentes, ou pode ser necessário alterar a designação formal de uma relação de proteção mais de uma vez. Quando, e somente quando, tal mudança for feita na designação de proteção, a entidade deve aplicar os itens 6.9.7 a 6.9.12 conforme aplicável. A entidade também deve aplicar o item 6.5.8 (para um hedge de valor justo) ou item 6.5.11 (para um hedge de fluxo de caixa) para contabilizar quaisquer mudanças no valor justo do item protegido ou do instrumento de hedge.

6.9.4 A entidade deve alterar uma relação de proteção conforme exigido no item 6.9.1 no final do período da demonstração contábil durante o qual uma mudança exigida pela reforma da taxa de juros de referência é feita para o risco protegido, item coberto ou instrumento de hedge. Para evitar dúvidas, tal alteração na designação formal de uma relação de proteção não constitui nem a descontinuação da relação de proteção nem a designação de uma nova relação de proteção.

6.9.5 Se alterações forem feitas além das alterações exigidas pela reforma da taxa de juros de referência para o ativo financeiro ou passivo financeiro designado em uma relação de proteção (conforme descrito nos itens 5.4.6 a 5.4.8) ou para a designação da relação de proteção (conforme exigido pelo item 6.9.1), a entidade deve primeiro aplicar os requisitos previstos neste Pronunciamento para determinar se essas mudanças adicionais resultam na descontinuação da contabilidade do hedge. Se as mudanças adicionais não resultarem na descontinuação da contabilidade de hedge, a entidade deve alterar a designação formal da relação de proteção conforme especificado no item 6.9.1.

6.9.6 Os itens 6.9.7 a 6.9.13 estabelecem exceções aos requisitos especificados para esses itens apenas. A entidade deve aplicar todos os outros requisitos da contabilidade de hedge deste Pronunciamento, incluindo os critérios de qualificação do item 6.4.1, para relações de hedge que foram diretamente afetadas pela reforma da taxa de juros de referência.

Contabilização de relacionamentos de proteção qualificados Hedges de fluxo de caixa

6.9.7 Para efeitos de aplicação do item 6.5.11, no momento em que a entidade altera a descrição de um item coberto conforme exigido no item 6.9.1 (b), o valor acumulado na reserva do hedge de fluxo de caixa será considerado com base na taxa de referência alternativa na qual os fluxos de caixa futuro coberto são determinados.

6.9.8 Para uma relação de proteção descontinuada, quando é alterada a taxa de juros de referência em que os fluxos de caixa futuros cobertos foram baseados conforme exigido por reforma da taxa de juros de referência, para fins de aplicação do item 6.5.12 para determinar se os fluxos de caixa futuros cobertos são esperados para ocorrer, o valor acumulado na reserva de hedge de fluxo de caixa para aquela relação de proteção deve ser atribuída com base na taxa de referência alternativa na qual os fluxos de caixa futuros cobertos serão baseados.

Grupos de itens

6.9.9 Quando a entidade aplica o item 6.9.1 a grupos de itens designados como itens protegidos num hedge de valor justo ou hedge de fluxo de caixa, a entidade deve alocar os itens cobertos para subgrupos com base na taxa de referência que está sendo protegida e designe a taxa de referência como o risco protegido para cada subgrupo. Por exemplo, em uma relação de proteção em que um grupo de itens é protegido para mudanças em uma referência de taxa de juros sujeita a reforma da taxa de juros de referência, os fluxos de caixa protegidos ou o valor justo de alguns itens do grupo poderiam ser alterados para fazer referência a uma taxa de referência alternativa antes de outros itens no grupo serem alterados. Neste exemplo, ao aplicar o item 6.9.1, a entidade designa a taxa de referência alternativa como o risco protegido para esse subgrupo relevante de itens cobertos. A entidade continua a designar a taxa de juros de referência existente como o risco protegido para o outro subgrupo de itens cobertos até os fluxos de caixa protegidos ou valor justo desses itens serem alterados para referenciar a taxa de referência alternativa ou os itens expiram e são substituídos por itens cobertos que fazem referência à taxa de referência alternativa.

6.9.10 A entidade deve avaliar separadamente se cada subgrupo atende aos requisitos do item 6.6.1 para ser um item protegido elegível. Caso existam subgrupo deixar de atender aos requisitos do item 6.6.1, a entidade deve descontinuar a contabilidade de hedge prospectivamente para a relação de proteção em seu por inteiro. A entidade também deve aplicar os requisitos dos itens 6.5.8 e 6.5.11 para contabilizar a ineficácia relacionada à relação de proteção em sua totalidade.

Designação de componentes de risco

6.9.11 Uma taxa de referência alternativa designada como um componente de risco não especificado contratualmente que não é identificável separadamente (ver itens 6.3.7 (a) e B6.3.8) na data em que for designada será considerada como tendo cumprido este requisito nessa data, se, e somente se, a entidade razoavelmente espera que a taxa de referência alternativa será identificada separadamente dentro de 24 meses. O período de 24 meses se aplica separadamente a cada taxa de referência alternativa e começa a partir da data em que a entidade designa a taxa de referência alternativa como um componente de risco não especificado contratualmente pela primeira vez (isto é, o período de 24 meses aplica-se taxa por taxa).

6.9.12 Se subsequentemente a entidade razoavelmente espera que a taxa de referência alternativa não será identificável separadamente dentro de 24 meses a partir da data em que entidade o designou como um componente de risco contratualmente não especificado pela primeira vez, a entidade deve cessar a aplicação do requisito do item 6.9.11 a essa taxa de referência alternativa e descontinuar a contabilidade de hedge prospectivamente a partir da data dessa reavaliação para todas as relações de proteção em que a taxa de referência alternativa foi designada como componente de risco não especificado contratualmente.

6.9.13 Além dessas relações de proteção especificadas no item 6.9.1, a entidade deve aplicar os requisitos dos itens 6.9.11 e 6.9.12 para novas relações de proteção em que uma taxa de referência alternativa é designada como um componente de risco não contratualmente especificado (ver itens 6.3.7 (a) e B6.3.8) quando, devido à reforma da taxa de juros de referência, esse componente de risco não é identificável separadamente na data em que é designada.

CAPÍTULO 7

DATA DE VIGÊNCIA E TRANSIÇÃO

7.1 Data de vigência

7.1.1 A vigência deste Pronunciamento será estabelecida pelos órgãos reguladores que o aprovarem, sendo que para o pleno atendimento às normas internacionais de contabilidade a entidade deve aplicar este pronunciamento para períodos anuais iniciados em ou após 1º de janeiro de 2018.

7.1.2 a 7.1.7 Eliminados.

7.1.8 A Reforma da Taxa de Juros de Referência alterou o CPC 48, o CPC 38 e o CPC 40, adicionou a Seção 6.8 e alterou o item 7.2.26. A vigência dessas alterações será estabelecida pelos órgãos reguladores que o aprovarem, sendo que, para o pleno atendimento às normas internacionais de contabilidade, a entidade deve aplicar essas alterações nos períodos anuais com início em, ou após, 1º de janeiro de 2020.

7.1.9 A Revisão CPC 17 aprovada pelo CPC em 8 de janeiro de 2021, alterou o CPC 48, CPC 38, CPC 40, CPC 11 e CPC 06, adicionou os itens 5.4.5 a 5.4.9, 6.8.13, Seção 6.9 e itens 7.2.43 a 7.2.46. A vigência desta Revisão será estabelecida pelos órgãos reguladores que a aprovarem, sendo que para o pleno atendimento às normas internacionais de contabilidade, a entidade deve aplicar esta revisão para períodos anuais com início em ou após 1º de janeiro de 2021.

7.1.10 A Revisão CPC 19, aprovada pelo CPC em 1º de outubro de 2021, adicionou os itens 7.2.35 e B3.3.6A e alterou o item B3.3.6. A vigência desta Revisão deve ser estabelecida pelos órgãos reguladores que a aprovarem, sendo que, para o pleno atendimento às normas internacionais de contabilidade, a entidade deve aplicar estas alterações para períodos anuais com início em, ou após, 1º de janeiro de 2022.

7.2 Transição

7.2.1 A entidade deve aplicar este pronunciamento retrospectivamente, de acordo com o CPC 23 - Políticas Contábeis, Mudança de Estimativa e Retificação de Erro, exceto conforme especificado nos itens 7.2.4 a 7.2.26 e 7.2.28. Este pronunciamento não deve ser aplicado a itens que já tenham sido desreconhecidos na data da aplicação inicial.

7.2.2 Para fins das disposições sobre transição dos itens 7.2.1, 7.2.3 a 7.2.28 e 7.3.2, a data de aplicação inicial é a data em que a entidade aplicar pela primeira vez os requisitos deste pronunciamento e deve ser o início de um período contábil após a emissão deste pronunciamento. Dependendo da abordagem escolhida pela entidade para aplicar este pronunciamento, a transição pode envolver uma ou mais datas de aplicação inicial para diferentes requisitos.

Transição para classificação e mensuração (capítulos 4 e 5)

7.2.3 Na data de aplicação inicial, a entidade deve avaliar se o ativo financeiro atende à condição do item 4.1.2 (a) ou 4.1.2A(a) com base nos fatos e circunstâncias que existirem nessa data. A classificação resultante deve ser aplicada retrospectivamente, independentemente do modelo de negócios da entidade em períodos contábeis anteriores.

7.2.4 Se, na data de aplicação inicial, for impraticável (conforme definido no CPC 23) para a entidade avaliar um elemento de valor do dinheiro no tempo, modificado de acordo com os itens B4.1.9B a B4.1.9D com base nos fatos e circunstâncias que existiam no reconhecimento inicial do ativo financeiro, a entidade deve avaliar as características de fluxo de caixa contratual desse ativo financeiro com base nos fatos e circunstâncias, que existiam no reconhecimento inicial do ativo financeiro, sem considerar os requisitos referentes à modificação do elemento de valor do dinheiro no tempo nos itens B4.1.9B a B4.1.9D (ver também item 42R do CPC 40).

7.2.5 Se, na data da aplicação inicial, for impraticável (conforme definido no CPC 23) para a entidade avaliar se o valor justo de característica de pagamento antecipado era insignificante, de acordo com o item B4.1.12 (c), com base nos fatos e circunstâncias que existiam no reconhecimento inicial do ativo financeiro, a entidade deve avaliar as características de fluxo de caixa contratual desse ativo financeiro, com base nos fatos e circunstâncias que existiam no reconhecimento inicial do ativo financeiro sem considerar a exceção para elementos de pagamento antecipado no item B4.1.12 (ver também item 42S do CPC 40).

7.2.6 Se a entidade mensurar um contrato híbrido ao valor justo, de acordo com os itens 4.1.2A, 4.1.4 ou 4.1.5, mas o valor justo do contrato híbrido não tiver sido mensurado em períodos contábeis comparativos, o valor justo do contrato híbrido nos períodos de relatório comparativos deve ser a soma dos valores justos dos componentes (ou seja, o contrato principal não derivativo e o derivativo embutido) no final de cada período contábil comparativo, se a entidade reapresentar períodos anteriores (ver item 7.2.15).

7.2.7 Se a entidade aplicar o item 7.2.6, então, na data de aplicação inicial, a entidade deve reconhecer qualquer diferença entre o valor justo de todo o contrato híbrido, na data da aplicação inicial, e a soma dos valores justos dos componentes do contrato híbrido, na data da aplicação inicial, nos lucros acumulados de abertura (ou outro componente do patrimônio líquido, conforme apropriado) do período contábil que inclui a data da aplicação inicial.

7.2.8 Na data da aplicação inicial, a entidade pode designar:

(a) o ativo financeiro como mensurado ao valor justo por meio do resultado, de acordo com o item 4.1.5; ou

(b) o investimento em instrumento patrimonial como ao valor justo por meio de outros resultados abrangentes, de acordo com o item 5.7.5.

Essa designação deve ser feita com base nos fatos e circunstâncias existentes na data da aplicação inicial. Essa classificação deve ser aplicada, retrospectivamente.

7.2.9 Na data da aplicação inicial, a entidade:

(a) deve revogar sua designação anterior de ativo financeiro como mensurado ao valor justo por meio do resultado, se esse ativo financeiro não atender à condição do item 4.1.5;

(b) pode revogar sua designação anterior de ativo financeiro como mensurado ao valor justo por meio do resultado, se esse ativo financeiro atender à condição do item 4.1.5.

Essa revogação deve ser feita com base nos fatos e circunstâncias existentes na data da aplicação inicial. Essa classificação deve ser aplicada, retrospectivamente.

7.2.10 Na data da aplicação inicial, a entidade:

(a) pode designar o passivo financeiro como mensurado ao valor justo por meio do resultado, de acordo com o item 4.2.2 (a);

(b) deve revogar sua designação anterior de passivo financeiro como mensurado ao valor justo por meio do resultado, se essa designação tiver sido feita no reconhecimento inicial, de acordo com a condição atual no item 4.2.2 (a), e essa designação não atender a essa condição na data da aplicação inicial;

(c) pode revogar sua designação anterior de passivo financeiro como mensurado ao valor justo por meio do resultado, se essa designação tiver sido feita no reconhecimento inicial, de acordo com a condição atual no item 4.2.2 (a), e essa designação atender a essa condição na data da aplicação inicial.

Essas designação e revogação devem ser feitas com base nos fatos e circunstâncias existentes na data da aplicação inicial. Essa classificação deve ser aplicada, retrospectivamente.

7.2.11 Se for impraticável (conforme definido no CPC 23) para a entidade aplicar retrospectivamente o método de juros efetivos, a entidade deve tratar:

(a) o valor justo do ativo financeiro ou do passivo financeiro, no final de cada período comparativo apresentado, como valor contábil bruto desse ativo financeiro ou custo amortizado desse passivo financeiro, se a entidade reapresentar períodos anteriores;e

(b) o valor justo do ativo financeiro ou do passivo financeiro, na data da aplicação inicial, como novo valor contábil bruto desse ativo financeiro ou novo custo amortizado desse passivo financeiro, na data da aplicação inicial deste pronunciamento.

7.2.12 Se a entidade tiver contabilizado anteriormente ao custo (de acordo com o CPC 38) um investimento em instrumento patrimonial que não tenha preço cotado em mercado ativo para instrumento idêntico (ou seja, informação de Nível 1) (ou ativo derivativo que seja vinculado a esse instrumento e que deva ser liquidado pela entrega desse instrumento), ela deve mensurar esse instrumento ao valor justo na data da aplicação inicial. Qualquer diferença entre o valor contábil anterior e o valor justo deve ser reconhecida em lucros acumulados de abertura (ou outros componentes do patrimônio líquido, conforme apropriado) do período contábil que inclui a data da aplicação inicial.

7.2.13 Se a entidade tiver contabilizado anteriormente um passivo derivativo que seja vinculado à, e que deva ser liquidado pela, entrega de instrumento patrimonial que não tenha preço cotado em mercado ativo para instrumento idêntico (ou seja, informação de Nível 1) ao custo de acordo com o CPC 38, ela deve mensurar esse passivo derivativo ao valor justo na data da aplicação inicial. Qualquer diferença entre o valor contábil anterior e o valor justo deve ser reconhecida em lucros acumulados de abertura do período contábil que incluir a data da aplicação inicial

CAPÍTULO 1

OBJETIVO

1.1 O objetivo deste pronunciamento é estabelecer princípios para os relatórios financeiros de ativos financeiros e passivos financeiros que devem apresentar informações pertinentes e úteis aos usuários de demonstrações contábeis para a sua avaliação dos valores, época e incerteza dos fluxos de caixa futuros da entidade.

CAPÍTULO 2

ALCANCE

2.1 Este pronunciamento deve ser aplicado por todas as entidades a todos os tipos de instrumentos financeiros, exceto:

(a) participações em controladas, coligadas ou empreendimentos controlados em conjunto que devem ser contabilizadas de acordo com o CPC 36 - Demonstrações Consolidadas, o CPC 35 - Demonstrações Separadas ou o CPC 18 - Investimento em Coligada, em Controlada e em Empreendimento Controlado em Conjunto. Entretanto, em alguns casos, o CPC 36, o CPC 35 ou o CPC 18 exigem ou permitem que a entidade contabilize sua participação em controlada, coligada ou empreendimento controlado em conjunto de acordo com alguns, ou todos, requisitos deste pronunciamento. As entidades devem também aplicar este pronunciamento a derivativos em participação em controlada, coligada ou empreendimento controlado em conjunto, exceto se o derivativo atender à definição de instrumento patrimonial da entidade no CPC 39 - Instrumentos Financeiros: Apresentação;

(b) direitos e obrigações previstos em arrendamentos aos quais deve ser aplicado o CPC 06 - Arrendamentos. Entretanto:

(i) os recebíveis de arrendamento financeiro (ou seja, investimentos líquidos em arrendamento financeiro) e recebíveis de arrendamento operacional reconhecidos por arrendador estão sujeitos aos requisitos de desreconhecimento e de redução ao valor recuperável deste pronunciamento;

(ii) passivos de arrendamento reconhecidos por arrendatário estão sujeitos aos requisitos de desreconhecimento do item 3.3.1 deste pronunciamento; e

(iii) derivativos que estão embutidos em arrendamentos estão sujeitos aos requisitos de derivativos embutidos deste pronunciamento;

(c) direitos e obrigações de empregadores em planos de benefícios a empregados, aos quais deve ser aplicado o CPC 33 - Benefícios a Empregados;

(d) instrumentos financeiros emitidos pela entidade que atenderem à definição de instrumento patrimonial do CPC 39 (incluindo opções e bônus de subscrição) ou que tiverem de ser classificados como instrumento patrimonial de acordo com os itens 16A e 16B ou com os itens 16C e 16D do CPC 39. Entretanto, o titular desses instrumentos patrimoniais deve aplicar este pronunciamento a esses instrumentos, exceto se atenderem à exceção da alínea (a);

(e) direitos e obrigações decorrentes de (i) contrato de seguro, conforme definido no CPC 11 - Contratos de Seguro, que não sejam direitos e obrigações da emitente decorrentes de contrato de seguro que atenda à definição de contrato de garantia financeira, ou (ii) contrato que esteja dentro do alcance do CPC 11, porque contém característica de participação discricionária. Contudo, este pronunciamento deve ser aplicado a um derivativo que esteja embutido em contrato dentro do alcance do CPC 11 se o derivativo não for, ele próprio, um contrato dentro do alcance do CPC 11. Além disso, se a emitente de contratos de garantia financeira tiver anteriormente afirmado explicitamente que considera esses contratos como contratos de seguro e tiver usado a contabilização aplicável a contratos de seguro, a emitente pode decidir aplicar este pronunciamento ou o CPC 11 a esses contratos de garantia financeira (ver itens B2.5 e B2.6). A emitente pode tomar essa decisão, contrato a contrato, mas a decisão para cada contrato é irrevogável;

(f) qualquer contrato a termo entre a adquirente e o acionista vendedor para comprar ou vender uma entidade adquirida que resultará em combinação de negócios dentro do alcance do CPC 15 - Combinação de Negócios na data de aquisição futura. O prazo do contrato a termo não deve exceder um período razoável normalmente necessário para obter quaisquer aprovações exigidas e para concluir a transação;

(g) compromissos de empréstimo, exceto os compromissos de empréstimo descritos no item 2.3. Entretanto, a emitente de compromissos de empréstimo deve aplicar os requisitos de redução ao valor recuperável deste pronunciamento a compromissos de empréstimo que não estejam dentro do alcance deste pronunciamento. Além disso, todos os compromissos de empréstimo estão sujeitos aos requisitos de desreconhecimento deste pronunciamento;

(h) instrumentos financeiros, contratos e obrigações previstos em transações de pagamento baseadas em ações aos quais deve ser aplicado o CPC 10 - Pagamento Baseado em Ações, com exceção de contratos dentro do alcance dos itens 2.4 a 2.7 deste pronunciamento, aos quais este pronunciamento deve ser aplicado;

(i) direitos a pagamentos para reembolsar a entidade por gastos incorridos para liquidar um passivo que reconheça como provisão de acordo com o CPC 25 - Provisões, Passivos Contingentes e Ativos Contingentes, ou para os quais, em período anterior, tenha reconhecido uma provisão de acordo com o CPC 25;

(j) direitos e obrigações dentro do alcance do CPC 47 - Receita de Contrato com Cliente que são instrumentos financeiros, exceto aqueles que o CPC 47 especifica que devem ser contabilizados de acordo com este pronunciamento.

2.2 Os requisitos de perdas por redução ao valor recuperável deste pronunciamento devem ser aplicados aos direitos que o CPC 47 especifica que devem ser contabilizados de acordo com este pronunciamento para as finalidades de reconhecimento de ganhos ou de perdas por redução ao valor recuperável.

2.3 Os seguintes compromissos de empréstimo estão dentro do alcance deste pronunciamento:

(a) compromissos de empréstimo que a entidade designe como passivos financeiros ao valor justo por meio do resultado (ver item 4.2.2). A entidade que tenha a prática passada de vender os ativos resultantes de seus compromissos de empréstimo logo após a concessão deve aplicar este pronunciamento a todos os seus compromissos de empréstimo na mesma classe;

(b) compromissos de empréstimo que possam ser liquidados pelo valor líquido à vista ou pela entrega ou emissão de outro instrumento financeiro. Esses compromissos de empréstimo são derivativos. O compromisso de empréstimo não é considerado como liquidado pelo valor líquido meramente pelo fato de o empréstimo ter sido pago em prestações (por exemplo, empréstimo hipotecário para construção que seja pago em parcelas, de acordo com o progresso da construção);

(c) compromissos para fornecer empréstimo à taxa de juros abaixo do mercado (ver item 4.2.1 (d)).

2.4 Este pronunciamento deve ser aplicado àqueles contratos de compra e venda de item não financeiro que puderem ser liquidados pelo valor líquido à vista ou por outro instrumento financeiro, ou pela troca de instrumentos financeiros, como se os contratos fossem instrumentos financeiros, com exceção dos contratos que foram celebrados e continuam a ser mantidos para fins de recebimento ou entrega de item não financeiro, de acordo com os requisitos de compra, venda ou uso esperados da entidade. Entretanto, este pronunciamento deve ser aplicado àqueles contratos que a entidade designa como mensurados ao valor justo por meio do resultado de acordo com o item 2.5.

2.5 O contrato para comprar ou vender um item não financeiro, que pode ser liquidado pelo valor líquido à vista ou por outro instrumento financeiro, ou pela troca de instrumentos financeiros, como se o contrato fosse um instrumento financeiro, pode ser irrevogavelmente designado como mensurado ao valor justo por meio do resultado, mesmo se foi celebrado para fins de recebimento ou entrega de item não financeiro, de acordo com os requisitos de compra, venda ou uso esperados da entidade. Essa designação está disponível apenas no início do contrato e apenas se eliminar ou reduzir significativamente uma inconsistência de reconhecimento (algumas vezes referida como descasamento contábil) que de outra forma surgiria do não reconhecimento desse contrato porque foi excluída do alcance deste pronunciamento (ver item 2.4).

2.6 Há diversas formas em que um contrato para compra ou venda de item não financeiro pode ser liquidado pelo valor líquido à vista ou por outro instrumento financeiro ou pela troca de instrumentos financeiros. Essas formas incluem:

(a) quando os termos do contrato permitem que uma das partes o liquide pelo valor líquido à vista ou por outro instrumento financeiro, ou pela troca de instrumentos financeiros;

(b) quando a capacidade de liquidar pelo valor líquido à vista ou por outro instrumento financeiro, ou pela troca de instrumentos financeiros, não estiver explícita nos termos do contrato, mas a entidade tiver a prática de liquidar contratos similares pelo valor líquido à vista ou por outro instrumento financeiro, ou pela troca de instrumentos financeiros (se com a contraparte, celebrando o contrato de compensação, ou vendendo o contrato antes de seu exercício ou prescrição);

(c) quando, para contratos similares, a entidade tiver a prática de obter a entrega do item subjacente e vendê-lo dentro de curto período após a entrega, para a finalidade de gerar lucro de flutuações de curto prazo no preço ou margem do revendedor;e

(d) quando um item não financeiro que for objeto do contrato for prontamente conversível em caixa.

O contrato, ao qual seja aplicada a alínea (b) ou (c) não é celebrado para fins de recebimento ou entrega de item não financeiro, de acordo com os requisitos de compra, venda ou uso esperados da entidade e, consequentemente, está dentro do alcance deste pronunciamento. Outros contratos, aos quais deva ser aplicado o item 2.4, devem ser avaliados para determinar se foram celebrados e continuam a ser mantidos para fins de recebimento ou entrega do item não financeiro, de acordo com os requisitos de compra, venda ou uso esperados da entidade e, consequentemente, se estão dentro do alcance deste pronunciamento.

2.7 A opção lançada de compra ou venda de item não financeiro, que pode ser liquidada pelo valor líquido à vista ou por outro instrumento financeiro, ou pela troca de instrumentos financeiros, de acordo com o item 2.6 (a) ou 2.6 (d) está dentro do alcance deste pronunciamento. Esse contrato não pode ser celebrado para fins de recebimento ou entrega do item não financeiro, de acordo com os requisitos de compra, venda ou uso esperados da entidade.

CAPÍTULO 3

RECONHECIMENTO E DESRECONHECIMENTO

3.1 Reconhecimento inicial

3.1.1 A entidade deve reconhecer um ativo financeiro ou um passivo financeiro em seu balanço patrimonial, quando, e apenas quando, a entidade se tornar parte das disposições contratuais do instrumento (ver itens B3.1.1 e B3.1.2). Ao reconhecer, pela primeira vez, um ativo financeiro, a entidade deve classificá-lo de acordo com os itens 4.1.1 a 4.1.5 e mensurá-lo de acordo com os itens 5.1.1 a 5.1.3. Ao reconhecer, pela primeira vez, um passivo financeiro, a entidade deve classificá-lo de acordo com os itens 4.2.1 e 4.2.2 e mensurá-lo de acordo com o item 5.1.1.

Compra ou venda de forma regular de ativos financeiros

3.1.2 A compra ou a venda de forma regular de ativos financeiros deve ser reconhecida e desreconhecida, conforme aplicável, utilizando-se a contabilização na data da negociação ou a contabilização na data da liquidação (ver itens B3.1.3 a B3.1.6).

3.2 Desreconhecimento de ativo financeiro

3.2.1 Nas demonstrações contábeis consolidadas, os itens 3.2.2 a 3.2.9, B3.1.1, B3.1.2 e B3.2.1 a B3.2.17 devem ser aplicados ao nível consolidado. Portanto, a entidade primeiramente deve consolidar todas as controladas de acordo com o CPC 36 e, então, deve aplicar esses itens ao grupo resultante.

3.2.2 Antes de avaliar se, e até que ponto, o desreconhecimento é apropriado de acordo com os itens 3.2.3 a 3.2.9, a entidade define se esses itens devem ser aplicados a uma parte do ativo financeiro (ou a uma parte de grupo de ativos financeiros similares) ou a um ativo financeiro (ou grupo de ativos financeiros similares) em sua totalidade, como segue:

(a) os itens 3.2.3 a 3.2.9 devem ser aplicados a uma parte do ativo financeiro (ou a uma parte de grupo de ativos financeiros similares) se, e apenas se, a parte que estiver sendo considerada para desreconhecimento atender a uma das três condições a seguir:

(i) a parte compreender apenas fluxos de caixa especificamente identificados do ativo financeiro (ou de grupo de ativos financeiros similares). Por exemplo, quando a entidade celebrar um acordo de faixa de taxa de juros, pelo qual a contraparte obtém o direito aos fluxos de caixa de juros, mas, não, aos fluxos de caixa do principal do instrumento de dívida, os itens 3.2.3 a 3.2.9 devem ser aplicados aos fluxos de caixa de juros;

(ii) a parte compreender apenas uma parcela totalmente proporcional (pro rata) dos fluxos de caixa do ativo financeiro (ou grupo de ativos financeiros similares). Por exemplo, quando a entidade celebrar um acordo pelo qual a contraparte obtém os direitos à participação de 90% de todos os fluxos de caixa do instrumento de dívida, os itens 3.2.3 a 3.2.9 devem ser aplicados a 90% desses fluxos de caixa. Se houver mais de uma contraparte, cada contraparte não é obrigada a ter uma parcela proporcional dos fluxos de caixa, desde que a entidade transferente tenha uma parcela totalmente proporcional;(iii) a parte compreender apenas uma parcela totalmente proporcional (pro rata) dos fluxos de caixa especificamente identificados do ativo financeiro (ou grupo de ativos financeiros similares). Por exemplo, quando a entidade celebrar um acordo pelo qual a contraparte obtém direito a 90% dos fluxos de caixa de juros do ativo financeiro, os itens 3.2.3 a 3.2.9 devem ser aplicados a 90% desses fluxos de caixa de juros. Se houver mais de uma contraparte, cada contraparte não é obrigada a ter uma parcela proporcional dos fluxos de caixa especificamente identificados, desde que a entidade transferente tenha uma parcela totalmente proporcional;

(b) em todos os outros casos, os itens 3.2.3 a 3.2.9 devem ser aplicados ao ativo financeiro em sua totalidade (ou ao grupo de ativos financeiros similares em sua totalidade). Por exemplo, quando a entidade transferir (i) os direitos aos primeiros ou aos últimos 90% dos recebimentos de caixa do ativo financeiro (ou grupo de ativos financeiros), ou (ii) o direito a 90% dos fluxos de caixa de grupo de contas a receber, mas fornecer uma garantia para compensar o comprador por quaisquer perdas de crédito de até 8% do valor do principal das contas a receber, os itens 3.2.3 a 3.2.9 devem ser aplicados ao ativo financeiro (ou a grupo de ativos financeiros similares) em sua totalidade.

Nos itens 3.2.3 a 3.2.12, a expressão "ativo financeiro" refere-se a uma parte do ativo financeiro (ou a uma parte de grupo de ativos financeiros similares), conforme identificado na alínea (a) acima ou, de outro modo, a um ativo financeiro (ou grupo de ativos financeiros similares) em sua totalidade.

3.2.3 A entidade deve desreconhecer o ativo financeiro quando, e apenas quando:

(a) os direitos contratuais aos fluxos de caixa do ativo financeiro expirarem; ou

(b) transferir o ativo financeiro, conforme definido nos itens 3.2.4 e 3.2.5, e a transferência se qualificar para desreconhecimento, de acordo com o item 3.2.6.

(Ver item 3.1.2 para vendas de forma regular de ativos financeiros).

3.2.4 A entidade deve transferir o ativo financeiro se, e apenas se:

(a) transferir os direitos contratuais de receber fluxos de caixa do ativo financeiro; ou

(b) retiver os direitos contratuais de receber fluxos de caixa do ativo financeiro, mas assumir a obrigação contratual de pagar os fluxos de caixa a um ou mais recebedores em acordo que atenda às condições do item 3.2.5.

3.2.5 Quando a entidade retiver os direitos contratuais de receber fluxos de caixa do ativo financeiro ("ativo original"), mas assumir a obrigação contratual de pagar esses fluxos de caixa a uma ou mais entidades (eventuais recebedores), ela deve tratar a transação como transferência do ativo financeiro se, e apenas se, todas as três condições a seguir forem atendidas:

(a) a entidade não tem obrigação de pagar valores a eventuais recebedores, exceto se cobrar valores equivalentes ao do ativo original. Os adiantamentos em curto prazo por parte da entidade, com direito à recuperação total do valor emprestado, mais juros acumulados a taxas de mercado não violam essa condição;

(b) a entidade está proibida, pelos termos do contrato de transferência, de vender ou oferecer em garantia o ativo original, exceto como garantia a eventuais recebedores pela obrigação de lhes pagar fluxos de caixa;

(c) a entidade tem a obrigação de remeter quaisquer fluxos de caixa que cobrar em nome de eventuais recebedores, sem atraso relevante. Além disso, a entidade não tem o direito de reinvestir esses fluxos de caixa, com exceção de investimentos em caixa ou equivalentes de caixa (como definido no CPC 03 - Demonstração dos Fluxos de Caixa) durante o curto período de liquidação, desde a data de recebimento até a data requerida de remessa aos eventuais recebedores, e os juros auferidos sobre esses investimentos devem ser repassados aos eventuais recebedores.

3.2.6 Quando a entidade transferir o ativo financeiro (ver item 3.2.4), ela deve avaliar até que ponto retém os riscos e benefícios da propriedade do ativo financeiro. Nesse caso:

(a) se a entidade transferir, substancialmente, todos os riscos e benefícios da propriedade do ativo financeiro, ela deve desreconhecer o ativo financeiro e reconhecer separadamente como ativos ou passivos quaisquer direitos e obrigações criados ou retidos na transferência;

(b) se a entidade retiver substancialmente todos os riscos e benefícios da propriedade do ativo financeiro, ela deve continuar a reconhecer o ativo financeiro;

(c) se a entidade não transferir nem retiver substancialmente todos os riscos e benefícios da propriedade do ativo financeiro, ela deve determinar se reteve o controle do ativo financeiro. Nesse caso:

(i) se a entidade não tiver retido o controle, ela deve desreconhecer o ativo financeiro e reconhecer separadamente como ativos ou passivos quaisquer direitos ou obrigações criados ou retidos na transferência;

(ii) se a entidade tiver retido o controle, ela deve continuar a reconhecer o ativo financeiro, na medida de seu envolvimento contínuo no ativo financeiro (ver item 3.2.16).

3.2.7 A transferência dos riscos e benefícios (ver item 3.2.6) deve ser avaliada, comparando-se a exposição da entidade, antes e após a transferência, com a variabilidade nos valores e época dos fluxos de caixa líquidos do ativo transferido. A entidade reteve, substancialmente, todos os riscos e benefícios da propriedade do ativo financeiro se sua exposição à variabilidade no valor presente dos fluxos de caixa líquidos futuros do ativo financeiro não mudar significativamente como resultado da transferência (por exemplo, pelo fato de a entidade ter vendido um ativo financeiro sujeito a um contrato para recomprá-lo por preço fixo ou por preço de venda mais o retorno de juros). A entidade transferiu substancialmente todos os riscos e benefícios da propriedade do ativo financeiro se sua exposição a essa variabilidade deixar de ser significativa em relação à variabilidade total no valor presente dos fluxos de caixa líquidos futuros associados ao ativo financeiro (por exemplo, pelo fato de a entidade ter vendido um ativo financeiro sujeito apenas à opção de recomprá-lo pelo seu valor justo no momento da recompra ou ter transferido uma parcela totalmente proporcional dos fluxos de caixa do ativo financeiro maior em acordo, como, por exemplo, uma subparticipação em empréstimo que atenda às condições do item 3.2.5).

3.2.8 Frequentemente, é óbvio que a entidade transfira ou retenha substancialmente todos os riscos e benefícios da propriedade e não haja necessidade de realizar nenhum cálculo. Em outros casos, é necessário calcular e comparar a exposição da entidade à variabilidade no valor presente dos fluxos de caixa líquidos futuros antes e após a transferência. O cálculo e a comparação devem ser feitos, usando-se como taxa de desconto uma taxa de juros de mercado corrente apropriada. Toda a variabilidade razoavelmente possível nos fluxos de caixa líquidos deve ser considerada, sendo dado maior peso àqueles resultados cuja ocorrência seja mais provável.

3.2.9 O fato de a entidade ter retido, ou não, o controle (ver item 3.2.6 (c)) do ativo transferido depende da capacidade do cessionário de vender o ativo. Se o cessionário tiver a capacidade prática de vender o ativo em sua totalidade a um terceiro não relacionado e for capaz de exercer essa capacidade unilateralmente e sem precisar impor restrições adicionais sobre a transferência, a entidade não reteve o controle. Em todos os outros casos, a entidade reteve o controle.

Transferência que se qualifica para desreconhecimento

3.2.10 Se a entidade transferir o ativo financeiro em uma transferência que se qualifica para desreconhecimento em sua totalidade e retiver o direito de prestar serviço de cobrança do ativo financeiro em troca de comissão, ela deve reconhecer um ativo ou um passivo pelo serviço de cobrança em relação a esse contrato de serviço. Se não se espera que a comissão a ser recebida remunere adequadamente a entidade pela prestação do serviço de cobrança, um passivo pela obrigação de serviço de cobrança deve ser reconhecido ao seu valor justo. Se for esperado que a comissão a ser recebida seja uma remuneração mais que adequada pelo serviço de cobrança, o ativo de serviço de cobrança deve ser reconhecido para o direito de serviço de cobrança pelo valor determinado, com base na alocação do valor contábil do ativo financeiro maior, de acordo com o item 3.2.13.

3.2.11 Se, como resultado da transferência, o ativo financeiro for desreconhecido em sua totalidade, mas a transferência resultar na obtenção pela entidade de novo ativo financeiro ou na assunção de novo passivo financeiro, ou de passivo de serviço de cobrança, a entidade deve reconhecer o novo ativo financeiro, passivo financeiro ou passivo de serviço de cobrança ao valor justo.

3.2.12 Ao desreconhecer o ativo financeiro em sua totalidade, a diferença entre:

(a) o valor contábil (mensurado na data do desreconhecimento); e

(b) a contraprestação recebida (incluindo qualquer novo ativo obtido menos qualquer novo passivo assumido);

deve ser reconhecida no resultado.

3.2.13 Se o ativo transferido fizer parte de ativo financeiro maior (por exemplo, quando a entidade transferir fluxos de caixa de juros que sejam parte de instrumento de dívida, ver item 3.2.2 (a)) e a parte transferida se qualificar para desreconhecimento em sua totalidade, o valor contábil anterior do ativo financeiro maior deve ser alocado entre a parte que continua a ser reconhecida e a parte que é desreconhecida, com base nos valores justos relativos dessas partes na data da transferência. Para essa finalidade, o ativo de serviço de cobrança retido deve ser tratado como parte que continua a ser reconhecida. A diferença entre:

(a) o valor contábil (mensurado na data do desreconhecimento) alocado à parte desreconhecida; e

(b) a contraprestação recebida pela parte desreconhecida (incluindo qualquer novo ativo obtido menos qualquer novo passivo assumido);

deve ser reconhecida no resultado.

3.2.14 Quando a entidade alocar o valor contábil anterior de ativo financeiro maior entre a parte que continua a ser reconhecida e a parte que é desreconhecida, o valor justo da parte que continua a ser reconhecida deve ser mensurado. Quando a entidade tem histórico de vendas de partes similares à parte que continua a ser reconhecida ou houver outras transações de mercado para essas partes, os preços recentes das transações reais fornecem a melhor estimativa de seu valor justo. Quando não houver cotações de preço ou transações de mercado recentes para suportar o valor justo da parte que continua a ser reconhecida, a melhor estimativa do valor justo é a diferença entre o valor justo do ativo financeiro maior e a contraprestação recebida do cessionário pela parte que é desreconhecida.

Transferência que não se qualifica para desreconhecimento

3.2.15 Se a transferência não resultar em desreconhecimento, porque a entidade reteve substancialmente todos os riscos e benefícios da propriedade do ativo transferido, a entidade deve continuar a reconhecer o ativo transferido em sua totalidade e deve reconhecer o passivo financeiro pela contraprestação recebida. Em períodos subsequentes, a entidade deve reconhecer qualquer receita proveniente do ativo transferido e qualquer despesa incorrida com o passivo financeiro.

Envolvimento contínuo em ativos transferidos

3.2.16 Se a entidade não transferir nem retiver substancialmente todos os riscos e benefícios da propriedade do ativo transferido e retiver o controle do ativo transferido, ela deve continuar a reconhecer o ativo transferido na medida de seu envolvimento contínuo. A extensão do envolvimento contínuo da entidade no ativo transferido é a extensão em que ela está exposta a alterações no valor do ativo transferido. Por exemplo:

(a) quando o envolvimento contínuo da entidade tomar a forma de garantia do ativo transferido, a extensão do envolvimento contínuo da entidade é o menor valor entre (i) o valor do ativo e (ii) o valor máximo da contraprestação recebida que a entidade pode ser obrigada a restituir ("valor da garantia");

(b) quando o envolvimento contínuo da entidade tomar a forma de opção lançada ou comprada (ou ambas) sobre o ativo transferido, a extensão do envolvimento contínuo da entidade é o valor do ativo transferido que a entidade pode recomprar.

Entretanto, no caso de opção lançada sobre um ativo que seja mensurado ao valor justo, a extensão do envolvimento contínuo da entidade está limitada ao que for menor entre o valor justo do ativo transferido e o preço de exercício da opção (ver item B3.2.13);

(c) quando o envolvimento contínuo da entidade tomar a forma de opção com liquidação pelo valor à vista ou forma similar sobre o ativo transferido, a extensão do envolvimento contínuo da entidade deve ser mensurada da mesma forma que aquela que resulta de opções não liquidáveis à vista, conforme definido na alínea (b) acima.

3.2.17 Quando a entidade continuar a reconhecer o ativo na medida de seu envolvimento contínuo, ela deve também reconhecer o respectivo passivo.

Independentemente dos outros requisitos de mensuração deste pronunciamento, o ativo transferido e o respectivo passivo devem ser mensurados em base que reflita os direitos e as obrigações que a entidade reteve. O respectivo passivo deve ser mensurado de tal forma que o valor contábil líquido do ativo transferido e do respectivo passivo seja:

(a) o custo amortizado dos direitos e obrigações retidos pela entidade, se o ativo transferido for mensurado ao custo amortizado; ou

(b) igual ao valor justo dos direitos e obrigações retidos pela entidade, quando mensurado de forma individual, caso o ativo transferido seja mensurado ao valor justo.

3.2.18 A entidade deve continuar a reconhecer qualquer receita proveniente do ativo transferido na medida do seu envolvimento contínuo e deve reconhecer qualquer despesa incorrida com o respectivo passivo.

3.2.19 Para fins de mensuração subsequente, as alterações reconhecidas no valor justo do ativo transferido e do respectivo passivo devem ser contabilizadas de forma consistente uma com a outra, de acordo com o item 5.7.1, e não devem ser compensadas.

3.2.20 Se o envolvimento contínuo da entidade estiver apenas em uma parte do ativo financeiro (por exemplo, quando a entidade retém a opção para recomprar parte do ativo transferido, ou retém participação residual que não resulta na retenção de substancialmente todos os riscos e benefícios da propriedade e a entidade retém o controle), a entidade deve alocar o valor contábil anterior do ativo financeiro entre a parte que continua a reconhecer de acordo com o seu envolvimento contínuo e a parte que deixa de reconhecer com base nos valores justos relativos dessas partes na data da transferência. Para essa finalidade, os requisitos descritos no item 3.2.14 devem ser aplicados. A diferença entre:

(a) o valor contábil (mensurado na data do desreconhecimento) alocado à parte que deixa de ser reconhecida; e

(b) a contraprestação recebida pela parte que deixa de ser reconhecida; deve ser reconhecida no resultado.

3.2.21 Se o ativo transferido for mensurado ao custo amortizado, a opção deste pronunciamento de designar o passivo financeiro como ao valor justo por meio do resultado não é aplicável ao respectivo passivo.

Todas as transferências

3.2.22 Se o ativo transferido continuar a ser reconhecido, o ativo e o respectivo passivo não devem ser compensados. De forma similar, a entidade não deve compensar nenhuma receita proveniente do ativo transferido com nenhuma despesa incorrida com o respectivo passivo (ver item 42 do CPC 39).

3.2.23 Se o cedente fornecer garantia não monetária (tais como instrumento de dívida ou instrumento patrimonial) ao cessionário, a contabilização da garantia pelo cedente e pelo cessionário depende do fato de o cessionário ter, ou não, o direito de vender ou oferecer novamente a garantia e do fato de o cedente estar, ou não, em inadimplência. O cedente e o cessionário devem contabilizar a garantia da seguinte forma:

(a) se o cessionário tiver o direito por contrato ou praxe de vender ou oferecer novamente a garantia, então o cedente deve reclassificar esse ativo em seu balanço patrimonial (por exemplo, como ativo emprestado, instrumento patrimonial oferecido em garantia ou recebível por compra) separadamente de outros ativos;

(b) se o cessionário vender a garantia oferecida a ele, ele deve reconhecer o valor da venda e o passivo mensurado ao valor justo pela sua obrigação de devolver a garantia;

(c) se o cedente estiver em inadimplência de acordo com os termos do contrato e deixar de ter direito de resgatar a garantia, ele deve desreconhecer a garantia, e o cessionário deve reconhecer a garantia como seu ativo inicialmente mensurado ao valor justo ou, se já tiver vendido a garantia, deve desreconhecer sua obrigação de devolver a garantia;

(d) exceto conforme previsto na alínea (c), o cedente deve continuar a reconhecer a garantia como seu ativo e o cessionário não deve reconhecer a garantia como ativo.

3.3 Desreconhecimento de passivo financeiro

3.3.1 A entidade deve baixar o passivo financeiro (ou parte do passivo financeiro) de seu balanço patrimonial quando, e apenas quando, ele for extinto, ou seja, quando a obrigação especificada no contrato for liquidada, cancelada ou expirar.

3.3.2 A troca entre o mutuário e o credor de instrumentos de dívida com termos substancialmente diferentes deve ser contabilizada como extinção do passivo financeiro original e como reconhecimento de novo passivo financeiro. De forma similar, a modificação substancial dos termos do passivo financeiro existente ou parte dele (atribuível, ou não, à dificuldade financeira do devedor) deve ser contabilizada como extinção do passivo financeiro original e o reconhecimento de novo passivo financeiro.

3.3.3 A diferença entre o valor contábil do passivo financeiro (ou parte do passivo financeiro) extinto ou transferido à outra parte e a contraprestação paga, incluindo quaisquer ativos não monetários transferidos ou passivos assumidos, deve ser reconhecida no resultado.

3.3.4 Se a entidade recomprar parte do passivo financeiro, ela deve alocar o valor contábil anterior do passivo financeiro entre a parte que continua a ser reconhecida e a parte que é desreconhecida com base nos valores justos relativos dessas partes na data da recompra. A diferença entre (a) o valor contábil alocado à parte desreconhecida e (b) a contraprestação paga, incluindo quaisquer ativos não monetários transferidos ou passivos assumidos, pela parte desreconhecida, deve ser reconhecida no resultado.

CAPÍTULO 4

CLASSIFICAÇÃO

4.1 Classificação de ativo financeiro

4.1.1 A menos que o item 4.1.5 seja aplicável, a entidade deve classificar ativos financeiros como subsequentemente mensurados ao custo amortizado, ao valor justo por meio de outros resultados abrangentes ou ao valor justo por meio do resultado com base tanto:

(a) no modelo de negócios da entidade para a gestão dos ativos financeiros; quanto

(b) nas características de fluxo de caixa contratual do ativo financeiro.

4.1.2 O ativo financeiro deve ser mensurado ao custo amortizado se ambas as seguintes condições forem atendidas:

(a) o ativo financeiro for mantido dentro de modelo de negócios cujo objetivo seja manter ativos financeiros com o fim de receber fluxos de caixa contratuais; e

(b) os termos contratuais do ativo financeiro derem origem, em datas especificadas, a fluxos de caixa que constituam, exclusivamente, pagamentos de principal e juros sobre o valor do principal em aberto.

Os itens B4.1.1 a B4.1.26 fornecem orientação sobre como aplicar essas condições.

4.1.2 A O ativo financeiro deve ser mensurado ao valor justo por meio de outros resultados abrangentes se ambas as seguintes condições forem atendidas:

(a) o ativo financeiro for mantido dentro de modelo de negócios cujo objetivo seja atingido tanto pelo recebimento de fluxos de caixa contratuais quanto pela venda de ativos financeiros; e

(b) os termos contratuais do ativo financeiro derem origem, em datas especificadas, a fluxos de caixa que constituam exclusivamente pagamentos de principal e juros sobre o valor do principal em aberto.

Os itens B4.1.1 a B4.1.26 fornecem orientação sobre como aplicar essas condições.

4.1.3 Para a finalidade de aplicar os itens 4.1.2 (b) e 4.1.2A(b):

(a) principal é o valor justo do ativo financeiro no reconhecimento inicial. O item B4.1.7B fornece orientação adicional sobre o significado de principal;

(b) juros consistem de contraprestação pelo valor do dinheiro no tempo, pelo risco de crédito associado ao valor do principal em aberto durante período de tempo específico e por outros riscos e custos básicos de empréstimo, bem como a margem de lucro. Os itens B4.1.7A e B4.1.9A a B4.1.9E fornecem orientação adicional sobre o significado de juros, incluindo o significado do valor do dinheiro no tempo.

4.1.4 O ativo financeiro deve ser mensurado ao valor justo por meio do resultado, a menos que seja mensurado ao custo amortizado de acordo com o item 4.1.2 ou ao valor justo por meio de outros resultados abrangentes de acordo com o item 4.1.2A.

Entretanto, a entidade pode efetuar uma escolha irrevogável no reconhecimento inicial para investimentos específicos em instrumento patrimonial, que de outro modo seriam mensurados ao valor justo por meio do resultado, de apresentar alterações subsequentes no valor justo em outros resultados abrangentes (ver itens 5.7.5 e 5.7.6).

Opção de designar ativo financeiro como ao valor justo por meio do resultado

4.1.5 Não obstante os itens 4.1.1 a 4.1.4, a entidade pode, no reconhecimento inicial, designar de modo irrevogável o ativo financeiro como mensurado ao valor justo por meio do resultado se, ao fazê-lo, puder eliminar ou reduzir significativamente uma inconsistência de mensuração ou de reconhecimento (algumas vezes referida como "descasamento contábil") que, de outro modo, pode resultar da mensuração de ativos ou passivos ou do reconhecimento de ganhos e perdas nesses ativos e passivos em bases diferentes (ver itens B4.1.29 a B4.1.32).

4.2 Classificação de passivo financeiro

4.2.1 A entidade deve classificar todos os passivos financeiros como mensurados subsequentemente ao custo amortizado, exceto por:

(a) passivos financeiros ao valor justo por meio do resultado. Esses passivos, incluindo derivativos que sejam passivos, devem ser mensurados subsequentemente ao valor justo;

(b) passivos financeiros que surjam quando a transferência do ativo financeiro não se qualificar para desreconhecimento ou quando a abordagem do envolvimento contínuo for aplicável. Os itens 3.2.15 e 3.2.17 devem ser aplicados à mensuração desses passivos financeiros;

(c) contratos de garantia financeira. Após o reconhecimento inicial, o emitente desse contrato (exceto se o item 4.2.1 (a) ou (b) for aplicável) deve mensurá-lo subsequentemente pelo maior valor entre:

(i) o valor da provisão para perdas, determinado de acordo com a Seção 5.5;e

(ii) o valor inicialmente reconhecido (ver item 5.1.1) menos, se apropriado, o valor acumulado da receita reconhecido de acordo com os princípios do CPC 47;

(d) compromissos de conceder empréstimo com taxa de juros abaixo do mercado. O emitente desse compromisso (exceto se o item 4.2.1 (a) for aplicável) deve mensurá-lo subsequentemente pelo maior valor entre:

(i) o valor da provisão para perdas, determinado de acordo com a Seção 5.5; e

(ii) o valor inicialmente reconhecido (ver item 5.1.1) menos, se apropriado, o valor acumulado da receita reconhecido de acordo com os princípios do CPC 47;

(e) a contraprestação contingente reconhecida por adquirente em combinação de negócios à qual deve ser aplicado o CPC 15. Essa contraprestação contingente deve ser mensurada subsequentemente ao valor justo com as alterações reconhecidas no resultado.

Opção de designar passivo financeiro como ao valor justo por meio do resultado

4.2.2 A entidade pode, no reconhecimento inicial, designar de modo irrevogável o passivo financeiro como mensurado ao valor justo por meio do resultado se for permitido pelo item 4.3.5, ou quando, ao fazê-lo, isso resultar em informações mais pertinentes, porque:

(a) elimina ou reduz significativamente uma inconsistência de mensuração ou reconhecimento (algumas vezes denominada como "descasamento contábil") que ocorreria em virtude da mensuração de ativos ou passivos ou do reconhecimento de seus ganhos e perdas em bases diferentes (ver itens B4.1.29 a B4.1.32); ou

(b) um grupo de passivos financeiros ou ativos financeiros e passivos financeiros é administrado e seu desempenho é avaliado com base no valor justo, de acordo com uma estratégia documentada de gerenciamento de risco ou de investimento, e informações sobre o grupo são fornecidas internamente nessa base ao pessoal-chave da administração da entidade (como definido no CPC 05 - Divulgação sobre Partes Relacionadas), por exemplo, o conselho de administração e o presidente da entidade (ver itens B4.1.33 a B4.1.36).

4.3 Derivativo embutido

4.3.1 Derivativo embutido é um componente de contrato híbrido que inclui também um componente principal não derivativo, com o efeito de que parte dos fluxos de caixa do instrumento combinado varia de forma similar ao derivativo individual. O derivativo embutido faz com que a totalidade ou parte dos fluxos de caixa, que seria, de outro modo, exigido pelo contrato, seja modificada de acordo com determinada taxa de juros, preço de instrumento financeiro, preço de commodity, taxa de câmbio, índice de preços ou taxas, classificação ou índice de crédito ou outra variável, desde que, no caso de variável não financeira, essa variável não seja específica a uma das partes do contrato. O derivativo que esteja vinculado ao instrumento financeiro, mas que possa ser contratualmente transferido independentemente desse instrumento, ou que possua contraparte diferente, não é derivativo embutido, mas instrumento financeiro separado.

Contratos híbridos com contratos principais de ativos financeiros

4.3.2 Se o contrato híbrido contiver um componente principal que seja um ativo dentro do alcance deste pronunciamento, a entidade deve aplicar os requisitos dos itens 4.1.1 a 4.1.5 ao contrato híbrido como um todo.

Outros contratos híbridos

4.3.3 Se o contrato híbrido contiver um componente principal que não seja um ativo dentro do alcance deste pronunciamento, o derivativo embutido deve ser separado do componente principal e contabilizado como derivativo de acordo com este pronunciamento se, e somente se:

(a) as características e os riscos econômicos do derivativo embutido não estiverem estritamente relacionados às características e riscos econômicos do contrato principal (ver itens B4.3.5 e B4.3.8);

(b) o instrumento separado, com os mesmos termos que o derivativo embutido, atender à definição de derivativo; e

(c) o contrato híbrido não for mensurado ao valor justo, com as alterações no valor justo reconhecidas no resultado (ou seja, o derivativo que esteja embutido em passivo financeiro ao valor justo por meio do resultado não seja separado).

4.3.4 Se o derivativo embutido for separado, o contrato principal deve ser contabilizado de acordo com os pronunciamentos apropriados. Este pronunciamento não aborda se o derivativo embutido deve ser apresentado separadamente no balanço patrimonial.

4.3.5 Apesar dos itens 4.3.3 e 4.3.4, se o contrato contiver um ou mais derivativos embutidos e o componente principal não for um ativo dentro do alcance deste pronunciamento, a entidade pode designar todo o contrato híbrido como ao valor justo por meio do resultado, salvo se:

(a) o derivativo embutido não modificar significativamente os fluxos de caixa que de outra forma são exigidos pelo contrato; ou

(b) ficar claro com pouca ou nenhuma análise, quando um instrumento híbrido similar for considerado pela primeira vez, que é proibida a separação do derivativo embutido, como, por exemplo, a opção de pagamento antecipado embutida em empréstimo que permita que o titular pré-pague o empréstimo por aproximadamente seu custo amortizado.

4.3.6 Se a entidade for obrigada por este pronunciamento a separar o derivativo embutido de seu contrato principal, mas for incapaz de mensurar o derivativo embutido separadamente na aquisição ou no final de período subsequente da demonstração contábil, ela deve designar todo o contrato híbrido como ao valor justo por meio do resultado.

4.3.7 Se a entidade não puder mensurar de forma confiável o valor justo de derivativo embutido, com base em seus termos e condições, o valor justo do derivativo embutido será a diferença entre o valor justo do contrato híbrido e o valor justo do contrato principal. Se a entidade não puder mensurar o valor justo do derivativo embutido utilizando esse método, o item 4.3.6 deve ser aplicado e o contrato híbrido deve ser designado como ao valor justo por meio do resultado.

4.4 Reclassificação

4.4.1 Quando, e somente quando, a entidade mudar seu modelo de negócios para a gestão de ativos financeiros, deve reclassificar todos os ativos financeiros afetados de acordo com os itens 4.1.1 a 4.1.4. Ver itens 5.6.1 a 5.6.7, B4.4.1 a B4.4.3, B5.6.1 e B5.6.2 para orientação adicional sobre reclassificação de ativos financeiros.

4.4.2 A entidade não deve reclassificar qualquer passivo financeiro.

4.4.3 As seguintes alterações nas circunstâncias não constituem reclassificações para as finalidades dos itens 4.4.1 e 4.4.2:

(a) o item que era anteriormente instrumento de hedge designado e efetivo no hedge de fluxo de caixa ou hedge de investimento líquido não mais se qualifica como tal;

(b) o item se torna instrumento de hedge designado e efetivo no hedge de fluxo de caixa ou hedge de investimento líquido; e

(c) alterações na mensuração de acordo com a Seção 6.7.

CAPÍTULO 5

MENSURAÇÃO

5.1 Mensuração inicial

5.1.1 Exceto por contas a receber dentro do alcance do item 5.1.3, no reconhecimento inicial, a entidade deve mensurar o ativo financeiro ou o passivo financeiro ao seu valor justo, mais ou menos, no caso de ativo financeiro ou passivo financeiro que não seja ao valor justo por meio do resultado, os custos de transação que sejam diretamente atribuíveis à aquisição ou à emissão do ativo financeiro ou passivo financeiro.

5.1.1A Contudo, se o valor justo do ativo financeiro ou passivo financeiro no reconhecimento inicial diferir do preço da transação, a entidade deve aplicar o item B5.1.2A.

5.1.2 Quando a entidade utilizar a data de liquidação para contabilização do ativo que seja subsequentemente mensurado ao custo amortizado, o ativo deve ser reconhecido inicialmente ao seu valor justo na data de negociação (ver itens B3.1.3 a B3.1.6).

5.1.3 Apesar do requisito no item 5.1.1, no reconhecimento inicial, a entidade deve mensurar contas a receber de clientes ao seu preço de transação (conforme definido no CPC 47), se as contas a receber de clientes não contiverem componente de financiamento significativo de acordo com o CPC 47 (ou quanto a entidade aplicar o expediente prático de acordo com o item 63 do CPC 47).

5.2 Mensuração subsequente de ativo financeiro

5.2.1 Após o reconhecimento inicial, a entidade deve mensurar o ativo financeiro de acordo com os itens 4.1.1 a 4.1.5:

(a) ao custo amortizado;

(b) ao valor justo por meio de outros resultados abrangentes; ou

(c) ao valor justo por meio do resultado.

5.2.2 A entidade deve aplicar os requisitos de redução ao valor recuperável na Seção 5.5 a ativos financeiros mensurados ao custo amortizado de acordo com o item 4.1.2 e a ativos financeiros mensurados ao valor justo por meio de outros resultados abrangentes de acordo com o item 4.1.2A.

5.2.3 A entidade deve aplicar os requisitos de contabilização de hedge dos itens 6.5.8 a 6.5.14 (e, se aplicável, os itens 89 a 94 do CPC 38 - Instrumentos Financeiros: Reconhecimento e Mensuração para a contabilização de cobertura de valor justo para uma cobertura de carteira de risco de taxa de juros) ao ativo financeiro que seja designado como item protegido.

5.3 Mensuração subsequente de passivo financeiro

5.3.1 Após o reconhecimento inicial, a entidade deve mensurar o passivo financeiro de acordo com os itens 4.2.1 e 4.2.2.

5.3.2 A entidade deve aplicar os requisitos de contabilização de hedge dos itens 6.5.8 a 6.5.14 (e, se aplicável, os itens 89 a 94 do CPC 38 para a contabilização de cobertura de valor justo para uma cobertura de carteira de risco de taxa de juros) ao passivo financeiro que seja designado como item protegido.

5.4 Mensuração ao custo amortizado

Ativo financeiro

Método de juros efetivos

5.4.1 A receita de juros deve ser calculada, utilizando-se o método de juros efetivos (ver Apêndice A e itens B5.4.1 a B5.4.7). Isso deve ser calculado aplicando-se a taxa de juros efetiva ao valor contábil bruto do ativo financeiro, exceto por:(a) ativos financeiros comprados ou concedidos com problemas de recuperação de crédito. Para esses ativos financeiros, a entidade deve aplicar a taxa de juros efetiva ajustada ao crédito ao custo amortizado do ativo financeiro desde o reconhecimento inicial;(b) ativos financeiros que não são comprados ou concedidos com problemas de recuperação de crédito, mas que, posteriormente, se tornaram ativos financeiros com problemas de recuperação de crédito. Para esses ativos financeiros, a entidade deve aplicar a taxa de juros efetiva ao custo amortizado do ativo financeiro em períodos de relatório contábil subsequentes.

5.4.2 A entidade que, no período de relatório contábil, calcular a receita de juros aplicando o método de juros efetivos ao custo amortizado de ativo financeiro de acordo com o item 5.4.1 (b) deve calcular, em períodos de relatório subsequentes, a receita de juros aplicando a taxa de juros efetiva ao valor contábil bruto se o risco de crédito do instrumento financeiro melhorar de modo que o ativo financeiro não apresente mais problemas de recuperação de crédito e a melhoria possa estar objetivamente relacionada a evento que ocorra depois que os requisitos do item 5.4.1 (b) foram aplicados (tais como, melhora na classificação de crédito do mutuário).

Modificação de fluxo de caixa contratual

5.4.3 Quando os fluxos de caixa contratuais de ativo financeiro forem renegociados ou de outro modo modificados e a renegociação ou modificação não resulta no desreconhecimento desse ativo financeiro de acordo com este pronunciamento, a entidade deve recalcular o valor contábil bruto do ativo financeiro e reconhecer o ganho ou a perda na modificação no resultado. O valor contábil bruto do ativo financeiro deve ser recalculado como o valor presente dos fluxos de caixa contratuais renegociados ou modificados que são descontados pela taxa de juros efetiva original do ativo financeiro (ou taxa de juros efetiva ajustada ao crédito para ativos financeiros comprados ou concedidos com problemas de recuperação de crédito) ou, quando aplicável, pela taxa de juros efetiva revisada calculada de acordo com o item 6.5.10. Quaisquer custos ou taxas incorridos devem ajustar o valor contábil do ativo financeiro modificado e devem ser amortizados ao longo do prazo restante do ativo financeiro modificado.

Baixa

5.4.4 A entidade deve reduzir diretamente o valor contábil bruto de ativo financeiro quando a entidade não tiver expectativas razoáveis de recuperar o ativo financeiro em sua totalidade ou parte dele. A baixa constitui evento de desreconhecimento dos registros contábeis (ver item B3.2.16 (r)).

Mudanças na base para determinar os fluxos de caixa contratuais como resultado da Reforma da Taxa de Juros de Referência

5.4.5. A entidade deve aplicar os itens 5.4.6 a 5.4.9 a um ativo financeiro ou passivo financeiro se, e somente se, a base para determinar os fluxos de caixa contratuais do ativo financeiro ou passivo financeiro muda como resultado da reforma da taxa de juros de referência. Para este efeito, o termo "Reforma da Taxa de Juros de Referência" referese à reforma em todo o mercado de uma taxa de juros de referência como descrito no item 6.8.2.

5.4.6. A base para determinar os fluxos de caixa contratuais de um ativo financeiro ou passivo financeiro pode mudar:

(a) alterando os termos contratuais especificados no reconhecimento inicial do instrumento financeiro (por exemplo, os termos contratuais são alterados para substituir a referência de taxa de juros por uma taxa de referência alternativa);

(b) de uma forma que não foi considerada por (ou contemplada em) termos contratuais no reconhecimento inicial do instrumento financeiro, sem alterar os termos contratuais (por exemplo, o método para cálculo da taxa de juros de referência é alterado sem alterar os termos contratuais); ou

(c) por causa do acionamento de um termo contratual existente (por exemplo, uma cláusula de salvaguarda (fallback) existente é acionada).

5.4.7. Como um expediente prático, a entidade deve aplicar o item B5.4.5 para contabilizar uma mudança na base para determinar os fluxos de caixa contratuais de um ativo ou passivo financeiro que é exigido pela Reforma da Taxa de Juros de Referência. Este expediente prático se aplica apenas a tais mudanças e apenas na medida em que a mudança é exigida pela Reforma da Taxa de Juros de Referência (ver também item 5.4.9). Para tanto, uma mudança na base de determinação dos fluxos de caixa contratuais é exigida pela Reforma da Taxa de Juros de Referência se, e somente se, ambas as condições forem atendidas:

(a) a mudança é necessária como consequência direta da reforma da taxa de juros de referência; e

(b) a nova base para determinar os fluxos de caixa contratuais é economicamente equivalente à base anterior (ou seja, a base imediatamente antes da mudança).

5.4.8. Exemplos de mudanças que dão origem a uma nova base para determinar fluxos de caixa contratuais que são economicamente equivalentes à base anterior (ou seja, a base imediatamente anterior à mudança) são:

(a) a substituição de um referencial de taxa de juros existente usado para determinar os fluxos de caixa contratuais de um ativo financeiro ou passivo financeiro com uma taxa de referência alternativa - ou a implementação de tal reforma da taxa de juros de referência, alterando o método usado para calcular o referencial da taxa de juros - com a adição de um spread fixo necessário para compensar a diferença de base entre a referência de taxa de juros existente e a referência alternativa taxa;

(b) mudanças no período de redefinição (reset), datas de redefinição (reset) ou o número de dias entre datas de pagamento de cupom, a fim de implementar a reforma da taxa de juros de referência; e

(c) a adição de uma cláusula de contingência aos termos contratuais de um ativo financeiro ou passivo financeiro para permitir qualquer mudança descrita em (a) e (b) acima a serem implementadas.

5.4.9. Se forem feitas alterações em um ativo financeiro ou passivo financeiro, além de mudanças na base para determinar os fluxos de caixa contratuais exigidos pela reforma da taxa de juros de referência, a entidade deve primeiro aplicar o expediente prático do item 5.4.7 para as mudanças exigidas pela reforma da taxa de juros de referência. A entidade deve então aplicar os requisitos aplicáveis neste Pronunciamento para quaisquer alterações adicionais às quais o expediente prático não se aplica. Se a mudança adicional não resultar no desreconhecimento do ativo financeiro ou passivo financeiro, a entidade deve aplicar o item 5.4.3 ou item B5.4.6, conforme aplicável, para contabilizar essa alteração adicional. Se a mudança adicional resulta no desreconhecimento do ativo financeiro ou passivo financeiro, a entidade deve aplicar os requisitos de desreconhecimento.

5.5 Redução ao valor recuperável

Reconhecimento de perda de crédito esperada

Abordagem geral

5.5.1 A entidade deve reconhecer uma provisão para perdas de crédito esperadas em ativo financeiro mensurado de acordo com os itens 4.1.2 ou 4.1.2A, em recebível de arrendamento, em ativo contratual ou em compromisso de empréstimo e em contrato de garantia financeira aos quais devem ser aplicados os requisitos de redução ao valor recuperável de acordo com os itens 2.1 (g), 4.2.1 (c) ou 4.2.1 (d).

5.5.2 A entidade deve aplicar os requisitos de redução ao valor recuperável para o reconhecimento e mensuração de provisão para perdas de ativos financeiros que são mensurados ao valor justo por meio de outros resultados abrangentes, de acordo com o item 4.1.2A. Entretanto, a provisão para perdas deve ser reconhecida em outros resultados abrangentes e não deve reduzir o valor contábil do ativo financeiro no balanço patrimonial.

5.5.3 Sujeito aos itens 5.5.13 a 5.5.16, em cada data do balanço, a entidade deve mensurar a provisão para perdas de instrumento financeiro ao valor equivalente às perdas de crédito esperadas se o risco de crédito desse instrumento financeiro tiver aumentado significativamente desde o reconhecimento inicial.

5.5.4 O objetivo dos requisitos de redução ao valor recuperável é reconhecer perdas de crédito esperadas para todos os instrumentos financeiros para os quais houve aumentos significativos no risco de crédito desde o reconhecimento inicial, avaliados de forma individual ou coletiva, considerando todas as informações razoáveis e sustentáveis, incluindo informações prospectivas.

5.5.5 Sujeito aos itens 5.5.13 a 5.5.16, se, na data do balanço, o risco de crédito de instrumento financeiro não tiver aumentado, significativamente, desde o reconhecimento inicial, a entidade deve mensurar a provisão para perdas para esse instrumento financeiro ao valor equivalente às perdas de crédito esperadas para 12 meses.

5.5.6 Para compromissos de empréstimo e contratos de garantia financeira, a data em que a entidade se tornar parte do compromisso irrevogável deve ser considerada como sendo a data de reconhecimento inicial para fins de aplicação dos requisitos de redução ao valor recuperável.

5.5.7 Se a entidade tiver mensurado a provisão para perdas para instrumento financeiro ao valor equivalente às perdas de crédito esperadas no período do relatório contábil anterior, mas determinar no período do relatório atual que o item 5.5.3 não é mais atendido, a entidade deve mensurar a provisão para perdas ao valor equivalente às perdas de crédito esperadas para 12 meses na data de relatório atual.

5.5.8 A entidade deve reconhecer no resultado, como ganho ou perda na redução ao valor recuperável, o valor das perdas de crédito esperadas (ou reversão) requerido para ajustar a provisão para perdas na data de relatório ao valor que deve ser reconhecido, de acordo com este pronunciamento.

Determinação de aumento significativo no risco de crédito

5.5.9 Em cada data do balanço, a entidade deve avaliar se o risco de crédito de instrumento financeiro aumentou significativamente desde o reconhecimento inicial. Ao fazer essa avaliação, a entidade deve utilizar a alteração no risco de inadimplência que ocorre ao longo da vida esperada do instrumento financeiro, e não a alteração no valor de perdas de crédito esperadas. Para fazer essa avaliação, a entidade deve comparar o risco de inadimplência que ocorre no instrumento financeiro na data do balanço com o risco de inadimplência que ocorre no instrumento financeiro na data de reconhecimento inicial e deve considerar informações razoáveis e sustentáveis, disponíveis sem custo ou esforço excessivos, que sejam um indicativo de aumentos significativos no risco de crédito desde o reconhecimento inicial.

5.5.10 A entidade pode presumir que o risco de crédito de instrumento financeiro não aumentou significativamente desde o reconhecimento inicial se for determinado que o instrumento financeiro possui baixo risco de crédito na data do balanço (ver itens B5.5.22 a B5.5.24).

5.5.11 Se informações prospectivas razoáveis e sustentáveis estiverem disponíveis sem custo ou esforço excessivos, a entidade não pode se basear exclusivamente em informações sobre pagamentos vencidos ao determinar se o risco de crédito aumentou significativamente desde o reconhecimento inicial. Entretanto, quando as informações que são mais prospectivas do que sobre pagamentos vencidos (de forma individual ou coletiva) não estiverem disponíveis sem custo ou esforço excessivos, a entidade pode utilizar informações sobre pagamentos vencidos para determinar se houve aumentos significativos no risco de crédito desde o reconhecimento inicial.

Independentemente da forma como a entidade avalia aumentos significativos no risco de crédito, existe uma presunção refutável de que o risco de crédito de ativo financeiro aumentou significativamente desde o reconhecimento inicial quando os pagamentos contratuais estiverem vencidos há mais de 30 dias. A entidade pode refutar essa presunção se tiver informações razoáveis e sustentáveis disponíveis, sem custo ou esforço excessivos, que demonstrem que o risco de crédito não aumentou significativamente desde o reconhecimento inicial, mesmo se os pagamentos contratuais estiverem vencidos há mais de 30 dias. Quando a entidade determinar que houve aumentos significativos no risco de crédito antes que os pagamentos contratuais estejam vencidos há mais de 30 dias, a presunção refutável não deve ser aplicada.

Ativo financeiro modificado

5.5.12 Se os fluxos de caixa contratuais de ativo financeiro foram negociados ou modificados e o ativo financeiro não foi desreconhecido, a entidade deve avaliar se houve aumento significativo no risco de crédito do instrumento financeiro, de acordo com o item 5.5.3, comparando-se:

(a) o risco de inadimplência que ocorre na data do balanço (com base nos termos contratuais modificados); e

(b) o risco de inadimplência que ocorre no reconhecimento inicial (com base nos termos contratuais originais e não modificados).

Ativos financeiros comprados ou concedidos com problemas de recuperação de crédito

5.5.13 Não obstante os itens 5.5.3 e 5.5.5, na data do balanço, a entidade somente deve reconhecer as alterações cumulativas nas perdas de crédito esperadas desde o reconhecimento inicial como provisão para perdas para ativos financeiros comprados ou concedidos com problemas de recuperação de crédito.

5.5.14 Em cada data de balanço, a entidade deve reconhecer no resultado o valor da alteração nas perdas de crédito esperadas como ganho ou perda na redução ao valor recuperável. A entidade deve reconhecer alterações favoráveis nas perdas de crédito esperadas como ganho na redução ao valor recuperável, mesmo se as perdas de crédito esperadas forem inferiores ao valor das perdas de crédito esperadas incluídas nos fluxos de caixa estimados no reconhecimento inicial.

Abordagem simplificada para contas a receber de clientes, ativos contratuais e recebíveis de arrendamento

5.5.15 Não obstante os itens 5.5.3 e 5.5.5, a entidade deve sempre mensurar a provisão para perdas por valor equivalente às perdas de crédito esperadas para:

(a) contas a receber de clientes ou ativos contratuais que resultam de transações dentro do alcance do CPC 47, e que:

(i) não contêm componente de financiamento significativo de acordo com o CPC 47 (ou quando a entidade aplicar o expediente prático de acordo com o item 63 do CPC 47); ou

(ii) contêm componente de financiamento significativo de acordo com o CPC 47, se a entidade escolher, como sua política contábil, mensurar a provisão para perdas por valor equivalente às perdas de crédito esperadas. Essa política contábil deve ser aplicada a todas essas contas a receber de clientes ou ativos contratuais, mas pode ser aplicada separadamente a contas a receber de clientes e a ativos contratuais;

(b) recebíveis de arrendamento que resultam de transações dentro do alcance do CPC 06, se a entidade escolher, como sua política contábil, mensurar a provisão para perdas por valor equivalente às perdas de crédito esperadas. Essa política contábil deve ser aplicada a todos os recebíveis de arrendamento, mas pode ser aplicada separadamente a recebíveis de arrendamento operacional e financeiro.

5.5.16 A entidade pode escolher sua política contábil para contas a receber de clientes, recebíveis de arrendamento e ativos contratuais independentemente uma da outra.

Mensuração de perda de crédito esperada

5.5.17 A entidade deve mensurar as perdas de crédito esperadas de instrumento financeiro de modo que reflita:

(a) o valor imparcial e ponderado pela probabilidade que seja determinado ao avaliar um intervalo de resultados possíveis;

(b) o valor do dinheiro no tempo; e

(c) informações razoáveis e sustentáveis disponíveis, sem custo ou esforço excessivos, na data do balanço sobre eventos passados, condições atuais e previsões de condições econômicas futuras.

5.5.18 Ao mensurar as perdas de crédito esperadas, a entidade não precisa, necessariamente, identificar cada cenário possível. Entretanto, ela deve considerar o risco ou a probabilidade de que ocorra uma perda de crédito ao refletir sobre a possibilidade de que essa perda ocorra e sobre a possibilidade de que não ocorra, mesmo se a possibilidade de ocorrência de perda de crédito for muito baixa.

5.5.19 O período máximo a ser considerado ao mensurar perdas de crédito esperadas é o período contratual máximo (incluindo as opções de prorrogação) sobre o qual a entidade está exposta ao risco de crédito e, não, a um período mais longo, mesmo se esse período mais longo estiver consistente com a prática comercial.

5.5.20 Entretanto, alguns instrumentos financeiros incluem tanto um empréstimo quanto um componente de compromisso não utilizado, e a capacidade contratual da entidade de exigir reembolso e cancelar o compromisso não utilizado não limita a exposição da entidade a perdas de crédito para o período de notificação contratual. Para esses instrumentos financeiros, e somente esses, a entidade deve mensurar as perdas de crédito esperadas ao longo do período durante o qual a entidade estiver exposta ao risco de crédito e as perdas de crédito esperadas não forem mitigadas por ações de gerenciamento de risco de crédito, mesmo se esse período estender-se além do período contratual máximo.

5.6 Reclassificação de ativo financeiro

5.6.1 Se a entidade reclassificar ativos financeiros, de acordo com o item 4.4.1, ela deve aplicar a reclassificação, prospectivamente, a partir da data da reclassificação. A entidade não deve reapresentar nenhum ganho, perda (incluindo ganho ou perda por redução ao valor recuperável) ou juro reconhecido anteriormente. Os itens 5.6.2 a 5.6.7 estabelecem os requisitos para reclassificações.

5.6.2 Se a entidade reclassificar um ativo financeiro da categoria de mensuração ao custo amortizado para a categoria de mensuração ao valor justo por meio do resultado, seu valor justo deve ser mensurado na data da reclassificação. Qualquer ganho ou perda decorrente da diferença entre o custo amortizado anterior do ativo financeiro e o valor justo deve ser reconhecido no resultado.

5.6.3 Se a entidade reclassificar o ativo financeiro da categoria de mensuração ao valor justo por meio do resultado para a categoria de mensuração ao custo amortizado, seu valor justo na data da reclassificação tornar-se-á seu novo valor contábil bruto (ver item B5.6.2 para orientação sobre a determinação da taxa de juros efetiva e uma provisão para perdas na data da reclassificação).

5.6.4 Se a entidade reclassificar o ativo financeiro da categoria de mensuração ao custo amortizado para a categoria de mensuração ao valor justo por meio de outros resultados abrangentes, seu valor justo deve ser mensurado na data da reclassificação. Qualquer ganho ou perda decorrente da diferença entre o custo amortizado anterior do ativo financeiro e o valor justo deve ser reconhecido em outros resultados abrangentes. A taxa de juros efetiva e a mensuração de perdas de crédito esperadas não devem ser ajustadas em decorrência da reclassificação (ver item B5.6.1).

5.6.5 Se a entidade reclassificar o ativo financeiro da categoria de mensuração ao valor justo por meio de outros resultados abrangentes para a categoria de mensuração ao custo amortizado, o ativo financeiro deve ser reclassificado ao seu valor justo na data da reclassificação. Entretanto, o ganho ou a perda acumulada anteriormente reconhecida em outros resultados abrangentes deve ser transferido do patrimônio líquido e ajustado contra o valor justo do ativo financeiro na data da reclassificação. Como resultado, o ativo financeiro deve ser mensurado na data da reclassificação como se tivesse sempre sido mensurado ao custo amortizado. Esse ajuste afetará outros resultados abrangentes, mas não afetará o resultado e, portanto, não deve ser ajuste de reclassificação (ver CPC 26 - Apresentação das Demonstrações Contábeis). A taxa de juros efetiva e a mensuração de perdas de crédito esperadas não devem ser ajustadas como resultado da reclassificação (ver item B5.6.1).

5.6.6 Se a entidade reclassificar o ativo financeiro da categoria de mensuração ao valor justo por meio do resultado para a categoria de mensuração ao valor justo por meio de outros resultados abrangentes, o ativo financeiro deve continuar a ser mensurado ao valor justo (ver item B5.6.2 para orientação sobre a determinação da taxa de juros efetiva e a provisão para perdas na data da reclassificação).

5.6.7 Se a entidade reclassificar o ativo financeiro da categoria de mensuração ao valor justo, por meio de outros resultados abrangentes para a categoria de mensuração ao valor justo por meio do resultado o ativo financeiro deve continuar a ser mensurado ao valor justo. O ganho ou a perda acumulada, anteriormente reconhecido em outros resultados abrangentes, deve ser reclassificado do patrimônio líquido para o resultado como ajuste de reclassificação (ver CPC 26), na data da reclassificação.

5.7 Ganhos e perdas

5.7.1 O ganho ou a perda em ativo financeiro ou passivo financeiro que é mensurado ao valor justo deve ser reconhecido no resultado, exceto se:

(a) for parte de relação de proteção (ver itens 6.5.8 a 6.5.14 e, se aplicável, itens 89 a 94 do CPC 38 para a contabilização de cobertura de valor justo para uma cobertura de carteira de risco de taxa de juros);

(b) for investimento em instrumento patrimonial e a entidade tiver escolhido apresentar ganhos e perdas nesse investimento em outros resultados abrangentes, de acordo com o item 5.7.5;

(c) for passivo financeiro designado como ao valor justo, por meio do resultado, e a entidade é requerida a apresentar os efeitos das alterações no risco de crédito do passivo em outros resultados abrangentes, de acordo com o item 5.7.7; ou

(d) for ativo financeiro mensurado ao valor justo por meio de outros resultados abrangentes, de acordo com o item 4.1.2A, e a entidade for obrigada a reconhecer algumas alterações no valor justo em outros resultados abrangentes, de acordo com o item 5.7.10.

5.7.1 A Dividendos devem ser reconhecidos no resultado somente quando:

(a) o direito da entidade de receber pagamento do dividendo for estabelecido;

(b) for provável que os benefícios econômicos associados ao dividendo fluirão para a entidade; e

(c) o valor do dividendo puder ser mensurado de forma confiável.

5.7.2 O ganho ou a perda em ativo financeiro, que seja mensurado ao custo amortizado e que não faça parte de relação de proteção (ver itens 6.5.8 a 6.5.14 e, se aplicável, itens 89 a 94 do CPC 38 para a contabilização de cobertura de valor justo para uma cobertura de carteira de risco de taxa de juros), deve ser reconhecido no resultado quando o ativo financeiro for desreconhecido, reclassificado de acordo com o item 5.6.2, por meio do processo de amortização ou para reconhecer ganhos ou perdas por redução ao valor recuperável. A entidade deve aplicar os itens 5.6.2 e 5.6.4 se reclassificar ativos financeiros da categoria de mensuração ao custo amortizado. O ganho ou a perda em ativo financeiro, que seja mensurado ao custo amortizado e que não faça parte de relação de proteção (ver itens 6.5.8 a 6.5.14 e, se aplicável, itens 89 a 94 do CPC 38 para a contabilização de cobertura de valor justo para uma cobertura de carteira de risco de taxa de juros), deve ser reconhecido no resultado quando o passivo financeiro for desreconhecido e por meio do processo de amortização (ver item B5.7.2 para orientação sobre ganhos ou perdas cambiais).

5.7.3 O ganho ou a perda em ativos financeiros ou passivos financeiros, que forem itens protegidos, deve ser reconhecido de acordo com os itens 6.5.8 a 6.5.14 e, se aplicável, itens 89 a 94 do CPC 38 para a contabilização de cobertura de valor justo para uma cobertura de carteira de risco de taxa de juros.

5.7.4 Se a entidade reconhecer ativos financeiros, utilizando a data de liquidação para contabilização (ver itens 3.1.2, B3.1.3 e B3.1.6), qualquer alteração no valor justo do ativo a ser recebido durante o período entre a data de negociação e a data de liquidação não deve ser reconhecida para ativos mensurados ao custo amortizado. Para ativos mensurados ao valor justo, entretanto, a alteração no valor justo deve ser reconhecida no resultado ou em outros resultados abrangentes, conforme apropriado, de acordo com o item 5.7.1. A data de negociação deve ser considerada a data de reconhecimento inicial para as finalidades de aplicar os requisitos de redução ao valor recuperável.

Investimento em instrumento patrimonial

5.7.5 No reconhecimento inicial, a entidade pode efetuar uma escolha irrevogável de apresentar, em outros resultados abrangentes, alterações subsequentes no valor justo de investimento em instrumento patrimonial dentro do alcance deste pronunciamento, que não seja mantido para negociação, nem seja contraprestação contingente reconhecida por adquirente em combinação de negócios à qual deve ser aplicado o CPC 15 (ver item B5.7.3 para orientação sobre ganhos ou perdas cambiais).

5.7.6 Se a entidade efetuar a escolha do item 5.7.5, ela deve reconhecer, no resultado, dividendos desse investimento, de acordo com o item 5.7.1A.

Passivo designado como ao valor justo por meio do resultado

5.7.7 A entidade deve apresentar o ganho ou a perda em passivo financeiro designado como ao valor justo por meio do resultado de acordo com o item 4.2.2 ou o item 4.3.5, conforme abaixo especificado:

(a) o valor da alteração no valor justo do passivo financeiro que é atribuível a alterações no risco de crédito desse passivo deve ser apresentado em outros resultados abrangentes (ver itens B5.7.13 a B5.7.20); e

(b) o valor remanescente da alteração no valor justo do passivo deve ser apresentado no resultado,

salvo se o tratamento dos efeitos das alterações no risco de crédito do passivo descrito na alínea (a) criar ou aumentar o descasamento contábil no resultado (sendo que, nesse caso, se aplica o item 5.7.8). Os itens B5.7.5 a B5.7.7 e B5.7.10 a B5.7.12 fornecem orientação sobre como determinar se o descasamento contábil é criado ou aumentado.

5.7.8 Se os requisitos do item 5.7.7 criarem ou aumentarem o descasamento contábil no resultado, a entidade deve apresentar todos os ganhos ou as perdas nesse passivo (incluindo os efeitos das alterações no risco de crédito desse passivo) no resultado.

5.7.9 Apesar dos requisitos dos itens 5.7.7 e 5.7.8, a entidade deve apresentar no resultado todos os ganhos e as perdas em compromissos de empréstimo e contratos de garantia financeira que sejam designados como ao valor justo por meio do resultado.

Ativo mensurado ao valor justo por meio de outros resultados abrangentes

5.7.10 O ganho ou a perda em ativo financeiro mensurado ao valor justo por meio de outros resultados abrangentes, de acordo com o item 4.1.2A, deve ser reconhecido em outros resultados abrangentes, exceto ganhos ou perdas por redução ao valor recuperável (ver Seção 5.5) e ganhos e perdas de câmbio (ver itens B5.7.2 e B5.7.2A), até que o ativo financeiro seja desreconhecido ou reclassificado. Quando o ativo financeiro for desreconhecido, o ganho ou a perda acumulado, anteriormente reconhecido em outros resultados abrangentes, deve ser reclassificado do patrimônio líquido para o resultado como ajuste de reclassificação (ver CPC 26). Se o ativo financeiro for reclassificado da categoria de mensuração ao valor justo por meio de outros resultados abrangentes, a entidade deve contabilizar o ganho ou a perda acumulado, reconhecido anteriormente em outros resultados abrangentes, de acordo com os itens 5.6.5 e 5.6.7. Os juros calculados utilizando o método de juros efetivos devem ser reconhecidos no resultado.

5.7.11 Conforme descrito no item 5.7.10, se o ativo financeiro for mensurado ao valor justo por meio de outros resultados abrangentes, de acordo com o item 4.1.2A, os valores reconhecidos no resultado devem ser os mesmos valores que teriam sido reconhecidos no resultado se o ativo financeiro tivesse sido mensurado ao custo amortizado.

CAPÍTULO 6

CONTABILIZAÇÃO DE HEDGE

6.1 Objetivo e alcance da contabilização de hedge

6.1.1 O objetivo da contabilização de hedge é representar, nas demonstrações contábeis, o efeito das atividades de gerenciamento de risco da entidade que utiliza instrumentos financeiros para gerenciar exposições resultantes de riscos específicos que poderiam afetar o resultado (ou outros resultados abrangentes, no caso de investimentos em instrumento patrimonial para os quais a entidade escolheu apresentar alterações no valor justo em outros resultados abrangentes, de acordo com o item 5.7.5). Essa abordagem destina-se a transmitir o contexto de instrumentos de hedge para os quais deve ser aplicada a contabilização de hedge para permitir a compreensão de seus fins e efeitos.

6.1.2 A entidade pode escolher designar a relação de proteção entre o instrumento de hedge e o item protegido, de acordo com os itens 6.2.1 a 6.3.7 e B6.2.1 a B6.3.25. Para relação de proteção que atender aos critérios de qualificação, a entidade deve contabilizar o ganho ou a perda no instrumento de hedge e o item protegido, de acordo com os itens 6.5.1 a 6.5.14 e B6.5.1 a B6.5.28. Quando o item protegido for grupo de itens, a entidade deve cumprir os requisitos adicionais dos itens 6.6.1 a 6.6.6 e B6.6.1 a B6.6.16.

6.1.3 Para hedge de valor justo da exposição à taxa de juros de carteira de ativos financeiros ou passivos financeiros (e somente para tal hedge), a entidade pode aplicar os requisitos de contabilização de hedge do CPC 38 (IAS 39) em vez daqueles neste pronunciamento. Nesse caso, a entidade também deve aplicar os requisitos específicos para a contabilização de hedge de valor justo para hedge de carteira de risco de taxa de juros e designar uma parte que seja um valor monetário como item protegido (ver itens 81A, 89A e AG114 a AG132 do CPC 38 (IAS 39)).

6.2 Instrumento de hedge

Instrumento que se qualifica

6.2.1 Derivativo mensurado ao valor justo por meio do resultado pode ser designado como instrumento de hedge, com exceção de algumas opções lançadas (ver item B6.2.4).

6.2.2 Ativo financeiro não derivativo ou passivo financeiro não derivativo mensurado ao valor justo por meio do resultado pode ser designado como instrumento de hedge, salvo se for passivo financeiro designado como ao valor justo por meio do resultado, para o qual o valor de sua alteração no valor justo atribuível a alterações no risco de crédito desse passivo seja apresentado em outros resultados abrangentes, de acordo com o item 5.7.7. Para hedge de risco de moeda estrangeira, o componente de risco de moeda estrangeira de ativo financeiro não derivativo ou passivo financeiro não derivativo pode ser designado como instrumento de hedge, desde que não seja investimento em instrumento patrimonial para o qual a entidade escolheu apresentar alterações no valor justo em outros resultados abrangentes, de acordo com o item 5.7.5.

6.2.3 Para fins de contabilização de hedge, apenas contratos com a parte externa à entidade que reporta (ou seja, externa ao grupo ou entidade individual sobre a qual estejam sendo fornecidas informações) podem ser designados como instrumentos de hedge.

Designação de instrumento de hedge

6.2.4 Instrumento que se qualifica deve ser designado em sua totalidade como instrumento de hedge. As únicas exceções permitidas são:

(a) a separação do valor intrínseco e do valor de contrato de opção no tempo e a designação como instrumento de hedge apenas da alteração no valor intrínseco da opção e, não, a alteração em seu valor no tempo (ver itens 6.5.15 e B6.5.29 a B6.5.33);

(b) separar o elemento a termo e o elemento à vista do contrato a termo e designar como instrumento de hedge somente a alteração no valor do elemento à vista do contrato a termo e, não, o elemento a termo; de forma similar, o spread com base em moeda estrangeira pode ser separado e excluído da designação do instrumento financeiro como instrumento de hedge (ver itens 6.5.16 e B6.5.34 a B6.5.39); e

(c) uma proporção de todo o instrumento de hedge, como, por exemplo, 50% do valor nominal, pode ser designada como instrumento de hedge em relação de proteção. Entretanto, o instrumento de hedge pode não ser designado para parte de sua alteração no valor justo que resultar apenas de parte do período de tempo durante o qual o instrumento de hedge permanecer pendente.

6.2.5 A entidade pode visualizar em combinação, e designar conjuntamente como instrumento de hedge qualquer combinação dos seguintes itens (incluindo aquelas circunstâncias em que o risco ou riscos decorrentes de alguns instrumentos de hedge compensam aqueles decorrentes de outros):

(a) derivativos ou uma proporção deles; e

(b) não derivativos ou uma proporção deles.

6.2.6 Contudo, o instrumento derivativo que combinar uma opção lançada e uma opção comprada (por exemplo, colar de taxa de juros) não se qualifica como instrumento de hedge se for, de fato, uma opção lançada líquida na data de designação (salvo se qualificar-se de acordo com o item B6.2.4). De forma similar, dois ou mais instrumentos (ou proporções deles) podem ser conjuntamente designados como instrumento de hedge somente se, em combinação, eles não forem, de fato, uma opção lançada líquida na designação (salvo se qualificar-se de acordo com o item B6.2.4).

6.3 Item protegido (hedged)

Item que se qualifica

6.3.1 Item protegido pode ser um ativo ou um passivo reconhecido, um compromisso firme não reconhecido, uma transação prevista ou um investimento líquido em operação no exterior. O item protegido pode ser:

(a) um único item; ou

(b) grupo de itens (sujeito aos itens 6.6.1 a 6.6.6 e B6.6.1 a B6.6.16).

O item protegido também pode ser um componente desse item ou grupo de itens (ver itens 6.3.7 e B6.3.7 a B6.3.25).

6.3.2 O item protegido deve ser mensurável de forma confiável.

6.3.3 Se o item protegido for uma transação prevista (ou um componente dela), essa transação deve ser altamente provável.

6.3.4 Uma exposição agregada que seja uma combinação de exposição pode qualificar-se como item protegido, de acordo com o item 6.3.1, e um derivativo pode ser designado como item protegido (ver itens B6.3.3 e B6.3.4). Isso inclui uma transação futura de exposição agregada (ou seja, transações futuras não comprometidas, mas previstas, que resultariam em uma exposição e um derivativo) se essa exposição agregada for altamente provável e, uma vez que tenha ocorrido e, portanto, não seja mais prevista, seja elegível como item protegido.

6.3.5 Para fins de contabilização de hedge, apenas ativos, passivos, compromissos firmes ou transações previstas altamente prováveis com parte externa à entidade que reporta podem ser designados como itens protegidos. A contabilização de hedge pode ser aplicada a transações entre entidades do mesmo grupo somente nas demonstrações contábeis individuais ou separadas dessas entidades e, não, nas demonstrações contábeis consolidadas do grupo, exceto em relação às demonstrações contábeis consolidadas de entidade de investimento, conforme definido no CPC 36, em que as transações entre a entidade de investimento e suas controladas mensuradas ao valor justo por meio do resultado não devem ser eliminadas nas demonstrações contábeis consolidadas.

6.3.6 Contudo, como exceção ao item 6.3.5, o risco de moeda estrangeira de item monetário intragrupo (por exemplo, conta a pagar/receber entre duas controladas) pode se qualificar como item protegido nas demonstrações contábeis consolidadas, se resultar na exposição a ganhos ou a perdas de taxa de câmbio que não forem totalmente eliminadas na consolidação de acordo com o CPC 02 - Efeitos das Mudanças nas Taxas de Câmbio e Conversão de Demonstrações Contábeis. De acordo com o CPC 02, os ganhos e as perdas de taxa de câmbio em itens monetários intragrupo não são totalmente eliminados na consolidação, quando o item monetário intragrupo é transacionado entre duas entidades do grupo que possuem diferentes moedas funcionais. Além disso, o risco de moeda estrangeira de transação intragrupo prevista altamente provável pode se qualificar como item protegido nas demonstrações contábeis consolidadas, desde que a transação seja denominada em moeda que não seja a moeda funcional da entidade que realiza essa transação e o risco de moeda estrangeira afete o resultado consolidado.

Designação de item protegido

6.3.7 A entidade pode designar um item em sua totalidade ou um componente de item como item protegido em relação de proteção. Um item inteiro compreende todas as alterações nos fluxos de caixa ou no valor justo do item. Um componente compreende menos do que a alteração de valor justo total ou variabilidade de fluxo de caixa do item. Nesse caso, a entidade pode designar somente os seguintes tipos de componentes (incluindo combinações) como itens protegidos:

(a) somente alterações nos fluxos de caixa ou no valor justo de item atribuível a risco ou riscos específicos (componente de risco), desde que, com base na avaliação dentro do contexto da estrutura de mercado específico, o componente de risco seja separadamente identificável e mensurável de forma confiável (ver itens B6.3.8 a B6.3.15). Componentes de risco incluem a designação de apenas alterações nos fluxos de caixa ou no valor justo de item protegido acima ou abaixo de determinado preço ou outra variável (risco unilateral).

(b) um ou mais fluxos de caixa contratuais selecionados;

(c) componentes do valor nominal, ou seja, uma parte específica do valor do item (ver itens B6.3.16 a B6.3.20).

6.4 Critérios de qualificação para contabilização de hedge

6.4.1 A relação de proteção qualifica-se para contabilização de hedge somente se todos os seguintes critérios forem atendidos:

(a) a relação de proteção consiste somente de instrumentos de hedge elegíveis e itens protegidos elegíveis;

(b) no início da relação de proteção, houver designação e documentação formal da relação de proteção e o objetivo e a estratégia de gerenciamento de risco da entidade para assumir o hedge. Essa documentação deve incluir identificação do instrumento de hedge, do item protegido, da natureza do risco que está sendo protegido e de como a entidade deve avaliar se a relação de proteção atende aos requisitos de efetividade de hedge (incluindo sua análise das fontes de inefetividade de hedge e como determinar o índice de hedge);

(c) a relação de proteção atende a todos os seguintes requisitos de efetividade de hedge:

(i) existe relação econômica entre o item protegido e o instrumento de hedge (ver itens B6.4.4 a B6.4.6);

(ii) o efeito de risco de crédito não influencia as alterações no valor que resultam dessa relação econômica (ver itens B6.4.7 e B6.4.8); e

(iii) o índice de hedge da relação de proteção é o mesmo que aquele resultante da quantidade do item protegido que a entidade efetivamente protege e a quantidade do instrumento de hedge que a entidade efetivamente utiliza para proteger essa quantidade de item protegido. Contudo, essa designação não deve refletir um desequilíbrio entre as ponderações do item protegido e o instrumento de hedge que criam inefetividade de hedge (independentemente de ser reconhecida ou não), resultando em resultado contábil inconsistente com a finalidade de contabilização de hedge (ver itens B6.4.9 a B6.4.11).

6.5 Contabilização de relação de proteção que se qualifica

6.5.1 A entidade deve aplicar a contabilização de hedge a relações de proteção que atendem aos critérios de qualificação do item 6.4.1 (que inclui a decisão da entidade de designar a relação de proteção).

6.5.2 Existem três tipos de relações de proteção:

(a) hedge de valor justo: o hedge da exposição a alterações no valor justo de ativo ou passivo reconhecido ou de compromisso firme não reconhecido, ou componente de quaisquer desses itens, que seja atribuível a risco específico e que possa afetar o resultado;

(b) hedge de fluxo de caixa: o hedge da exposição à variabilidade nos fluxos de caixa que seja atribuível a risco específico associado à totalidade de ativo ou passivo reconhecido, ou a um componente dele (como, por exemplo, a totalidade ou parte dos pagamentos de juros futuros sobre dívida de taxa variável) ou a transação prevista altamente provável e que possa afetar o resultado;

(c) hedge de investimento líquido em operação no exterior, conforme definido no CPC 02.

6.5.3 Se o item protegido for instrumento patrimonial para o qual a entidade escolheu apresentar alterações no valor justo em outros resultados abrangentes, de acordo com o item 5.7.5, a exposição protegida referida no item 6.5.2 (a) deve ser registrada de forma que afete outros resultados abrangentes. Nesse caso, e somente nesse caso, a inefetividade de hedge reconhecida deve ser apresentada em outros resultados abrangentes.

6.5.4 O hedge de risco de moeda estrangeira de compromisso firme pode ser contabilizado como hedge de valor justo ou hedge de fluxo de caixa.

6.5.5 Se a relação de proteção deixar de atender ao requisito de efetividade de hedge, referente ao índice de hedge (ver item 6.4.1 (c)(iii)), mas o objetivo de gerenciamento de risco para essa relação de proteção designada permanecer o mesmo, a entidade deve ajustar o índice de hedge da relação de proteção de forma que ele atenda aos critérios de qualificação novamente (isso é referido neste pronunciamento como "reequilíbrio", ver itens B6.5.7 a B6.5.21).

6.5.6 A entidade deve descontinuar prospectivamente a contabilização de hedge somente quando a relação de proteção (ou parte da relação de proteção) deixar de atender aos critérios de qualificação (após levar em consideração qualquer reequilíbrio da relação de proteção, se aplicável). Isso inclui exemplos de quando o instrumento de hedge expirar ou for vendido, rescindido ou exercido. Para esse fim, a substituição ou rolagem do instrumento de hedge em outro instrumento de hedge não é expiração ou rescisão se essa substituição ou rolagem fizer parte do objetivo de gerenciamento de risco documentado da entidade, ou for consistente com esse objetivo. Adicionalmente, para esse fim, não existe expiração ou rescisão do instrumento de hedge se:

(a) como consequência de leis ou regulamentos ou a introdução de leis ou regulamentos, as partes do instrumento de hedge concordarem com que uma ou mais contrapartes de compensação substituem sua contraparte original para tornarem-se a nova contraparte de cada uma das partes. Para esse fim, a contraparte de compensação é a contraparte central (algumas vezes denominada "organização de compensação" ou "agência de compensação") ou a entidade ou entidades, por exemplo, um membro de compensação de organização de compensação ou cliente de membro de compensação de organização de compensação, que estão atuando como contraparte para efetuar compensação por contraparte central. Contudo, quando as partes do instrumento de hedge substituírem suas contrapartes originais por contrapartes diferentes, o requisito deste subitem somente será atendido se cada uma dessas partes efetuar compensação com a mesma contraparte central;

(b) outras alterações, se houver, ao instrumento de hedge estão limitadas àquelas que são necessárias para efetuar essa substituição da contraparte. Essas alterações estão limitadas àquelas que são consistentes com os termos que seriam esperados se o instrumento de hedge fosse originalmente compensado com a contraparte de compensação. Essas alterações incluem alterações nos requisitos de garantia, direitos de compensar saldos a receber e a pagar e encargos lançados.

Descontinuar a contabilização de hedge pode afetar a relação de proteção em sua totalidade ou somente parte dela (sendo que, nesse caso, a contabilização de hedge deve continuar durante o restante da relação de proteção).

6.5.7 A entidade deve aplicar:

(a) o item 6.5.10 quando descontinuar a contabilização de hedge para hedge de valor justo pela qual o item protegido é (ou é componente de) instrumento financeiro mensurado ao custo amortizado; e

(b) o item 6.5.12 quando descontinuar a contabilização de hedge para hedges de fluxo de caixa.

Hedge de valor justo

6.5.8 Enquanto a cobertura de valor justo atender aos critérios de qualificação do item 6.4.1, a relação de proteção deve ser contabilizada da seguinte forma:

(a) o ganho ou a perda no instrumento de hedge deve ser reconhecido no resultado (ou outros resultados abrangentes, se o instrumento de hedge protege instrumento patrimonial para o qual a entidade escolheu apresentar alterações no valor justo em outros resultados abrangentes, de acordo com o item 5.7.5);

(b) o ganho ou a perda protegida no item protegido deve ajustar o valor contábil do item protegido (se aplicável) e deve ser reconhecido no resultado. Se o item protegido for ativo financeiro (ou componente dele) mensurado ao valor justo por meio de outros resultados abrangentes de acordo com o item 4.1.2A, o ganho ou a perda protegida no item protegido deve ser reconhecido no resultado. Contudo, se o item protegido for instrumento patrimonial para o qual a entidade escolheu apresentar alterações no valor justo em outros resultados abrangentes de acordo com o item 5.7.5, esses valores devem permanecer em outros resultados abrangentes. Quando o item protegido for compromisso firme não reconhecido (ou componente dele), a alteração acumulada no valor justo do item protegido, subsequente à sua designação, deve ser reconhecida como ativo ou passivo com o ganho ou a perda correspondente reconhecida no resultado.

6.5.9 Quando o item protegido no hedge de valor justo é um compromisso firme (ou componente dele) para adquirir o ativo ou assumir o passivo, o valor contábil inicial do ativo ou passivo que resulte do atendimento pela entidade do compromisso firme deve ser ajustado para incluir a alteração acumulada no valor justo do item protegido que foi reconhecido no balanço patrimonial.

6.5.10 Qualquer ajuste decorrente do item 6.5.8 (b) deve ser amortizado no resultado, se o item protegido for instrumento financeiro (ou componente dele) mensurado ao custo amortizado. A amortização pode ter início assim que houver o ajuste e deve começar o mais tardar quando o item protegido deixar de ser ajustado para ganhos e perdas de hedge. A amortização deve ser baseada na taxa de juros efetiva, recalculada na data em que começar essa amortização. No caso de ativo financeiro (ou componente dele) que seja um item protegido e que seja mensurado ao valor justo por meio de outros resultados abrangentes, de acordo com o item 4.1.2A, deve ser aplicada a amortização da mesma forma, mas ao valor que representa o ganho ou a perda acumulada anteriormente reconhecido, de acordo com o item 6.5.8 (b), em vez de ajustar o valor contábil.

Hedge de fluxo de caixa

6.5.11 Enquanto o hedge de fluxo de caixa atender aos critérios de qualificação do item 6.4.1, a relação de proteção deve ser contabilizada da seguinte forma:

(a) o componente separado do patrimônio líquido associado ao item protegido (reserva de hedge de fluxo de caixa) deve ser ajustado ao menor valor entre (em valores absolutos):

(i) o ganho ou a perda acumulado no instrumento de hedge desde o início do hedge; e

(ii) a alteração acumulada no valor justo (valor presente) do item protegido (ou seja, o valor presente da alteração acumulada nos fluxos de caixa futuros esperados protegidos) desde o início do hedge;

(b) a parcela do ganho ou da perda no instrumento de hedge que for determinada como hedge efetivo (ou seja, a parcela que é compensada pela alteração na reserva de hedge de fluxo de caixa calculada de acordo com a alínea (a)) deve ser reconhecida em outros resultados abrangentes;

(c) qualquer ganho ou perda remanescente no instrumento de hedge (ou qualquer ganho ou perda requerida para equilibrar a alteração na reserva de hedge de fluxo de caixa calculada de acordo com a alínea (a)) é uma inefetividade de hedge que deve ser reconhecida no resultado;

(d) o valor acumulado na reserva de hedge de fluxo de caixa, de acordo com a alínea (a), deve ser contabilizado, conforme segue:

(i) se a transação prevista protegida resultar subsequentemente no reconhecimento de ativo não financeiro ou passivo não financeiro, ou a transação prevista protegida para ativo não financeiro ou passivo não financeiro tornar-se um compromisso firme para o qual a contabilização de hedge do valor justo deve ser aplicada, a entidade deve transferir esse valor da reserva de hedge de fluxo de caixa e deve incluí-la diretamente no custo inicial ou em outro valor contábil do ativo ou do passivo. Isso não é ajuste de reclassificação (ver CPC 26) e, portanto, não afeta outros resultados abrangentes;

(ii) para hedges de fluxo de caixa que não sejam aqueles cobertos pelo inciso (i), esse valor deve ser reclassificado da reserva de hedge de fluxo de caixa para o resultado como ajuste de reclassificação (ver CPC 26) no mesmo período ou períodos durante os quais os fluxos de caixa futuros esperados protegidos afetam o resultado (por exemplo, nos períodos em que a despesa ou a receita de juros é reconhecida ou quando ocorre a venda prevista);

(iii) contudo, se esse valor for uma perda e a entidade espera que a totalidade ou qualquer parcela dessa perda não deva ser recuperada em um ou mais períodos futuros, ela imediatamente deve reclassificar o valor, que não se espera que seja recuperado, no resultado como ajuste de reclassificação (ver CPC 26).

6.5.12 Quando a entidade descontinuar a contabilização de hedge para hedge de fluxo de caixa (ver itens 6.5.6 e 6.5.7 (b)), ela deve contabilizar o valor acumulado na reserva de hedge de fluxo de caixa, de acordo com o item 6.5.11 (a), conforme abaixo:

(a) se ainda se espera que ocorram os fluxos de caixa futuros protegidos, esse valor deve permanecer na reserva de hedge de fluxo de caixa até que ocorram os fluxos de caixa futuros ou até que se aplique o item 6.5.11 (d)(iii). Quando ocorrerem fluxos de caixa futuros, deve ser aplicado o item 6.5.11 (d);

(b) se não se espera mais que ocorram fluxos de caixa futuros protegidos, esse valor deve ser imediatamente reclassificado da reserva de hedge de fluxo de caixa para o resultado como ajuste de reclassificação (ver CPC 26). Ainda se espera que o fluxo de caixa futuro protegido, que deixou de ser altamente provável, ocorra.

Hedge de investimento líquido em operação no exterior

6.5.13 Hedges de investimento líquido em operação no exterior, incluindo o hedge de item monetário que seja contabilizado como parte do investimento líquido (ver CPC 02), devem ser contabilizados de forma similar aos hedges de fluxo de caixa:

(a) a parte do ganho ou da perda no instrumento de hedge, que é determinada como hedge efetivo, deve ser reconhecida em outros resultados abrangentes (ver item 6.5.11); e

(b) a parcela inefetiva deve ser reconhecida no resultado.

6.5.14 O ganho ou a perda acumulada no instrumento de hedge, relacionado à parcela efetiva do hedge que tiver sido acumulado na reserva de conversão de moeda estrangeira, deve ser reclassificado do patrimônio líquido para o resultado como ajuste de reclassificação (ver CPC 26), de acordo com os itens 48 e 49 do CPC 02, na alienação ou alienação parcial da operação no exterior.

Contabilização do valor de opção no tempo

6.5.15 Quando a entidade separar o valor intrínseco e o valor do contrato de opção no tempo e designar como instrumento de hedge somente a alteração no valor intrínseco da opção (ver item 6.2.4 (a)), ela deve contabilizar o valor da opção no tempo, conforme abaixo especificado (ver itens B6.5.29 a B6.5.33):

(a) a entidade deve distinguir o valor das opções no tempo pelo tipo de item protegido que a opção protege (ver item B6.5.29):

(i) item protegido relativo à transação; ou

(ii) item protegido relativo a período de tempo;

(b) a alteração no valor justo do valor da opção, no tempo que cobre o item protegido relativo à transação, deve ser reconhecida em outros resultados abrangentes na medida em que se relacione com o item protegido e deve ser acumulada em componente separado do patrimônio líquido. A alteração acumulada no valor justo decorrente do valor da opção, no tempo que tem sido acumulado em componente separado de patrimônio líquido ("valor"), deve ser contabilizada da seguinte forma:

(i) se o item protegido resultar, subsequentemente, no reconhecimento de ativo não financeiro ou passivo não financeiro, ou compromisso firme para ativo não financeiro ou passivo não financeiro, para o qual a contabilização de hedge do valor justo deve ser aplicada, a entidade deve transferir o valor do componente separado do patrimônio líquido e deve incluí-lo diretamente no custo inicial ou em outro valor contábil do ativo ou do passivo. Isso não é ajuste de reclassificação (ver CPC 26) e, portanto, não afeta outros resultados abrangentes;

(ii) para relação de proteção que não sejam aquelas cobertas pelo inciso (i), esse valor deve ser reclassificado do componente separado do patrimônio líquido para o resultado, como ajuste de reclassificação (ver CPC 26), no mesmo período ou períodos durante os quais os fluxos de caixa futuros esperados protegidos afetam o resultado (por exemplo, quando ocorre uma venda prevista);

(iii) entretanto, se não se espera que a totalidade ou parte desse valor seja recuperada em um ou mais períodos futuros, o valor que não se espera que seja recuperado deve ser imediatamente reclassificado para o resultado, como ajuste de reclassificação (ver CPC 26);

(c) a alteração no valor justo do valor de opção no tempo que cobre item protegido, relativo a período de tempo, deve ser reconhecida em outros resultados abrangentes na medida em que se relacione com o item protegido e deve ser acumulada em componente separado do patrimônio líquido. O valor no tempo na data de designação da opção como instrumento de hedge, na medida em que se relaciona com o item protegido, deve ser amortizado de forma sistemática e racional ao longo do período durante o qual o instrumento de hedge para o valor intrínseco da opção possa afetar o resultado (ou outros resultados abrangentes, se o item protegido for instrumento patrimonial para o qual a entidade escolheu apresentar alterações no valor justo em outros resultados abrangentes, de acordo com o item 5.7.5). Portanto, em cada período contábil, o valor da amortização deve ser reclassificado do componente separado do patrimônio líquido para o resultado, como ajuste de reclassificação (ver CPC 26).

Entretanto, se a contabilização de hedge for descontinuada para a relação de proteção que inclui a alteração no valor intrínseco da opção como instrumento de hedge, o valor líquido (ou seja, incluindo amortização acumulada), que tem sido acumulado no componente separado do patrimônio líquido, deve ser imediatamente reclassificado para o resultado, como ajuste de reclassificação (ver CPC 26).

Contabilização do elemento a termo de contrato a termo e spread com base em moeda estrangeira de instrumento financeiro

6.5.16 Quando a entidade separar o elemento a termo e o elemento à vista de contrato a termo e designar como instrumento de hedge, somente a alteração no valor do elemento à vista do contrato a termo, ou quando a entidade separar o spread com base em moeda estrangeira do instrumento financeiro e o excluir da designação desse instrumento financeiro como instrumento de hedge (ver item 6.2.4 (b)), a entidade pode aplicar o item 6.5.15 ao elemento a termo do contrato a termo ou ao spread com base em moeda estrangeira, do mesmo modo que ele é aplicado ao valor da opção no tempo. Nesse caso, a entidade deve aplicar a orientação de aplicação descrita nos itens B6.5.34 a B6.5.39.

6.6 Hedge de grupo de itens

Elegibilidade de grupo de itens como item protegido

6.6.1 Um grupo de itens (incluindo um grupo de itens que constitui posição líquida (ver itens B6.6.1 a B6.6.8)) é um item protegido elegível somente se:

(a) consiste de itens (incluindo componentes de itens) que são, individualmente, itens protegidos elegíveis;

(b) os itens no grupo são gerenciados em conjunto na base de grupo para fins de gerenciamento de risco; e

(c) no caso de hedge de fluxo de caixa de grupo de itens, cujas variabilidades de fluxo de caixa não se espera que sejam aproximadamente proporcionais à variabilidade geral de fluxos de caixa do grupo de modo a surgirem posições de risco que se compensam:

(i) for hedge de risco de moeda estrangeira; e

(ii) a designação dessa posição líquida especificar o período contábil, em que se espera que as transações previstas afetem o resultado, bem como sua natureza e volume (ver itens B6.6.7 e B6.6.8).

Designação de componente de valor nominal

6.6.2 O componente, que seja uma proporção de grupo elegível de itens, é um item protegido elegível, desde que a designação seja consistente com o objetivo de gerenciamento de risco da entidade.

6.6.3 O componente de camada (layer) de grupo geral de itens (por exemplo, camada inferior) é elegível para contabilização de hedge somente se:

(a) for separadamente identificável e mensurável de forma confiável;

(b) o objetivo do gerenciamento de risco for proteger um componente de camada (layer);

(c) os itens, no grupo geral do qual a camada for identificada, estiverem expostos ao mesmo risco protegido (de modo que a mensuração da camada protegida não seja, significativamente, afetada pelos itens específicos do grupo geral, que fazem parte da camada protegida);

(d) para hedge de itens existentes (por exemplo, compromisso firme não reconhecido ou ativo reconhecido), a entidade puder identificar e rastrear o grupo geral de itens, a partir do qual a camada protegida é definida (de modo que a entidade seja capaz de cumprir os requisitos para a contabilização de relação de proteção que se qualificam); e

(e) quaisquer itens, no grupo que contém opções de pagamento antecipado, atenderem aos requisitos para componentes de valor nominal (ver item B6.3.20).

Apresentação

6.6.4 Para hedge de grupo de itens com posições de risco que se compensam (ou seja, no hedge da posição líquida), cujo risco protegido afeta diferentes rubricas na demonstração do resultado e outros resultados abrangentes, quaisquer ganhos e perdas protegidos nessa demonstração, devem ser apresentados em rubrica separada daquelas afetadas pelos itens protegidos. Portanto, nessa demonstração, o valor na rubrica que corresponde ao próprio item protegido (por exemplo, receita ou custo de venda) permanece sem ser afetado.

6.6.5 Para ativos e passivos que são protegidos em conjunto como grupo no hedge de valor justo, o ganho ou a perda no balanço patrimonial em ativos e passivos individuais devem ser reconhecidos como ajuste ao valor contábil dos respectivos itens individuais, que integram o grupo de acordo com o item 6.5.8 (b).

Posição líquida nula

6.6.6 Quando o item protegido for um grupo que esteja em posição líquida nula (ou seja, os itens protegidos entre si compensam totalmente o risco que é gerenciado na base de grupo), a entidade tem permissão de designá-lo na relação de proteção que não inclui instrumento de hedge, ficando ressalvado que:

(a) o hedge faz parte da estratégia de rolagem do hedge de risco líquido, pela qual a entidade rotineiramente protege novas posições do mesmo tipo, conforme o tempo passa (por exemplo, quando transações movem-se pelo horizonte de tempo, durante o qual a entidade protege);

(b) a posição líquida protegida muda em tamanho ao longo da vida da estratégia de hedge de risco líquida de rolagem e a entidade deve utilizar instrumentos de hedge elegíveis para proteger o risco líquido (ou seja, quando a posição líquida não é nula);

(c) a contabilização de hedge normalmente é aplicada a essas posições líquidas, quando a posição líquida não é nula e é protegida com instrumentos de hedge elegíveis; e

(d) não aplicar contabilização de hedge à posição líquida nula daria origem a resultados contábeis inconsistentes porque a contabilização não reconheceria as posições de risco que se compensam que, de outro modo, seriam reconhecidas no hedge da posição líquida.

6.7 Opção de designar a exposição de crédito como mensurada ao valor justo por meio do resultado

Elegibilidade de exposição de crédito para designação ao valor justo por meio do resultado

6.7.1 Se a entidade utilizar um derivativo de crédito, que seja mensurado ao valor justo por meio do resultado, para gerenciar o risco de crédito da totalidade, ou parte, de instrumento financeiro (exposição de crédito), ela pode designar esse instrumento financeiro na medida em que for assim gerenciado (ou seja, a totalidade ou uma proporção dele) como mensurado ao valor justo por meio do resultado se:

(a) o nome da exposição de crédito (por exemplo, o mutuário, ou o titular de compromisso de empréstimo) corresponde à entidade de referência do derivativo de crédito ("nome correspondente"); e

(b) a senioridade do instrumento financeiro corresponde àquela dos instrumentos que podem ser entregues de acordo com o derivativo de crédito.

A entidade pode realizar essa designação, independentemente de o instrumento financeiro, que é gerenciado para risco de crédito, estar dentro do alcance deste pronunciamento (por exemplo, a entidade pode designar compromissos de empréstimo, que estão fora do alcance deste pronunciamento). A entidade pode designar esse instrumento financeiro no reconhecimento inicial, ou após isso, ou enquanto não estiver reconhecido e deve documentar a designação, simultaneamente.

Contabilização de exposição de crédito designada ao valor justo por meio do resultado

6.7.2 Se o instrumento financeiro for designado de acordo com o item 6.7.1 como mensurado ao valor justo por meio do resultado após seu reconhecimento inicial, ou não tiver sido anteriormente reconhecido, a diferença no momento da designação entre o valor contábil, se houver, e o valor justo deve ser imediatamente reconhecida no resultado. Para ativos financeiros mensurados ao valor justo por meio de outros resultados abrangentes, de acordo com o item 4.1.2A, o ganho ou a perda acumulada, reconhecido anteriormente em outros resultados abrangentes, deve ser imediatamente reclassificado do patrimônio líquido para o resultado, como ajuste de reclassificação (ver CPC 26).

6.7.3 A entidade deve descontinuar a mensuração do instrumento financeiro que deu origem ao risco de crédito, ou uma proporção desse instrumento financeiro, ao valor justo por meio do resultado se:

(a) os critérios de qualificação no item 6.7.1 não forem mais atendidos, por exemplo:

(i) o derivativo de crédito ou o instrumento financeiro relacionado, que dá origem ao risco de crédito, expira ou é vendido, rescindido ou liquidado; ou

(ii) o risco de crédito do instrumento financeiro não é mais gerenciado utilizando-se derivativos de crédito. Por exemplo, isso pode ocorrer devido às melhorias na qualidade de crédito do mutuário ou do titular de compromisso de empréstimo ou alterações nos requisitos de capital impostos à entidade; e

(b) o instrumento financeiro, que dá origem ao risco de crédito, não precisar ser mensurado ao valor justo por meio do resultado (ou seja, o modelo de negócios da entidade não se alterou nesse meio tempo de modo que fosse requerida a reclassificação de acordo com o item 4.4.1).

6.7.4 Quando a entidade descontinuar a mensuração do instrumento financeiro, que dá origem ao risco de crédito, ou uma proporção desse instrumento financeiro, ao valor justo por meio do resultado, o valor justo desse instrumento financeiro na data da descontinuação torna-se seu novo valor contábil. Subsequentemente, a mesma mensuração, que foi utilizada antes de designar o instrumento financeiro ao valor justo por meio do resultado, deve ser aplicada (incluindo amortização que resulte do novo valor contábil). Por exemplo, o ativo financeiro, que havia sido originalmente classificado como mensurado ao custo amortizado, reverteria para essa mensuração e sua taxa de juros efetiva seria recalculada com base em seu novo valor contábil bruto, na data da descontinuação da mensuração ao valor justo por meio do resultado.

6.8 Exceções temporárias da aplicação de requisitos específicos de contabilização de hedge

6.8.1 A entidade deve aplicar os itens de 6.8.4 a 6.8.12, 7.1.8 e 7.2.26 (d) a todas as relações de proteção diretamente afetadas pela reforma da taxa de juros de referência. Esses itens se aplicam apenas a essas relações de proteção. A relação de proteção é diretamente afetada pela reforma da taxa de juros de referência somente se a reforma suscitar incertezas sobre:

(a) a taxa de juros de referência (especificada contratualmente ou não) designada como risco protegido de hedge; e/ou

(b) o período ou o valor dos fluxos de caixa baseados na taxa de juros de referência do item objeto de hedge ou do instrumento de hedge.

6.8.2 Para fins de aplicação dos itens de 6.8.4 a 6.8.12, o termo "reforma da taxa de juros de referência" refere-se à reforma de todo o mercado de referência de taxa de juros, incluindo a substituição da taxa de juros de referência por taxa de referência alternativa, tal como resultante das recomendações estabelecidas no relatório do Financial Stability Boards (Conselho de Estabilidade Financeira), de julho de 2014, "Reforma das principais taxas de juros de referência".

6.8.3 Os itens de 6.8.4 a 6.8.12 fornecem exceções apenas aos requisitos especificados nesses itens. A entidade deve continuar a aplicar todos os outros requisitos de contabilidade de hedge às relações de proteção diretamente afetadas pela reforma da taxa de juros de referência.

Requisito altamente provável para hedge de fluxo de caixa

6.8.4 Com o objetivo de determinar se uma transação prevista (ou um componente dela) é altamente provável, conforme requerido no item 6.3.3, a entidade deve assumir que a taxa de juros de referência, na qual os fluxos de caixa protegidos (especificados contratualmente ou não) são baseados, não é alterada como resultado da reforma da taxa de juros de referência.

Reclassificação do valor acumulado na reserva de hedge de fluxo de caixa

6.8.5 Para fins de aplicação do requisito no item 6.5.12, a fim de determinar se os fluxos de caixa futuros protegidos irão ocorrer, a entidade deve assumir que a taxa de juros de referência, na qual os fluxos de caixa protegidos (especificado contratualmente ou não) são baseados, não é alterada como resultado da reforma da taxa de juros de referência.

Avaliação da relação econômica entre o item protegido e o instrumento de hedge

6.8.6 Para fins de aplicação dos requisitos dos itens 6.4.1 (c)(i) e de B6.4.4 a B6.4.6, a entidade deve assumir que a taxa de juros de referência na qual o fluxo de caixa protegido e/ou o risco de hedge (especificado contratualmente ou não) são baseados, ou a taxa de juros de referência no qual se baseiam os fluxos de caixa do instrumento de hedge, não é alterada como resultado da reforma da taxa de juros de referência.

Designação de componente de item como item protegido

6.8.7 A menos que o item 6.8.8 seja aplicável para hedge de componente de referência não contratualmente especificado do risco de taxa de juros, a entidade deve aplicar o requisito nos itens 6.3.7 (a) e B6.3.8 - que o componente de risco seja identificável separadamente - somente no início da relação de proteção.

6.8.8 Quando a entidade, consistente com sua documentação de hedge, frequentemente redefine (ou seja, descontinua e reinicia) a relação de proteção, porque tanto o instrumento de hedge quanto o item de hedge são alterados com frequência (ou seja, a entidade utiliza um processo dinâmico no qual os itens de hedge e os instrumentos de hedge utilizados para gerenciar essa exposição não permanecem os mesmos por muito tempo), a entidade deve aplicar o requisito dos itens 6.3.7 (a) e B6.3.8 - que o componente de risco seja identificável separadamente - somente quando designar inicialmente um item protegido nessa relação de proteção. O item protegido que foi avaliado no momento de sua designação inicial na relação de proteção, se era no momento do início do hedge ou, subsequentemente, não é reavaliado em nenhuma redesignação subsequente na mesma relação de proteção.

Fim da aplicação

6.8.9 A entidade deve cessar, prospectivamente, a aplicação do item 6.8.4 ao item protegido no que primeiro ocorrer:

(a) quando a incerteza decorrente da reforma da taxa de juros de referência não estiver mais presente no momento e no valor dos fluxos de caixa baseados na taxa de juros de referência do item protegido; e

(b) quando a relação de proteção do qual o item protegido faz parte for descontinuado.

6.8.10 A entidade deve cessar, prospectivamente, a aplicação do item 6.8.5, no que primeiro ocorrer:

(a) quando a incerteza decorrente da reforma da taxa de juros de referência não estiver mais presente no momento e no valor dos fluxos de caixa futuros baseados na taxa de juros de referência do item protegido; e

(b) quando o valor total acumulado na reserva de hedge de fluxo de caixa referente a essa relação de proteção descontinuada for reclassificado para o resultado.

6.8.11 A entidade deve cessar, prospectivamente, de aplicar o item 6.8.6:

(a) ao item protegido, quando a incerteza decorrente da reforma da taxa de juros de referência não estiver mais presente em relação ao risco protegido ou ao momento e ao valor dos fluxos de caixa baseados na taxa de juros de referência do item protegido; e

(b) ao instrumento de hedge, quando a incerteza decorrente da reforma da taxa de juros de referência não estiver mais presente no que diz respeito ao momento e ao valor dos fluxos de caixa baseados na taxa de juros referência do instrumento de hedge.

Se a relação de proteção da qual o item protegido e o instrumento de hedge fizerem parte for descontinuada antes da data especificada no item 6.8.11 (a) ou da data especificada no item 6.8.11 (b), a entidade deve cessar, prospectivamente, de aplicar o item 6.8.6 àquela relação de proteção na data de descontinuação.

6.8.12 Ao designar um grupo de itens como item protegido por hedge, ou uma combinação de instrumentos financeiros como instrumento de hedge, a entidade deve deixar de aplicar, prospectivamente, os itens de 6.8.4 a 6.8.6 ao item individualmente ou ao instrumento financeiro, de acordo com os itens 6.8.9, 6.8.10 ou 6.8.11, conforme o caso, quando a incerteza decorrente da reforma da taxa de juros de referência não estiver mais presente com relação ao risco protegido e/ou ao momento e ao valor dos fluxos de caixa baseado na taxa de juros de referência daquele item ou instrumento financeiro.

6.8.13 A entidade deve cessar prospectivamente a aplicação dos itens 6.8.7 e 6.8.8, no que ocorrer primeiro entre:

(a) quando as mudanças exigidas pela Reforma da Taxa de Juros de Referência forem feitas para o componente de risco não especificado contratualmente aplicando item 6.9.1; ou

(b) quando a relação de proteção (hedging) em que o componente de risco não contratualmente especificado é designado for descontinuado.

6.9 Exceções temporárias adicionais decorrentes da Reforma da Taxa de Juros de Referência

6.9.1 Como e quando os requisitos dos itens 6.8.4 a 6.8.8 cessarem de se aplicar a uma relação de proteção (ver itens 6.8.9 a 6.8.13), a entidade deve alterar a designação formal dessa relação de proteção, conforme documentado anteriormente para refletir as mudanças exigidas pela reforma da taxa de juros de referência, ou seja, as mudanças são consistentes com os requisitos dos itens 5.4.6 a 5.4.8. Nesse contexto, a designação de proteção deve ser alterada apenas para fazer um ou mais dessas mudanças:

(a) designando uma taxa de referência alternativa (contratualmente especificada ou não) como um risco coberto;

(b) alterar a descrição do item protegido, incluindo a descrição da parcela designada dos fluxos de caixa ou valor justo sendo coberto; ou

(c) alterar a descrição do instrumento de cobertura.

6.9.2 A entidade também deve aplicar o requisito do item 6.9.1 (c) se estas três condições forem atendidas:

(a) a entidade faz uma alteração exigida pela reforma da taxa de juros de referência usando uma abordagem diferente da mudança de base para determinar os fluxos de caixa contratuais do instrumento de hedge (conforme descrito no item 5.4.6);

(b) o instrumento de proteção original não é desreconhecido; e

(c) a abordagem escolhida é economicamente equivalente a mudar a base para determinar os fluxos de caixa contratuais da proteção do instrumento original (conforme descrito nos itens 5.4.7 e 5.4.8).

6.9.3 Os requisitos dos itens 6.8.4 a 6.8.8 podem cessar a aplicação em diferentes situações. Portanto, ao aplicar o item 6.9.1, a entidade pode ser requerida a alterar a designação formal de suas relações de proteção em momentos diferentes, ou pode ser necessário alterar a designação formal de uma relação de proteção mais de uma vez. Quando, e somente quando, tal mudança for feita na designação de proteção, a entidade deve aplicar os itens 6.9.7 a 6.9.12 conforme aplicável. A entidade também deve aplicar o item 6.5.8 (para um hedge de valor justo) ou item 6.5.11 (para um hedge de fluxo de caixa) para contabilizar quaisquer mudanças no valor justo do item protegido ou do instrumento de hedge.

6.9.4 A entidade deve alterar uma relação de proteção conforme exigido no item 6.9.1 no final do período da demonstração contábil durante o qual uma mudança exigida pela reforma da taxa de juros de referência é feita para o risco protegido, item coberto ou instrumento de hedge. Para evitar dúvidas, tal alteração na designação formal de uma relação de proteção não constitui nem a descontinuação da relação de proteção nem a designação de uma nova relação de proteção.

6.9.5 Se alterações forem feitas além das alterações exigidas pela reforma da taxa de juros de referência para o ativo financeiro ou passivo financeiro designado em uma relação de proteção (conforme descrito nos itens 5.4.6 a 5.4.8) ou para a designação da relação de proteção (conforme exigido pelo item 6.9.1), a entidade deve primeiro aplicar os requisitos previstos neste Pronunciamento para determinar se essas mudanças adicionais resultam na descontinuação da contabilidade do hedge. Se as mudanças adicionais não resultarem na descontinuação da contabilidade de hedge, a entidade deve alterar a designação formal da relação de proteção conforme especificado no item 6.9.1.

6.9.6 Os itens 6.9.7 a 6.9.13 estabelecem exceções aos requisitos especificados para esses itens apenas. A entidade deve aplicar todos os outros requisitos da contabilidade de hedge deste Pronunciamento, incluindo os critérios de qualificação do item 6.4.1, para relações de hedge que foram diretamente afetadas pela reforma da taxa de juros de referência.

Contabilização de relacionamentos de proteção qualificados Hedges de fluxo de caixa

6.9.7 Para efeitos de aplicação do item 6.5.11, no momento em que a entidade altera a descrição de um item coberto conforme exigido no item 6.9.1 (b), o valor acumulado na reserva do hedge de fluxo de caixa será considerado com base na taxa de referência alternativa na qual os fluxos de caixa futuro coberto são determinados.

6.9.8 Para uma relação de proteção descontinuada, quando é alterada a taxa de juros de referência em que os fluxos de caixa futuros cobertos foram baseados conforme exigido por reforma da taxa de juros de referência, para fins de aplicação do item 6.5.12 para determinar se os fluxos de caixa futuros cobertos são esperados para ocorrer, o valor acumulado na reserva de hedge de fluxo de caixa para aquela relação de proteção deve ser atribuída com base na taxa de referência alternativa na qual os fluxos de caixa futuros cobertos serão baseados.

Grupos de itens

6.9.9 Quando a entidade aplica o item 6.9.1 a grupos de itens designados como itens protegidos num hedge de valor justo ou hedge de fluxo de caixa, a entidade deve alocar os itens cobertos para subgrupos com base na taxa de referência que está sendo protegida e designe a taxa de referência como o risco protegido para cada subgrupo. Por exemplo, em uma relação de proteção em que um grupo de itens é protegido para mudanças em uma referência de taxa de juros sujeita a reforma da taxa de juros de referência, os fluxos de caixa protegidos ou o valor justo de alguns itens do grupo poderiam ser alterados para fazer referência a uma taxa de referência alternativa antes de outros itens no grupo serem alterados. Neste exemplo, ao aplicar o item 6.9.1, a entidade designa a taxa de referência alternativa como o risco protegido para esse subgrupo relevante de itens cobertos. A entidade continua a designar a taxa de juros de referência existente como o risco protegido para o outro subgrupo de itens cobertos até os fluxos de caixa protegidos ou valor justo desses itens serem alterados para referenciar a taxa de referência alternativa ou os itens expiram e são substituídos por itens cobertos que fazem referência à taxa de referência alternativa.

6.9.10 A entidade deve avaliar separadamente se cada subgrupo atende aos requisitos do item 6.6.1 para ser um item protegido elegível. Caso existam subgrupo deixar de atender aos requisitos do item 6.6.1, a entidade deve descontinuar a contabilidade de hedge prospectivamente para a relação de proteção em seu por inteiro. A entidade também deve aplicar os requisitos dos itens 6.5.8 e 6.5.11 para contabilizar a ineficácia relacionada à relação de proteção em sua totalidade.

Designação de componentes de risco

6.9.11 Uma taxa de referência alternativa designada como um componente de risco não especificado contratualmente que não é identificável separadamente (ver itens 6.3.7 (a) e B6.3.8) na data em que for designada será considerada como tendo cumprido este requisito nessa data, se, e somente se, a entidade razoavelmente espera que a taxa de referência alternativa será identificada separadamente dentro de 24 meses. O período de 24 meses se aplica separadamente a cada taxa de referência alternativa e começa a partir da data em que a entidade designa a taxa de referência alternativa como um componente de risco não especificado contratualmente pela primeira vez (isto é, o período de 24 meses aplica-se taxa por taxa).

6.9.12 Se subsequentemente a entidade razoavelmente espera que a taxa de referência alternativa não será identificável separadamente dentro de 24 meses a partir da data em que entidade o designou como um componente de risco contratualmente não especificado pela primeira vez, a entidade deve cessar a aplicação do requisito do item 6.9.11 a essa taxa de referência alternativa e descontinuar a contabilidade de hedge prospectivamente a partir da data dessa reavaliação para todas as relações de proteção em que a taxa de referência alternativa foi designada como componente de risco não especificado contratualmente.

6.9.13 Além dessas relações de proteção especificadas no item 6.9.1, a entidade deve aplicar os requisitos dos itens 6.9.11 e 6.9.12 para novas relações de proteção em que uma taxa de referência alternativa é designada como um componente de risco não contratualmente especificado (ver itens 6.3.7 (a) e B6.3.8) quando, devido à reforma da taxa de juros de referência, esse componente de risco não é identificável separadamente na data em que é designada.

CAPÍTULO 7

DATA DE VIGÊNCIA E TRANSIÇÃO

7.1 Data de vigência

7.1.1 A vigência deste Pronunciamento será estabelecida pelos órgãos reguladores que o aprovarem, sendo que para o pleno atendimento às normas internacionais de contabilidade a entidade deve aplicar este pronunciamento para períodos anuais iniciados em ou após 1º de janeiro de 2018.

7.1.2 a 7.1.7 Eliminados.

7.1.8 A Reforma da Taxa de Juros de Referência alterou o CPC 48, o CPC 38 e o CPC 40, adicionou a Seção 6.8 e alterou o item 7.2.26. A vigência dessas alterações será estabelecida pelos órgãos reguladores que o aprovarem, sendo que, para o pleno atendimento às normas internacionais de contabilidade, a entidade deve aplicar essas alterações nos períodos anuais com início em, ou após, 1º de janeiro de 2020.

7.1.9 A Revisão CPC 17 aprovada pelo CPC em 8 de janeiro de 2021, alterou o CPC 48, CPC 38, CPC 40, CPC 11 e CPC 06, adicionou os itens 5.4.5 a 5.4.9, 6.8.13, Seção 6.9 e itens 7.2.43 a 7.2.46. A vigência desta Revisão será estabelecida pelos órgãos reguladores que a aprovarem, sendo que para o pleno atendimento às normas internacionais de contabilidade, a entidade deve aplicar esta revisão para períodos anuais com início em ou após 1º de janeiro de 2021.

7.1.10 A Revisão CPC 19, aprovada pelo CPC em 1º de outubro de 2021, adicionou os itens 7.2.35 e B3.3.6A e alterou o item B3.3.6. A vigência desta Revisão deve ser estabelecida pelos órgãos reguladores que a aprovarem, sendo que, para o pleno atendimento às normas internacionais de contabilidade, a entidade deve aplicar estas alterações para períodos anuais com início em, ou após, 1º de janeiro de 2022.

7.2 Transição

7.2.1 A entidade deve aplicar este pronunciamento retrospectivamente, de acordo com o CPC 23 - Políticas Contábeis, Mudança de Estimativa e Retificação de Erro, exceto conforme especificado nos itens 7.2.4 a 7.2.26 e 7.2.28. Este pronunciamento não deve ser aplicado a itens que já tenham sido desreconhecidos na data da aplicação inicial.

7.2.2 Para fins das disposições sobre transição dos itens 7.2.1, 7.2.3 a 7.2.28 e 7.3.2, a data de aplicação inicial é a data em que a entidade aplicar pela primeira vez os requisitos deste pronunciamento e deve ser o início de um período contábil após a emissão deste pronunciamento. Dependendo da abordagem escolhida pela entidade para aplicar este pronunciamento, a transição pode envolver uma ou mais datas de aplicação inicial para diferentes requisitos.

Transição para classificação e mensuração (capítulos 4 e 5)

7.2.3 Na data de aplicação inicial, a entidade deve avaliar se o ativo financeiro atende à condição do item 4.1.2 (a) ou 4.1.2A(a) com base nos fatos e circunstâncias que existirem nessa data. A classificação resultante deve ser aplicada retrospectivamente, independentemente do modelo de negócios da entidade em períodos contábeis anteriores.

7.2.4 Se, na data de aplicação inicial, for impraticável (conforme definido no CPC 23) para a entidade avaliar um elemento de valor do dinheiro no tempo, modificado de acordo com os itens B4.1.9B a B4.1.9D com base nos fatos e circunstâncias que existiam no reconhecimento inicial do ativo financeiro, a entidade deve avaliar as características de fluxo de caixa contratual desse ativo financeiro com base nos fatos e circunstâncias, que existiam no reconhecimento inicial do ativo financeiro, sem considerar os requisitos referentes à modificação do elemento de valor do dinheiro no tempo nos itens B4.1.9B a B4.1.9D (ver também item 42R do CPC 40).

7.2.5 Se, na data da aplicação inicial, for impraticável (conforme definido no CPC 23) para a entidade avaliar se o valor justo de característica de pagamento antecipado era insignificante, de acordo com o item B4.1.12 (c), com base nos fatos e circunstâncias que existiam no reconhecimento inicial do ativo financeiro, a entidade deve avaliar as características de fluxo de caixa contratual desse ativo financeiro, com base nos fatos e circunstâncias que existiam no reconhecimento inicial do ativo financeiro sem considerar a exceção para elementos de pagamento antecipado no item B4.1.12 (ver também item 42S do CPC 40).

7.2.6 Se a entidade mensurar um contrato híbrido ao valor justo, de acordo com os itens 4.1.2A, 4.1.4 ou 4.1.5, mas o valor justo do contrato híbrido não tiver sido mensurado em períodos contábeis comparativos, o valor justo do contrato híbrido nos períodos de relatório comparativos deve ser a soma dos valores justos dos componentes (ou seja, o contrato principal não derivativo e o derivativo embutido) no final de cada período contábil comparativo, se a entidade reapresentar períodos anteriores (ver item 7.2.15).

7.2.7 Se a entidade aplicar o item 7.2.6, então, na data de aplicação inicial, a entidade deve reconhecer qualquer diferença entre o valor justo de todo o contrato híbrido, na data da aplicação inicial, e a soma dos valores justos dos componentes do contrato híbrido, na data da aplicação inicial, nos lucros acumulados de abertura (ou outro componente do patrimônio líquido, conforme apropriado) do período contábil que inclui a data da aplicação inicial.

7.2.8 Na data da aplicação inicial, a entidade pode designar:

(a) o ativo financeiro como mensurado ao valor justo por meio do resultado, de acordo com o item 4.1.5; ou

(b) o investimento em instrumento patrimonial como ao valor justo por meio de outros resultados abrangentes, de acordo com o item 5.7.5.

Essa designação deve ser feita com base nos fatos e circunstâncias existentes na data da aplicação inicial. Essa classificação deve ser aplicada, retrospectivamente.

7.2.9 Na data da aplicação inicial, a entidade:

(a) deve revogar sua designação anterior de ativo financeiro como mensurado ao valor justo por meio do resultado, se esse ativo financeiro não atender à condição do item 4.1.5;

(b) pode revogar sua designação anterior de ativo financeiro como mensurado ao valor justo por meio do resultado, se esse ativo financeiro atender à condição do item 4.1.5.

Essa revogação deve ser feita com base nos fatos e circunstâncias existentes na data da aplicação inicial. Essa classificação deve ser aplicada, retrospectivamente.

7.2.10 Na data da aplicação inicial, a entidade:

(a) pode designar o passivo financeiro como mensurado ao valor justo por meio do resultado, de acordo com o item 4.2.2 (a);

(b) deve revogar sua designação anterior de passivo financeiro como mensurado ao valor justo por meio do resultado, se essa designação tiver sido feita no reconhecimento inicial, de acordo com a condição atual no item 4.2.2 (a), e essa designação não atender a essa condição na data da aplicação inicial;

(c) pode revogar sua designação anterior de passivo financeiro como mensurado ao valor justo por meio do resultado, se essa designação tiver sido feita no reconhecimento inicial, de acordo com a condição atual no item 4.2.2 (a), e essa designação atender a essa condição na data da aplicação inicial.

Essas designação e revogação devem ser feitas com base nos fatos e circunstâncias existentes na data da aplicação inicial. Essa classificação deve ser aplicada, retrospectivamente.

7.2.11 Se for impraticável (conforme definido no CPC 23) para a entidade aplicar retrospectivamente o método de juros efetivos, a entidade deve tratar:

(a) o valor justo do ativo financeiro ou do passivo financeiro, no final de cada período comparativo apresentado, como valor contábil bruto desse ativo financeiro ou custo amortizado desse passivo financeiro, se a entidade reapresentar períodos anteriores;e

(b) o valor justo do ativo financeiro ou do passivo financeiro, na data da aplicação inicial, como novo valor contábil bruto desse ativo financeiro ou novo custo amortizado desse passivo financeiro, na data da aplicação inicial deste pronunciamento.

7.2.12 Se a entidade tiver contabilizado anteriormente ao custo (de acordo com o CPC 38) um investimento em instrumento patrimonial que não tenha preço cotado em mercado ativo para instrumento idêntico (ou seja, informação de Nível 1) (ou ativo derivativo que seja vinculado a esse instrumento e que deva ser liquidado pela entrega desse instrumento), ela deve mensurar esse instrumento ao valor justo na data da aplicação inicial. Qualquer diferença entre o valor contábil anterior e o valor justo deve ser reconhecida em lucros acumulados de abertura (ou outros componentes do patrimônio líquido, conforme apropriado) do período contábil que inclui a data da aplicação inicial.

7.2.13 Se a entidade tiver contabilizado anteriormente um passivo derivativo que seja vinculado à, e que deva ser liquidado pela, entrega de instrumento patrimonial que não tenha preço cotado em mercado ativo para instrumento idêntico (ou seja, informação de Nível 1) ao custo de acordo com o CPC 38, ela deve mensurar esse passivo derivativo ao valor justo na data da aplicação inicial. Qualquer diferença entre o valor contábil anterior e o valor justo deve ser reconhecida em lucros acumulados de abertura do período contábil que incluir a data da aplicação inicial

Acordos nos quais a entidade retém os direitos contratuais de receber os fluxos de caixa do ativo financeiro, mas assume a obrigação contratual de pagar os fluxos de caixa a um ou mais recebedores (item 3.2.4 (b)).

B3.2.2 A situação descrita no item 3.2.4 (b) (quando a entidade retiver os direitos contratuais de receber os fluxos de caixa do ativo financeiro, mas assume a obrigação contratual de pagar os fluxos de caixa a um ou mais recebedores) ocorre, por exemplo, se a entidade for sociedade fiduciária e emite participações beneficiárias a investidores subjacentes aos ativos financeiros que ela possui e fornece serviço de cobrança desses ativos financeiros. Nesse caso, os ativos financeiros se qualificam para desreconhecimento, se as condições nos itens 3.2.5 e 3.2.6 forem atendidas.

B3.2.3 Ao aplicar o item 3.2.5, a entidade pode ser, por exemplo, a concedente do ativo financeiro ou pode ser um grupo que inclui uma controlada que adquiriu o ativo financeiro e repassa os fluxos de caixa a investidores terceiros não relacionados à entidade.

Avaliação da transferência de riscos e benefícios de propriedade (item 3.2.6)

B3.2.4 Exemplos de quando a entidade transferiu substancialmente todos os riscos e benefícios de propriedade:

(a) venda incondicional de ativo financeiro;

(b) venda de ativo financeiro juntamente com a opção para recompra do ativo financeiro ao seu valor justo na época da recompra; e

(c) venda de ativo financeiro juntamente com opção de venda ou compra que esteja, substancialmente, fora do preço (ou seja, opção que esteja tão fora do preço e que seja altamente improvável que entre no preço antes do vencimento).

B3.2.5 Exemplos de quando a entidade reteve, substancialmente, todos os riscos e benefícios de propriedade:

(a) transação de venda e recompra em que o preço de recompra é fixo ou preço de venda mais o retorno de juros;

(b) contrato de empréstimo de títulos;

(c) venda de ativo financeiro juntamente com swap de retorno total, que retransfere a exposição a risco de mercado à entidade;

(d) venda de ativo financeiro juntamente com opção de venda ou compra substancialmente dentro do preço (ou seja, opção que esteja tão dentro do preço que seja altamente improvável que saia do preço antes do vencimento); e

(e) venda de contas a receber de curto prazo em que a entidade garante remunerar o cessionário pelas perdas de crédito que provavelmente ocorram.

B3.2.6 Se a entidade determinar que, como resultado da transferência, transferiu, substancialmente, todos os riscos e benefícios da propriedade do ativo transferido, ela não deve reconhecer o ativo transferido novamente em período futuro, exceto se readquirir o ativo transferido em nova transação.

Avaliação da transferência de controle

B3.2.7 A entidade não reteve o controle do ativo transferido, se o cessionário tiver a capacidade prática de vender o ativo transferido. A entidade reteve o controle do ativo transferido, se o cessionário não tiver a capacidade prática de vender o ativo transferido. O cessionário possui a capacidade prática de vender o ativo transferido, se ele for negociado em mercado ativo, porque o cessionário pode recomprar o ativo transferido no mercado, se precisasse devolver o ativo à entidade. Por exemplo, o cessionário pode ter a capacidade prática de vender o ativo transferido, se o ativo transferido estiver sujeito à opção que permita que a entidade o recompre, mas o cessionário pode prontamente obter o ativo transferido no mercado, se a opção for exercida. O cessionário não tem a capacidade prática de vender o ativo transferido, se a entidade retiver essa opção e o cessionário não puder prontamente obter o ativo transferido no mercado, se a entidade exercer sua opção.

B3.2.8 O cessionário tem a capacidade prática de vender o ativo transferido apenas se o cessionário puder vender o ativo transferido em sua totalidade a terceiro não relacionado e for capaz de exercer essa capacidade unilateralmente e sem precisar impor restrições adicionais sobre a transferência. A questão crítica é o que o cessionário é capaz de fazer na prática e, não, quais os direitos contratuais que o cessionário tem em relação ao que pode fazer com o ativo transferido ou quais proibições contratuais existem. Em particular:

(a) o direito contratual de alienar o ativo transferido tem pouco efeito prático, se não houver mercado para o ativo transferido; e

(b) a capacidade de alienar o ativo transferido tem pouco efeito prático, se não puder ser exercida livremente. Por esse motivo:

(i) a capacidade do cessionário de alienar o ativo transferido deve ser independente das ações dos outros (ou seja, deve ser uma capacidade unilateral); e

(ii) o cessionário deve ser capaz de alienar o ativo transferido sem precisar impor condições restritivas ou "limites" à transferência (por exemplo, condições sobre como o ativo de empréstimo deve ser cobrado ou a opção dando ao cessionário o direito de recomprar o ativo).

B3.2.9 A improbabilidade de o cessionário vender o ativo transferido, por si só, não significa que o cedente tenha retido o controle do ativo transferido. Entretanto, se a opção de venda ou garantia impedir o cessionário de vender o ativo transferido, então o cedente reteve o controle do ativo transferido. Por exemplo, se a opção de venda ou garantia for suficientemente valiosa, ela impede o cessionário de vender o ativo transferido, porque o cessionário, na prática, não venderia o ativo transferido a terceiro sem impor uma opção similar ou outras condições restritivas. Em vez disso, o cessionário reteria o ativo transferido de modo a obter pagamentos, de acordo com a garantia ou a opção de venda. Nessas circunstâncias, o cedente reteve o controle do ativo transferido.

Transferência que se qualifica para desreconhecimento

B3.2.10 A entidade pode reter o direito à parte dos pagamentos de juros sobre os ativos transferidos como remuneração pelo serviço de cobrança desses ativos. A parte dos pagamentos de juros a que a entidade renunciaria, por ocasião da rescisão ou transferência do contrato de serviço de cobrança, deve ser alocada ao ativo ou passivo objeto da prestação de serviço de cobrança. A parte dos pagamentos de juros a que a entidade não renunciaria é uma conta a receber de faixa de juros apenas. Por exemplo, se a entidade não for renunciar a quaisquer juros, por ocasião da rescisão ou transferência do contrato de serviço de cobrança, todo o spread de juros é uma conta a receber de faixa de juros apenas. Para fins da aplicação do item 3.2.13, os valores justos do serviço de cobrança do ativo e da conta a receber da faixa de juros apenas devem ser usados para alocar o valor contábil da conta a receber entre a parte do ativo que é desreconhecida e a parte que continua a ser reconhecida. Se não houver taxa de serviço de cobrança específica ou se não se esperar que a taxa a ser recebida remunere a entidade adequadamente pela realização do serviço de cobrança, o passivo relacionado à obrigação de serviço de cobrança deve ser reconhecido ao valor justo.

B3.2.11 Ao mensurar os valores justos da parte que continua a ser reconhecida e da parte que é desreconhecida para fins de aplicação do item 3.2.13, a entidade deve aplicar os requisitos de mensuração do valor justo descritos no CPC 46 - Mensuração do Valor Justo, além do item 3.2.14.

Transferência que não se qualifica para desreconhecimento

B3.2.12 Segue a aplicação do princípio descrito no item 3.2.15. Se a garantia, fornecida pela entidade, para perdas por inadimplência no ativo transferido impedir que o ativo transferido seja desreconhecido, porque a entidade reteve substancialmente todos os riscos e benefícios da propriedade do ativo transferido, o ativo transferido continua a ser reconhecido em sua totalidade e a contraprestação recebida deve ser reconhecida como passivo.

Envolvimento contínuo em ativo transferido

B3.2.13 Seguem abaixo exemplos de como a entidade deve mensurar o ativo transferido e o respectivo passivo, de acordo com o item 3.2.16.

Todos os ativos

(a) Se a garantia, fornecida pela entidade, para o pagamento de perdas por inadimplência em um ativo transferido impedir que o ativo transferido seja desreconhecido na medida de seu envolvimento continuo, o ativo transferido na data da transferência deve ser mensurado pelo menor valor entre (i) o valor contábil do ativo e (ii) o valor máximo da contraprestação recebida na transferência que a entidade seria obrigada a restituir ("valor da garantia"). O respectivo passivo deve ser inicialmente mensurado ao valor da garantia, mais o valor justo da garantia (que é normalmente a contraprestação recebida pela garantia). Subsequentemente, o valor justo inicial da garantia deve ser reconhecido no resultado, quando (ou conforme) a obrigação é satisfeita (de acordo com os princípios do CPC 47) e o valor contábil do ativo deve ser reduzido por qualquer provisão para perdas.

Ativo mensurado ao custo amortizado

(b) Se a obrigação por opção de venda lançada pela entidade ou o direito de opção de compra detido pela entidade impedir que o ativo transferido seja desreconhecido e a entidade mensurar o ativo transferido ao custo amortizado, o respectivo passivo deve ser mensurado ao seu custo (ou seja, contraprestação recebida), ajustado pela amortização de qualquer diferença entre o custo e o valor contábil bruto do ativo transferido na data de vencimento da opção. Por exemplo, suponha que o valor contábil bruto do ativo na data da transferência seja $ 98 e que a contraprestação recebida seja $ 95. O valor contábil bruto do ativo na data de exercício da opção será de $ 100. O valor contábil inicial do respectivo passivo é $ 95 e a diferença entre $ 95 e $ 100 deve ser reconhecida no resultado, usando o método de juros efetivos. Se a opção for exercida, qualquer diferença entre o valor contábil e o respectivo passivo e o preço de exercício deve ser reconhecida no resultado.

Ativo mensurado ao valor justo

(c) Se o direito da opção de compra retido pela entidade impedir que o ativo transferido seja desreconhecido e a entidade mensurar o ativo transferido ao valor justo, o ativo continuará a ser mensurado ao seu valor justo. O respectivo passivo deve ser mensurado ao (i) preço de exercício da opção menos o valor da opção no tempo, se a opção estiver dentro do preço ou no preço, ou ao (ii) valor justo do ativo transferido menos o valor da opção no tempo, se a opção estiver fora do preço. O ajuste na mensuração do respectivo passivo garante que o valor contábil líquido do ativo e do respectivo passivo seja o valor justo do direito da opção de compra. Por exemplo, se o valor justo do ativo subjacente é $ 80, o preço de exercício da opção é $ 95 e o valor da opção no tempo é $ 5, o valor contábil do respectivo passivo é $ 75 ($ 80 - $ 5) e o valor contábil do ativo transferido é $ 80 (ou seja, seu valor justo).

(d) Se a opção de venda lançada pela entidade impedir que o ativo transferido seja desreconhecido e a entidade mensurar o ativo transferido ao valor justo, o respectivo passivo deve ser mensurado ao preço de exercício da opção mais o valor da opção no tempo. A mensuração do ativo ao valor justo é limitada ao que for menor entre o valor justo e o preço de exercício da opção, porque a entidade não tem direito a aumentos no valor justo do ativo transferido acima do preço de exercício da opção. Isso garante que o valor contábil líquido do ativo e do respectivo passivo seja o valor justo da obrigação de opção de venda. Por exemplo, se o valor justo do ativo subjacente é $ 120, o preço de exercício da opção é $ 100 e o valor da opção no tempo é $ 5, o valor contábil do respectivo passivo é $ 105 ($ 100 + $ 5) e o valor contábil do ativo é $ 100 (nesse caso, o preço de exercício da opção).

(e) Se o "colar", na forma de resgate de opção comprada e opção lançada, impedir que o ativo transferido seja desreconhecido e a entidade mensurar o ativo ao valor justo, ela deve continuar a mensurar o ativo ao valor justo. O respectivo passivo deve ser mensurado pela (i) soma do preço de exercício da opção de compra e o valor justo da opção de venda menos o valor da opção de compra no tempo, se a opção de compra estiver dentro do preço ou no preço, ou pela (ii) soma do valor justo do ativo e do valor justo da opção de venda menos o valor da opção de compra no tempo, se a opção de compra estiver fora do preço. O ajuste ao respectivo passivo garante que o valor contábil líquido do ativo e do respectivo passivo seja o valor justo das opções detidas e lançadas pela entidade. Por exemplo, suponha que a entidade transfira o ativo financeiro que seja mensurado ao valor justo e, ao mesmo tempo, compre uma opção de compra com preço de exercício de $ 120 e lance uma opção de venda com preço de exercício de $ 80. Suponha também que o valor justo do ativo seja $ 100 na data da transferência. O valor das opções de venda e compra no tempo são $ 1 e $ 5, respectivamente. Nesse caso, a entidade reconhece um ativo de $ 100 (o valor justo do ativo) e o passivo de $ 96 (($ 100 + $ 1) - $ 5). Isso dá o valor de ativo líquido de $ 4, que é o valor justo das opções detidas e lançadas pela entidade.

Todas as transferências

B3.2.14 Na medida em que a transferência do ativo financeiro não se qualificar para desreconhecimento, os direitos e as obrigações contratuais do cedente relacionados à transferência não devem ser contabilizados separadamente como derivativos, se o reconhecimento tanto do derivativo quanto do ativo transferido ou passivo resultante da transferência resultar no reconhecimento dos mesmos direitos e obrigações duas vezes. Por exemplo, a opção de compra retida pelo cedente pode impedir a transferência do ativo financeiro de ser contabilizada como venda. Nesse caso, a opção de compra não deve ser reconhecida separadamente como um ativo derivativo.

B3.2.15 Na medida em que a transferência do ativo financeiro não se qualificar para desreconhecimento, o cessionário não deve reconhecer o ativo transferido como seu ativo. O cessionário deve desreconhecer o caixa ou outra contraprestação paga e deve reconhecer a conta a receber do cedente. Se o cedente tiver tanto o direito quanto a obrigação de readquirir o controle de todo o ativo transferido por valor fixo (como, por exemplo, de acordo com o acordo de recompra), o cessionário pode mensurar sua conta a receber ao custo amortizado se atender aos critérios do item 4.1.2.

Exemplos

B3.2.16 Os seguintes exemplos ilustram a aplicação dos princípios de desreconhecimento deste pronunciamento.

(a) Contrato de recompra e empréstimo de título. Se o ativo financeiro for vendido de acordo com um contrato para recomprá-lo a preço fixo, ou ao preço de venda mais o retorno de juros ou se for emprestado de acordo com o contrato para devolvê-lo ao cedente, ele não deve ser desreconhecido, porque o cedente retém substancialmente todos os riscos e benefícios da propriedade. Se o cessionário obtiver o direito de vender o ativo ou oferecê-lo em garantia, o cedente deve reclassificar o ativo em seu balanço patrimonial, por exemplo, como ativo emprestado ou recebível por recompra.

(b) Contrato de recompra e empréstimo de título - ativos que são substancialmente os mesmos. Se o ativo financeiro for vendido de acordo com o contrato para recomprar o mesmo ativo ou substancialmente o mesmo ativo a preço fixo ou ao preço de venda mais o retorno de juros ou se o ativo financeiro for tomado por empréstimo ou emprestado de acordo com o contrato para devolver o mesmo ativo ou substancialmente o mesmo ativo ao cedente, ele não deve ser desreconhecido, porque o cedente retém substancialmente todos os riscos e benefícios da propriedade.

(c) Contrato de recompra e empréstimo de título - direito de substituição. Se o acordo de recompra a preço de recompra fixo ou a preço igual ao preço de venda mais o retorno de juros, ou de transação de empréstimo de título similar, fornecer ao cessionário o direito de substituir ativos que são similares e de valor justo igual ao ativo transferido na data de recompra, o ativo vendido ou emprestado de acordo com a transação de recompra ou empréstimo de título não é desreconhecido, porque o cedente retém substancialmente todos os riscos e benefícios da propriedade.

(d) Direito da primeira recusa para recompra ao valor justo. Se a entidade vender o ativo financeiro e retiver apenas o direito da primeira recusa para recomprar o ativo transferido ao valor justo, se o cessionário subsequentemente o vender, a entidade deve desreconhecer o ativo, porque transferiu substancialmente todos os riscos e benefícios da propriedade.

(e) Transação "wash sale". A recompra do ativo financeiro, logo após ter sido vendido, é algumas vezes denominada wash sale. Essa recompra não impede o desreconhecimento, desde que a transação original atenda aos requisitos de desreconhecimento. Entretanto, se o contrato para vender o ativo financeiro for celebrado simultaneamente com o contrato para recomprar o mesmo ativo a preço fixo ou a preço de venda mais o retorno de juros, então o ativo não é desreconhecido.

(f) Opção de venda e opção de compra que estão substancialmente dentro do preço. Se o ativo financeiro transferido puder ser resgatado pelo cedente e a opção de compra estiver substancialmente dentro do preço, a transferência não se qualifica para desreconhecimento, porque o cedente reteve substancialmente todos os riscos e benefícios da propriedade. Similarmente, se o ativo financeiro puder ser revendido pelo cessionário e a opção de venda estiver substancialmente dentro do preço, a transferência não se qualifica para desreconhecimento, porque o cedente reteve substancialmente todos os riscos e benefícios da propriedade.

(g) Opção de venda e opção de compra que estão substancialmente fora do preço. O ativo financeiro é desreconhecido quando sujeito apenas à opção de venda substancialmente fora do preço detida pelo cessionário ou à opção de compra substancialmente fora do preço detida pelo cedente. Isso porque o cedente transferiu substancialmente todos os riscos e benefícios da propriedade.

(h) Ativo prontamente disponível, sujeito à opção de compra que não esteja nem substancialmente dentro do preço, nem substancialmente fora do preço. Se a entidade detiver a opção de compra sobre o ativo que esteja prontamente disponível no mercado e a opção não estiver nem substancialmente no preço, nem substancialmente fora do preço, o ativo é desreconhecido. Isso porque a entidade (i) não reteve nem transferiu substancialmente todos os riscos e benefícios da propriedade e (ii) não reteve o controle. Entretanto, se o ativo não estiver prontamente disponível no mercado, o desreconhecimento é impossibilitado em relação ao valor do ativo que está sujeito à opção de compra, porque a entidade reteve o controle do ativo.

(i) Ativo não prontamente disponível, sujeito à opção de venda lançada por entidade que não está nem substancialmente dentro do preço, nem substancialmente fora do preço. Se a entidade transferir o ativo financeiro que não esteja prontamente disponível no mercado e lançar a opção de venda que não esteja substancialmente fora do preço, a entidade não retém nem transfere substancialmente todos os riscos e benefícios da propriedade, por causa da opção de venda lançada. A entidade retém o controle do ativo, se a opção de venda for suficientemente valiosa para impedir que o cessionário venda o ativo, caso em que o ativo deve continuar a ser reconhecido na medida do envolvimento contínuo do cedente (ver item B3.2.9). A entidade pode transferir o controle do ativo, se a opção de venda não for suficientemente valiosa para impedir que o cessionário venda o ativo, caso em que o ativo é desreconhecido.

(j) Ativo sujeito à opção de venda ou compra ao valor justo ou acordo de recompra a termo. A transferência de ativo financeiro, que esteja sujeita apenas à opção de venda ou compra ou a acordo de recompra a termo que tenha preço de exercício ou de recompra igual ao valor justo do ativo financeiro, na época da recompra, resulta em desreconhecimento por causa da transferência de substancialmente todos os riscos e benefícios da propriedade.

(k) Opção de compra ou de venda liquidada pelo valor à vista. A entidade avalia a transferência do ativo financeiro que esteja sujeito à opção de venda ou compra ou a acordo de recompra a termo que seja liquidado pelo valor líquido à vista, para determinar se reteve ou transferiu substancialmente todos os riscos e benefícios da propriedade. Se a entidade não tiver retido substancialmente todos os riscos e benefícios da propriedade do ativo financeiro, ela deve determinar se reteve o controle do ativo financeiro. O fato de a venda ou compra ou acordo de recompra a termo ser liquidado pelo valor líquido à vista não significa, automaticamente, que a entidade transferiu o controle (ver itens B3.2.9 e (g),(h) e (i) acima).(l) Retirada de previsão de contas. A retirada de previsão de contas é a opção de recompra (compra) incondicional que dá à entidade o direito de reivindicar ativos transferidos, observadas algumas restrições. Desde que essa opção resulte no fato de a entidade não reter, nem transferir substancialmente todos os riscos e benefícios da propriedade, ela impede o desreconhecimento apenas na medida do valor sujeito à recompra (supondo que o cessionário não consiga vender os ativos). Por exemplo, se o valor contábil e a receita da transferência de ativos de empréstimo forem $ 100.000 e qualquer empréstimo individual puder ser recomprado, mas o valor total dos empréstimos, que possam ser recomprados não pode exceder $ 10.000, $ 90.000 dos empréstimos se qualificariam para desreconhecimento.

(m) Resgate do saldo pendente. A entidade, que pode ser o cedente, que realize serviço de cobrança de ativos transferidos, pode deter a opção de resgate do saldo pendente para comprar o restante dos ativos transferidos, quando o valor dos ativos pendentes cair até um nível especificado, em que o custo do serviço de cobrança desses ativos se torne oneroso em relação aos benefícios do serviço de cobrança. Desde que o resgate do saldo pendente resulte no fato de a entidade não reter nem transferir substancialmente todos os riscos e benefícios da propriedade e o cessionário não puder vender os ativos, ela impede o desreconhecimento apenas em relação ao valor dos ativos que está sujeito à opção de compra.

(n) Juro retido subordinado e garantia de crédito. A entidade pode fornecer ao cessionário uma melhoria de crédito, subordinando parte ou a totalidade de seus juros retidos no ativo transferido. Alternativamente, a entidade pode fornecer ao cessionário uma melhoria de crédito, na forma de garantia de crédito, que pode ser ilimitada ou limitada a um valor especificado. Se a entidade retiver substancialmente todos os riscos e benefícios da propriedade do ativo transferido, o ativo continua a ser reconhecido em sua totalidade. Se a entidade retiver parte dos, mas não substancialmente todos, riscos e benefícios da propriedade e retiver o controle, o desreconhecimento é impossibilitado em relação ao valor à vista ou de outros ativos que a entidade possa ser obrigada a pagar.

(o) Swap de retorno total. A entidade pode vender o ativo financeiro ao cessionário e celebrar uma transação de swap de retorno total com o cessionário, pela qual todos os fluxos de caixa de pagamento de juros provenientes do ativo subjacente sejam remetidos à entidade em troca do pagamento fixo ou pagamento de taxa variável, e quaisquer aumentos ou reduções no valor justo do ativo subjacente sejam absorvidos pela entidade. Nesse caso, o desreconhecimento da totalidade do ativo é proibido.

(p) Swap de taxa de juro. A entidade pode transferir o ativo financeiro de taxa fixa e celebrar uma transação de swap de taxa de juros com o cessionário para receber taxa de juros fixa e pagar taxa de juros variável, com base no valor nocional que é igual ao valor principal do ativo financeiro transferido. O swap de taxa de juros não impede o desreconhecimento do ativo transferido, desde que os pagamentos de swap não sejam condicionados aos pagamentos que estiverem sendo feitos em relação ao ativo transferido.

(q) Swap de taxa de juro de amortização. A entidade pode transferir o ativo financeiro de taxa fixa, que seja paga ao longo do tempo, e celebrar uma transação de swap de taxa de juros de amortização com o cessionário para receber taxa de juros fixa e pagar taxa de juros variável, com base no valor nocional. Se o valor nocional do swap for amortizado de modo que fique igual ao valor principal do ativo financeiro transferido, pendente em qualquer ponto do tempo, o swap, de modo geral, poderia resultar no fato de a entidade reter o risco de pagamento antecipado substancial, caso em que a entidade deve continuar a reconhecer a totalidade do ativo transferido ou deve continuar a reconhecer o ativo transferido em relação ao seu envolvimento contínuo. Ao contrário, se a amortização do valor nocional do swap não for vinculada ao valor principal pendente do ativo transferido, esse swap não resultaria no fato de a entidade reter o risco de pagamento antecipado do ativo. Portanto, não impediria o desreconhecimento do ativo transferido, desde que os pagamentos de swap não sejam condicionados aos pagamentos de juros sobre o ativo transferido e o swap não resulte no fato de a entidade reter outros riscos e benefícios significativos da propriedade do ativo transferido.

(r) Baixa (write-off). A entidade não possui expectativas razoáveis de recuperar os fluxos de caixa contratuais sobre a totalidade ou parte do ativo financeiro.

B3.2.17 Este item ilustra a aplicação da abordagem do envolvimento contínuo, quando o envolvimento contínuo da entidade estiver em uma parte do ativo financeiro

Suponha que a entidade tenha uma carteira de empréstimos pré-pagáveis cuja taxa de juros efetiva e cupom sejam de 10% e cujo valor principal e custo amortizado seja de $ 10.000.   Ela celebra uma transação em que, em retorno pelo pagamento de $ 9.115, o cessionário obtém o direito a $ 9.000 de quaisquer cobranças de principal mais juros à taxa de 9,5%. A entidade retém os direitos a $ 1.000 de quaisquer cobranças de principal mais juros, à taxa de 10%, mais o spread de excesso de 0,5% sobre os $ 9.000 restantes do principal. As cobranças de pagamentos antecipados são alocadas entre a entidade e o cessionário proporcionalmente na razão de 1:9, mas quaisquer inadimplências são deduzidas dos juros da entidade de $ 1.000 até que os juros sejam extintos. O valor justo dos empréstimos na data da transação é $ 10.100, e o valor justo estimado do spread de excesso de 0,5% é $ 40. A entidade determina que transferiu alguns riscos e benefícios significativos da propriedade (por exemplo, risco significativo de pagamento antecipado), mas também reteve alguns riscos e benefícios significativos da propriedade (por causa de sua participação retida subordinada) e reteve o controle. Ela, portanto, deve aplicar a abordagem do envolvimento contínuo. Para aplicar este pronunciamento, a entidade deve analisar a transação como (a) retenção da participação retida totalmente proporcional de $ 1.000, mais (b) a subordinação dessa participação retida para fornecer melhoria de crédito ao cessionário pelas perdas de crédito. A entidade calcula que $ 9.090 (90% × $ 10.100) da contraprestação recebida de $ 9.115 represente a contraprestação pela parcela de 90% totalmente proporcional. O restante da contraprestação recebida ($ 25) representa a contraprestação recebida pela subordinação de sua participação retida para fornecer melhoria de crédito ao cessionário pelas perdas de crédito. Além disso, o spread de excesso de 0,5% representa a contraprestação recebida pela melhoria de crédito. Consequentemente, a contraprestação total recebida pela melhoria de crédito é $ 65 ($ 25 + $ 40). A entidade deve calcular o ganho ou a perda na venda da parcela de 90% dos fluxos de caixa. Supondo que os valores justos separados da parcela de 90% transferida e da parcela de 10% retida não estejam disponíveis na data da transferência, a entidade deve alocar o valor contábil do ativo, de acordo com o item 3.2.14 do CPC 48 da seguinte forma:
  Valor justo   Porcentagem  Valor contábil alocado  
Parcela transferida  9.090   90%  9.000  
Parcela retida  1.010   10%  1.000  
Total  10.100     10.000  
A entidade deve calcular seu ganho ou perda na venda da parcela de 90% dos fluxos de caixa, deduzindo o valor contábil alocado da parcela transferida da contraprestação recebida, ou seja, $ 90 ($ 9.090 - $ 9.000). O valor contábil da parcela retida pela entidade é $ 1.000.   Além disso, a entidade deve reconhecer o envolvimento contínuo que resulta da subordinação de sua participação retida para perdas de crédito. Consequentemente, ela deve reconhecer o ativo de $ 1.000 (o valor máximo dos fluxos de caixa que não receberia de acordo com a subordinação) e o respectivo passivo de $ 1.065 (que é o valor máximo dos fluxos de caixa que não receberia de acordo com a subordinação, ou seja, $ 1.000 mais o valor justo da subordinação de $ 65). A entidade usa todas as informações acima para contabilizar a transação da seguinte forma:
  Débito   Crédito 
Ativo original     9.000 
Ativo reconhecido para a subordinação ou participação residual   1.000    
Ativo para a contraprestação recebida na forma de spread de excesso   40    
Resultado (ganho sobre a transferência)     90 
Passivo     1.065 
Dinheiro recebido   9.115    
Total   10.155   10.155 

Imediatamente após a transação, o valor contábil do ativo é $ 2.040, compreendendo $ 1.000, que representa o custo alocado da parcela retida, e $ 1.040, que representa o envolvimento contínuo adicional da entidade, que resulta da subordinação de sua participação retida para perdas de crédito (que inclui o spread de excesso de $ 40).  

Em períodos subsequentes, a entidade deve reconhecer a contraprestação recebida pela melhoria de crédito ($ 65) em regime de tempo transcorrido, acumular juros sobre o ativo reconhecido, usando o método de juros efetivos, e reconhecer quaisquer perdas por redução ao valor recuperável nos ativos reconhecidos. Como exemplo desse último, suponha que, no ano seguinte, haja a perda por redução ao valor recuperável nos empréstimos subjacentes de $ 300. A entidade reduz seu ativo reconhecido em $ 600 ($ 300 referente à sua participação retida e $ 300 referente ao envolvimento contínuo adicional que resulta da subordinação de sua participação retida para perdas por redução ao valor recuperável) e reduz seu passivo reconhecido em $ 300. O resultado líquido será o lançamento no resultado, referente a perdas por redução ao valor recuperável de $ 300.


Desreconhecimento de passivo financeiro (Seção 3.3)

B3.3.1 O passivo financeiro (ou parte dele) deve ser extinto quando o devedor:

(a) liquidar o passivo (ou parte dele), pagando ao credor, normalmente à vista ou com outros ativos financeiros, bens ou serviços; ou

(b) for legalmente dispensado de sua responsabilidade primária pelo passivo (ou parte dele), seja por processo jurídico ou pelo credor (se o devedor tiver dado garantia, essa condição ainda pode ser atendida).

B3.3.2 Se o emitente do instrumento de dívida recomprar esse instrumento, a dívida deve ser extinta, mesmo se o emitente for formador de mercado nesse instrumento ou pretender revendê-lo em futuro próximo.

B3.3.3 O pagamento a terceiro, incluindo sociedade fiduciária (algumas vezes denominado "liquidação contratual na essência"), por si só, não libera o devedor de sua obrigação primária perante o credor, na ausência de dispensa legal.

B3.3.4 Se o devedor pagar a terceiro para assumir a obrigação e notificar seu credor de que o terceiro assumiu sua obrigação de dívida, o devedor não dever desreconhecer a obrigação de dívida, a menos que a condição do item B3.3.1 (b) seja atendida. Se o devedor pagar a terceiro para assumir a obrigação e obtiver a dispensa legal de seu credor, o devedor extinguiu a dívida. Entretanto, se o devedor concordar em fazer pagamentos da dívida ao terceiro ou direcioná-los ao seu credor original, o devedor deve reconhecer nova obrigação de dívida perante o terceiro.

B3.3.5 Embora a dispensa legal, seja judicialmente ou pelo credor, resulte no desreconhecimento do passivo, a entidade pode reconhecer novo passivo se os critérios de desreconhecimento nos itens 3.2.1 a 3.2.23 não forem atendidos para os ativos financeiros transferidos. Se esses critérios não forem atendidos, os ativos transferidos não devem ser desreconhecidos e a entidade deve reconhecer novo passivo em relação aos ativos transferidos.

B3.3.6 Para a finalidade do item 3.3.2, os termos são substancialmente diferentes se o valor presente descontado dos fluxos de caixa de acordo com os novos termos, incluindo quaisquer taxas pagas líquidas de quaisquer taxas recebidas e descontados usando a taxa de juros efetiva original, for pelo menos 10% diferente do valor presente descontado dos fluxos de caixa restantes do passivo financeiro original. Ao determinar essas taxas pagas líquidas de taxas recebidas, o devedor inclui apenas taxas pagas ou recebidas entre o devedor e o credor, incluindo taxas pagas ou recebidas pelo devedor ou pelo credor em nome do outro.

B3.3.6 A Se a troca de instrumentos de dívida ou modificação de termos for contabilizada como extinção, quaisquer custos ou taxas incorridos devem ser reconhecidos como parte do ganho ou perda na extinção. Se a troca ou modificação não for contabilizada como extinção, quaisquer custos ou taxas incorridos devem ajustar o valor contábil do passivo e devem ser amortizados ao longo do prazo restante do passivo modificado.

B3.3.7 Em alguns casos, o credor dispensa o devedor de sua obrigação presente de fazer pagamentos, mas o devedor assume a obrigação de garantia de pagar, se a parte que assumir a responsabilidade primária inadimplir. Nessas circunstâncias, o devedor:

(a) deve reconhecer novo passivo financeiro com base no valor justo de sua obrigação para a garantia; e

(b) deve reconhecer o ganho ou a perda com base na diferença entre (i) quaisquer proventos pagos e (ii) o valor contábil do passivo financeiro original, menos o valor justo do novo passivo financeiro.

Classificação (Capítulo 4)

Classificação de ativo financeiro (Seção 4.1)

Modelo de negócio da entidade para gestão de ativo financeiro

B4.1.1 O item 4.1.1 (a) exige que a entidade classifique ativos financeiros com base no modelo de negócios da entidade para a gestão dos ativos financeiros, salvo se o item 4.1.5 for aplicável. A entidade deve avaliar se seus ativos financeiros atendem à condição do item 4.1.2 (a) ou à condição do item 4.1.2A (a) com base no modelo de negócios, conforme determinado pelo pessoal-chave da administração da entidade (tal como definido no CPC 05).

B4.1.2 O modelo de negócios da entidade é determinado no nível que reflita como os grupos de ativos financeiros são gerenciados em conjunto para atingir o objetivo comercial específico. O modelo de negócios da entidade não depende das intenções da administração em relação ao instrumento individual. Consequentemente, essa condição não representa uma abordagem do instrumento individual para a classificação, devendo ser determinada no nível mais alto de agregação. Contudo, uma única entidade pode ter mais de um modelo de negócios para gerenciar seus instrumentos financeiros. Consequentemente, a classificação não precisa ser determinada no nível da entidade que reporta. Por exemplo, a entidade pode deter uma carteira de investimentos que ela gerencia a fim de receber fluxos de caixa contratuais e outra carteira de investimentos que ela gerencia a fim de negociar para realizar alterações no valor justo. Similarmente, em algumas circunstâncias, pode ser adequado separar a carteira de ativos financeiros em subcarteiras de modo a refletir o nível em que a entidade gerencia esses ativos financeiros. Por exemplo, esse pode ser o caso se a entidade conceder ou comprar uma carteira de empréstimos imobiliários e gerenciar alguns dos empréstimos com o objetivo de receber fluxos de caixa contratuais e gerenciar os demais empréstimos com o objetivo de vendêlos.

B4.1.2A O modelo de negócios da entidade refere-se a como a entidade gerencia seus ativos financeiros para gerar fluxos de caixa. Ou seja, o modelo de negócios da entidade determina se os fluxos de caixa resultam do recebimento de fluxos de caixa contratuais, venda de ativos financeiros ou ambos. Consequentemente, essa avaliação não é realizada com base em cenários que a entidade não espera razoavelmente que ocorram, tal como os denominados "cenários de estresse" ou "piores hipóteses". Por exemplo, se a entidade espera vender determinada carteira de ativos financeiros somente em cenário de estresse, esse cenário não afeta a avaliação da entidade do modelo de negócios para esses ativos se a entidade, razoavelmente, espera que esse cenário não ocorra. Se os fluxos de caixa são realizados de forma diferente das expectativas da entidade na data em que a entidade avaliou o modelo de negócios (por exemplo, se a entidade vende mais ou menos ativos financeiros do que esperava quando classificou os ativos), isso não origina erro de período anterior nas demonstrações contábeis da entidade (ver CPC 23), nem altera a classificação dos ativos financeiros remanescentes mantidos nesse modelo de negócios (ou seja, aqueles ativos que a entidade reconheceu em períodos anteriores e ainda mantém), uma vez que a entidade considerou todas as informações relevantes disponíveis na época em que realizou a avaliação do modelo de negócios. Contudo, quando a entidade avaliar o modelo de negócios para ativos financeiros recentemente concedidos ou comprados, ela deve considerar informações sobre como os fluxos de caixa foram realizados no passado, juntamente com todas as demais informações relevantes.

B4.1.2B O modelo de negócios da entidade para gerenciar ativos financeiros é um fato e, não, simplesmente uma afirmação. Normalmente, é observável, por meio das atividades, com que a entidade compromete-se para atingir o objetivo do modelo de negócios. A entidade deve utilizar julgamento quando avaliar seu modelo de negócios para gerenciar ativos financeiros e essa avaliação não é determinada por um único fator ou atividade. Em vez disso, a entidade deve considerar toda a evidência relevante, disponível na época da avaliação. Essa evidência relevante deve incluir, entre outras coisas:

(a) como o desempenho do modelo de negócios e os ativos financeiros mantidos nesse modelo de negócios são avaliados e reportados ao pessoal-chave da administração da entidade;

(b) os riscos que afetam o desempenho do modelo de negócios (e os ativos financeiros mantidos nesse modelo de negócios) e, em particular, a forma como esses riscos são gerenciados; e

(c) como os gestores do negócio são remunerados (por exemplo, se a remuneração baseia-se no valor justo dos ativos gerenciados ou nos fluxos de caixa contratuais recebidos).

Modelo de negócios cujo objetivo é manter ativos com o fim de receber fluxos de caixa contratuais

B4.1.2C Os ativos financeiros mantidos em modelo de negócios, cujo objetivo é manter ativos para receber fluxos de caixa contratuais, são gerenciados para realizar fluxos de caixa por meio do recebimento de pagamentos contratuais ao longo da vida do instrumento. Ou seja, a entidade gerencia os ativos mantidos na carteira para receber esses fluxos de caixa contratuais específicos (em vez de gerenciar o retorno geral sobre a carteira, por meio tanto da manutenção quanto da venda dos ativos). Ao determinar se os fluxos de caixa são realizados por meio do recebimento dos fluxos de caixa contratuais dos ativos financeiros, é necessário considerar a frequência, o valor e a época das vendas em períodos anteriores, os motivos para essas vendas e as expectativas sobre a futura atividade de vendas. Entretanto, as vendas em si não determinam o modelo de negócios e, portanto, não podem ser consideradas isoladamente. Em vez disso, as informações sobre vendas passadas e as expectativas sobre vendas futuras fornecem evidências referentes a como o objetivo declarado da entidade para gerenciar os ativos financeiros é alcançado e, especificamente, como são realizados os fluxos de caixa. A entidade deve considerar informações sobre vendas passadas dentro do contexto dos motivos para essas vendas e das condições que existiam na ocasião em comparação com as condições atuais.

B4.1.3 Embora o objetivo do modelo de negócios da entidade possa ser manter ativos financeiros a fim de receber fluxos de caixa contratuais, a entidade não precisa manter todos esses instrumentos até o vencimento. Desse modo, o modelo de negócios da entidade pode ser manter ativos financeiros para receber fluxos de caixa contratuais, mesmo quando vendas de ativos financeiros ocorram, ou seja, esperado que ocorram no futuro.

B4.1.3A O modelo de negócios pode ser manter ativos para receber fluxos de caixa contratuais, mesmo se a entidade vende ativos financeiros quando existe aumento no risco de crédito dos ativos. Para determinar se houve aumento do risco de crédito dos ativos, a entidade deve considerar informações razoáveis e sustentáveis, incluindo informações prospectivas. Independentemente de sua frequência e valor, as vendas resultantes do aumento no risco de crédito dos ativos não são inconsistentes com o modelo de negócios cujo objetivo é manter ativos financeiros para receber fluxos de caixa contratuais, pois a qualidade de crédito de ativos financeiros é relevante para a capacidade da entidade de receber fluxos de caixa contratuais. As atividades de gerenciamento de risco, que visam minimizar potenciais perdas de crédito devido à deterioração de crédito, são parte integrante desse modelo de negócios. Vender um ativo financeiro por ele não atender mais aos critérios de crédito, especificados na política de investimento documentada da entidade, é um exemplo de venda que ocorreu devido ao aumento no risco de crédito. Entretanto, na ausência dessa política, a entidade pode demonstrar, de outras formas, que a venda ocorreu devido ao aumento no risco de crédito.

B4.1.3B As vendas que ocorrem por outros motivos, tais como vendas realizadas para gerenciar risco de concentração de crédito (sem aumento no risco de crédito da entidade), também podem ser consistentes com o modelo de negócios, cujo objetivo é manter ativos financeiros para receber fluxos de caixa contratuais. Particularmente, essas vendas podem ser consistentes com o modelo de negócios, cujo objetivo é manter ativos financeiros para receber fluxos de caixa contratuais, se essas vendas não forem frequentes (ainda que significativas em valor) ou insignificantes em valor, tanto individualmente, quanto no total (ainda que frequentes). Se um número mais que infrequente das vendas for efetuado da carteira e essas vendas são mais do que insignificantes em valor (individualmente ou no total), a entidade deve avaliar se, e como, essas vendas são consistentes com o objetivo de receber fluxos de caixa contratuais. A possibilidade de terceiro impor o requisito para vender os ativos financeiros, ou que a atividade está a critério da entidade, não é relevante para essa avaliação. O aumento na frequência ou no valor de vendas em período específico não é necessariamente inconsistente com o objetivo de manter ativos financeiros para receber fluxos de caixa contratuais, se a entidade puder explicar os motivos para essas vendas e demonstrar porque essas vendas não refletem uma alteração no modelo de negócios da entidade. Além disso, as vendas podem ser consistentes com o objetivo de manter ativos financeiros para receber fluxos de caixa contratuais, se forem realizadas próximas ao vencimento dos ativos financeiros e a receita das vendas se aproximar do recebimento dos fluxos de caixa contratuais remanescentes.

B4.1.4 Seguem exemplos de quando o objetivo do modelo de negócios da entidade pode ser manter ativos financeiros para receber fluxos de caixa contratuais. A lista de exemplos não é exaustiva. Ademais, os exemplos não pretendem discutir todos os fatores que podem ser relevantes para a avaliação do modelo de negócios da entidade, nem especificar a importância relativa dos fatores.

Exemplo  Análise 
Exemplo 1  A entidade detém investimentos para receber seus fluxos de caixa contratuais. As necessidades de custeio da entidade são previsíveis e o vencimento de seus ativos financeiros corresponde exatamente às necessidades de custeio estimadas da entidade. A entidade realiza atividades de gerenciamento de risco de crédito com o objetivo de minimizar as perdas de crédito. No passado, as vendas normalmente ocorriam quando o risco de crédito dos ativos financeiros aumentava de modo que os ativos não atendiam mais aos critérios de crédito especificados na política de investimentos documentada da entidade. Além disso, vendas infrequentes ocorreram como resultado de necessidades de custeio não antecipadas. Os relatórios ao pessoal-chave da administração focam na qualidade de crédito dos ativos financeiros e no retorno contratual. A entidade também monitora os valores justos dos ativos financeiros, entre outras informações. Embora a entidade considere, entre outras informações, os valores justos dos ativos financeiros da perspectiva de liquidez (ou seja, o valor à vista que seria realizado se a entidade precisasse vender ativos), o objetivo da entidade é manter os ativos financeiros a fim de receber os fluxos de caixa contratuais. As vendas não contradiriam esse objetivo caso respondessem ao aumento no risco de crédito dos ativos, por exemplo, se os ativos não atendem mais aos critérios de crédito especificados na política de investimento documentada da entidade. Vendas infrequentes, resultantes de necessidades de custeio não antecipadas (por exemplo, em cenário de "estresse"), também não contradiriam esse objetivo, mesmo se essas vendas forem significativas em valor. 
Exemplo 2  O modelo de negócios da entidade é comprar carteiras de ativos financeiros, tais como empréstimos. Essas carteiras podem ou não incluir ativos financeiros que apresentam problemas de recuperação de crédito. Se o pagamento dos empréstimos não for feito de forma tempestiva, a entidade tenta realizar os. fluxos de caixa contratuais por vários meios - por exemplo, entrando em contato com o devedor por correio, telefone ou outros métodos. O objetivo da entidade é receber fluxos de caixa contratuais e a entidade não gerencia quaisquer dos empréstimos nessa carteira com o objetivo de realizar fluxos de caixa por meio da venda deles. Em alguns casos, a entidade realiza transações de swap de taxa de juros para trocar a taxa de juros de ativos financeiros específicos da carteira de taxa variável para taxa fixa. O objetivo do modelo de negócios da entidade é manter os ativos financeiros a fim de receber os fluxos de caixa contratuais.  A mesma análise seria aplicável mesmo que a entidade não esperasse receber todos os fluxos de caixa contratuais (por exemplo, alguns dos ativos financeiros apresentam problemas de recuperação de crédito no reconhecimento inicial). Além disso, o fato de que a entidade realiza transações com derivativos, para modificar os fluxos de caixa da carteira, não modifica por si só o modelo de negócios da entidade.
Exemplo 3  A entidade tem um modelo de negócios com o objetivo de conceder empréstimos a clientes e, posteriormente, vendê-los a um veículo de securitização. O veículo de securitização emite instrumentos a investidores. A entidade concedente controla o veículo de securitização e, assim, consolida-o. O veículo de securitização recebe os fluxos de caixa contratuais dos empréstimos e os repassa a seus investidores. Presume-se, para fins deste exemplo, que os empréstimos continuam a ser reconhecidos no balanço patrimonial consolidado porque não são desreconhecidos pelo veículo de securitização. O grupo consolidado originou os empréstimos com o objetivo de mantê-los para receber os fluxos de caixa contratuais.  Contudo, a entidade concedente tem por objetivo realizar os fluxos de caixa da carteira de empréstimos por meio da venda desses empréstimos ao veículo de securitização. Assim, para fins de suas demonstrações contábeis separadas, ela não seria considerada como estando gerenciando essa carteira a fim de receber os fluxos de caixa contratuais.
Exemplo 4  Uma instituição financeira detém ativos financeiros para atender às necessidades de liquidez em cenário de "estresse" (por exemplo, corrida para os depósitos bancários). A entidade não espera vender esses ativos, exceto nesses cenários. A entidade monitora a qualidade de crédito dos ativos financeiros e seu objetivo ao gerenciar os. ativos financeiros é receber os fluxos de caixa contratuais. A entidade avalia o desempenho dos ativos com base na receita de juros obtida e nas perdas de crédito realizadas. Entretanto, a entidade também monitora o valor justo dos ativos financeiros, sob a perspectiva de liquidez, para assegurar que o valor à vista que seria realizado, se a entidade precisasse vender os ativos em cenário de "estresse", seria suficiente para atender às necessidades de liquidez da entidade. Periodicamente, a entidade efetua vendas que são insignificantes em valor para demonstrar liquidez.

O objetivo do modelo de negócios da entidade é manter os ativos financeiros para receber os fluxos de caixa contratuais.  A análise não mudaria mesmo se, durante um cenário de estresse anterior, a entidade tivesse vendas significativas em valor para atender a suas necessidades de liquidez. De modo similar, a atividade de vendas recorrente, que seja insignificante em valor, não é inconsistente com a manutenção de ativos financeiros para receber fluxos de caixa contratuais. Por outro lado, se a entidade detém ativos financeiros para atender a suas necessidades de liquidez diárias e atender a esse objetivo envolve vendas frequentes significativas em valor, o objetivo do modelo de negócios da entidade não é manter os ativos financeiros para receber fluxos de caixa contratuais.

De modo similar, se a entidade é obrigada por seu regulador a vender rotineiramente ativos financeiros para demonstrar que os ativos são líquidos, e o valor dos ativos vendidos é significativo, o modelo de negócios da entidade não é manter ativos financeiros para receber fluxos de caixa contratuais. A possibilidade de um terceiro impor o requisito para vender os ativos financeiros, ou que a atividade está a critério da entidade, não é relevante para a análise.


Modelo de negócios cujo objetivo é atingido, tanto pelo recebimento de fluxos de caixa contratuais, quanto pela venda de ativos financeiros

B4.1.4A A entidade pode manter ativos financeiros em modelo de negócios cujo objetivo seja atingido, tanto pelo recebimento de fluxos de caixa contratuais, quanto pela venda de ativos financeiros. Nesse tipo de modelo de negócios, o pessoal-chave da administração da entidade tomou a decisão de que, tanto receber fluxos de caixa contratuais, quanto vender ativos financeiros, são partes integrantes do cumprimento do objetivo do modelo de negócios. Existem vários objetivos que podem ser consistentes com esse tipo de modelo de negócios. Por exemplo, o objetivo do modelo de negócios pode ser gerenciar necessidades diárias de liquidez, manter um perfil específico de remuneração de juros ou combinar a duração dos ativos financeiros com a duração dos passivos, que esses ativos estão custeando. Para alcançar esse objetivo, a entidade tanto recebe fluxos de caixa contratuais, quanto vende ativos financeiros.

B4.1.4B Em comparação com o modelo de negócios cujo objetivo é manter ativos financeiros para receber fluxos de caixa contratuais, esse modelo de negócios normalmente envolve maior frequência e valor de vendas. Isso porque a venda de ativos financeiros faz parte do cumprimento do objetivo do modelo de negócios e não é apenas incidental a ele. Contudo, não existe limite para a frequência ou o valor das vendas que devem ocorrer nesse modelo de negócios porque, tanto receber fluxos de caixa contratuais, quanto vender ativos financeiros, são partes integrantes do cumprimento de seu objetivo.

B4.1.4C Seguem exemplos de quando o objetivo do modelo de negócios da entidade pode ser alcançado, tanto por meio do recebimento de fluxos de caixa contratuais, quanto pela venda de ativos financeiros. A lista de exemplos não é exaustiva. Ademais, os exemplos não pretendem descrever todos os fatores que podem ser relevantes para a avaliação do modelo de negócios da entidade, nem especificar a importância relativa dos fatores.

Exemplo  Análise 
Exemplo 5  A entidade antecipa em alguns anos as despesas de capital e investe seu caixa excedente em ativos financeiros de curto e longo prazos, de modo que possa custear as despesas quando houver necessidade. Muitos dos ativos financeiros possuem prazos contratuais que superam o período de investimentos esperados da entidade. A entidade detém ativos financeiros para receber os fluxos de caixa contratuais e, quando surgir uma oportunidade, vende os ativos financeiros para reinvestir o caixa em ativos financeiros com retorno mais elevado. Os gestores responsáveis pela carteira são remunerados com base no retorno geral obtido pela carteira. O objetivo do modelo de negócios é atingido, tanto pelo recebimento de fluxos de caixa contratuais, quanto pela venda de ativos financeiros. A entidade toma decisões continuamente sobre se o recebimento de fluxos de caixa contratuais ou a venda de ativos financeiros maximiza o retorno sobre a carteira até surgir a necessidade do caixa investido.  Por outro lado, considere a entidade que espera um fluxo de saída de caixa em cinco anos para custear investimentos capitalizáveis e investe o caixa excedente em ativos financeiros de curto prazo. Quando os investimentos vencem, a entidade reinveste o caixa em novos ativos financeiros de curto prazo. A entidade mantém essa estratégia até que os recursos sejam necessários, ocasião em que a entidade utiliza a receita dos ativos financeiros a vencer para custear as despesas de capital. Somente as vendas insignificantes em valor ocorrem antes do vencimento (salvo se houver aumento no risco de crédito). O objetivo desse modelo de negócios contrastante é manter os ativos financeiros para receber os fluxos de caixa contratuais.
Exemplo 6  Uma instituição financeira detém ativos financeiros para atender a suas necessidades diárias de liquidez. A entidade busca minimizar os custos de gerenciar essas necessidades de liquidez e, portanto, gerencia ativamente o retorno sobre a carteira. Esse retorno consiste em receber pagamentos contratuais, bem como ganhos e perdas da venda de ativos financeiros. Como resultado, a entidade detém ativos financeiros para receber fluxos de caixa contratuais e vende ativos financeiros para reinvestir em ativos financeiros com rendimentos mais elevados ou para combinar melhor a duração de seus passivos. No passado, essa estratégia resultou em atividade frequente de vendas, e essas vendas foram significativas em valor. Espera-se que a atividade continue no futuro. O objetivo do modelo de negócios é maximizar o retorno sobre a carteira para atender às necessidades diárias de liquidez, e a entidade alcança esse objetivo, tanto pelo recebimento de fluxos de caixa contratuais, quanto pela venda de ativos financeiros. Em outras palavras, tanto o recebimento de fluxos de caixa contratuais, quanto a venda de ativos financeiros, são partes integrantes do cumprimento do objetivo do modelo de negócios. 
Exemplo 7  Uma seguradora detém ativos financeiros para custear passivos de contratos de seguro. A seguradora utiliza os proventos dos fluxos de caixa contratuais dos ativos financeiros para liquidar passivos de contratos de seguros à medida que vencem. Para garantir que os fluxos de caixa contratuais dos ativos financeiros sejam suficientes para liquidar esses passivos, a seguradora realiza atividade significativa de compra e venda regularmente para reequilibrar sua carteira de ativos e atender às necessidades de fluxo de caixa, conforme surgirem. O objetivo do modelo de negócios é custear os passivos de contratos de seguro. Para alcançar esse objetivo, a entidade recebe fluxos de caixa contratuais à medida que vencem e vende ativos financeiros para manter o perfil desejado da carteira de ativos. Dessa forma, tanto o recebimento de fluxos de caixa contratuais, quanto a venda de ativos financeiros, são partes integrantes do cumprimento do objetivo do modelo de negócios.

Outros modelos de negócios

B4.1.5 Ativos financeiros devem ser mensurados ao valor justo por meio do resultado, se não forem mantidos dentro de modelo de negócios, cujo objetivo seja manter ativos para receber fluxos de caixa contratuais, ou dentro de modelo de negócios, cujo objetivo seja alcançado, tanto pelo recebimento de fluxos de caixa contratuais, quanto pela venda de ativos financeiros (porém, ver também o item 5.7.5). O modelo de negócios que resulta em mensuração ao valor justo por meio do resultado é aquele no qual a entidade gerencia os ativos financeiros com o objetivo de realizar fluxos de caixa pela venda dos ativos. A entidade deve tomar decisões com base nos valores justos dos ativos e gerenciar os ativos para realizar esses valores justos. Nesse caso, o objetivo da entidade normalmente resulta em compra e venda ativas. Mesmo que a entidade receba fluxos de caixa contratuais enquanto detém os ativos financeiros, o objetivo desse modelo de negócios não é alcançado, tanto pelo recebimento de fluxos de caixa contratuais, quanto pela venda de ativos financeiros. Isso ocorre porque o recebimento de fluxos de caixa contratuais não faz parte do cumprimento do objetivo do modelo de negócios, e, em vez disso, é incidental a ele.

B4.1.6 A carteira de ativos financeiros que é gerenciada e cujo desempenho é avaliado com base no valor justo (conforme descrito no item 4.2.2 (b)) não é mantida para receber fluxos de caixa contratuais, tampouco para receber fluxos de caixa contratuais e para vender ativos financeiros. A entidade está fundamentalmente focada em informações sobre o valor justo e utiliza essas informações para avaliar o desempenho dos ativos e para tomar decisões. Além disso, a carteira de ativos financeiros, que atende à definição de mantidos para negociação, não é mantida para receber fluxos de caixa contratuais nem tampouco para receber fluxos de caixa contratuais e para vender ativos financeiros. Para essas carteiras, o recebimento de fluxos de caixa contratuais é apenas incidental ao cumprimento do objetivo do modelo de negócios. Consequentemente, essas carteiras de ativos financeiros devem ser mensuradas ao valor justo por meio do resultado.

Fluxos de caixa contratuais que constituem exclusivamente pagamentos de principal e de juros sobre o valor do principal em aberto

B4.1.7 O item 4.1.1 (b) exige que a entidade classifique um ativo financeiro com base em suas características de fluxos de caixa contratuais, se o ativo financeiro for mantido em modelo de negócios, cujo objetivo seja manter ativos para receber fluxos de caixa contratuais ou, em modelo de negócios, cujo objetivo seja alcançado, tanto pelo recebimento de fluxos de caixa contratuais, quanto pela venda de ativos financeiros, a menos que o item 4.1.5 seja aplicável. Para isso, a condição, descrita nos itens 4.1.2 (b) e 4.1.2A(b), exige que a entidade determine se os fluxos de caixa contratuais do ativo sejam exclusivamente pagamentos de principal e de juros sobre o valor do principal em aberto.

B4.1.7A Fluxos de caixa contratuais, que constituem exclusivamente pagamentos de principal e de juros sobre o valor do principal em aberto, são consistentes com um acordo de empréstimo básico. No acordo de empréstimo básico, a contraprestação pelo valor do dinheiro no tempo (ver itens B4.1.9A a B4.1.9E) e o risco de crédito, normalmente, são os elementos mais significativos dos juros. Entretanto, nesse acordo, os juros também podem incluir contraprestação por outros riscos básicos de empréstimo (por exemplo, risco de liquidez) e custos (por exemplo, custos administrativos) associados à detenção do ativo financeiro por período de tempo específico. Além disso, os juros podem incluir uma margem de lucro consistente com o acordo de empréstimo básico. Em circunstâncias econômicas extremas, os juros podem ser negativos se, por exemplo, o titular do ativo financeiro paga, seja expressa ou implicitamente, pelo depósito de seu dinheiro por período de tempo específico (e essa tarifa supera a contraprestação que o titular recebe pelo valor do dinheiro no tempo, o risco de crédito e outros riscos e custos básicos de empréstimo). Contudo, os termos contratuais, que introduzem exposição a riscos ou volatilidade nos fluxos de caixa contratuais não relacionados ao acordo de empréstimo básico, tais como exposição a alterações nos preços de instrumentos patrimoniais ou preços de commodities, não dão origem a fluxos de caixa contratuais, que são exclusivamente pagamentos de principal e de juros sobre o valor do principal em aberto. O ativo financeiro comprado ou concedido pode ser um acordo de empréstimo básico, independentemente de ser um empréstimo em sua forma legal.

B4.1.7B De acordo com o item 4.1.3 (a), o principal é o valor justo do ativo financeiro no reconhecimento inicial. Contudo, esse valor do principal pode mudar ao longo da vida do ativo financeiro (por exemplo, se houver restituição do principal).

B4.1.8 A entidade deve avaliar se os fluxos de caixa contratuais constituem exclusivamente pagamentos de principal e de juros sobre o valor do principal em aberto na moeda em que os ativos financeiros estão denominados.

B4.1.9 Alavancagem é uma característica de fluxo de caixa contratual de alguns ativos financeiros. A alavancagem aumenta a variabilidade dos fluxos de caixa contratuais, com o resultado de que eles não têm as características econômicas dos juros. Contratos separados de opção, a termo e de swap são exemplos de ativos financeiros que incluem essa alavancagem. Assim sendo, esses contratos não atendem à condição descrita nos itens 4.1.2 (b) e 4.1.2A(b) e não podem ser subsequentemente mensurados ao custo amortizado ou ao valor justo por meio de outros resultados abrangentes.

Contraprestação pelo valor do dinheiro no tempo

B4.1.9A O valor do dinheiro no tempo é o elemento de juros que fornece contraprestação somente pela passagem do tempo. Ou seja, o elemento de valor do dinheiro no tempo não fornece contraprestação por outros riscos ou custos associados à detenção do ativo financeiro. Para avaliar se o elemento fornece contraprestação somente para a passagem do tempo, a entidade deve aplicar julgamento e considerar fatores relevantes, tais como a moeda em que o ativo financeiro está denominado e o período durante o qual a taxa de juros é estabelecida.

B4.1.9B Contudo, em alguns casos, o elemento de valor do dinheiro no tempo pode ser modificado (ou seja, imperfeito). Esse seria o caso, por exemplo, se a taxa de juros do ativo financeiro for periodicamente reajustada, mas a frequência desse reajuste não corresponder ao prazo até o vencimento da taxa de juros (por exemplo, a taxa de juros é reajustada todo mês pela taxa de um ano) ou se a taxa de juros do ativo financeiro é periodicamente reajustada para as taxas médias de juros específicas de curto e longo prazos. Nesses casos, a entidade deve avaliar a modificação para determinar se os fluxos de caixa contratuais representam exclusivamente pagamentos de principal e juros sobre o valor do principal em aberto. Em algumas circunstâncias, a entidade pode ser capaz de efetuar essa determinação, realizando a avaliação qualitativa do elemento de valor do dinheiro no tempo, enquanto que, em outras circunstâncias, pode ser necessário realizar a avaliação quantitativa.

B4.1.9C Ao avaliar o elemento modificado do valor do dinheiro no tempo, o objetivo é determinar quão diferentes poderiam ser os fluxos de caixa contratuais (não descontados) dos fluxos de caixa (não descontados) que ocorreriam, se o elemento do valor do dinheiro no tempo não fosse modificado (fluxos de caixa de referência). Por exemplo, se o ativo financeiro em avaliação contiver taxa de juros variável, que é reajustada todo mês pela taxa de juros de um ano, a entidade deve comparar esse ativo financeiro com o instrumento financeiro que possui termos contratuais idênticos, e o risco de crédito idêntico, exceto a taxa de juros variável, deve ser reajustado mensalmente pela taxa de juros de um mês. Se o elemento modificado de valor do dinheiro no tempo resultar em fluxos de caixa contratuais (não descontados) significativamente diferentes dos fluxos de caixa de referência (não descontados), o ativo financeiro não atende à condição descrita nos itens 4.1.2 (b) e 4.1.2A(b). Para fazer essa determinação, a entidade deve considerar o efeito do elemento modificado de valor do dinheiro no tempo, em cada período contábil, e acumuladamente ao longo da vida do instrumento financeiro. O motivo para a taxa de juros ser definida dessa forma não é relevante para a análise. Se estiver claro, com pouca ou nenhuma análise, caso os fluxos de caixa contratuais (não descontados) do ativo financeiro em avaliação puderem (ou não puderem) ser significativamente diferentes dos fluxos de caixa de referência (não descontados), a entidade não deve realizar uma avaliação detalhada.

B4.1.9D Ao avaliar o elemento modificado do valor do dinheiro no tempo, a entidade deve considerar fatores que afetariam fluxos de caixa contratuais futuros. Por exemplo, se a entidade estiver avaliando um título de dívida com prazo de cinco anos e a taxa de juros variável for reajustada a cada seis meses pela taxa de cinco anos, a entidade não conseguirá concluir que os fluxos de caixa contratuais são exclusivamente pagamentos de principal e de juros sobre o valor do principal em aberto simplesmente porque a curva de taxa de juros na época da avaliação é mostrada de tal forma que a diferença entre a taxa de juros de cinco anos e a taxa de juros de seis meses não será significativa. Em vez disso, a entidade também deve considerar se a relação entre a taxa de juros de cinco anos e a taxa de juros de seis meses poderia mudar ao longo da vida do instrumento, de modo que os fluxos de caixa contratuais (não descontados), ao longo da vida do instrumento, pudessem ser significativamente diferentes dos fluxos de caixa de referência (não descontados). Entretanto, a entidade deve considerar somente cenários razoavelmente possíveis e, não, todos os cenários possíveis. Se a entidade concluir que os fluxos de caixa contratuais (não descontados) poderiam ser significativamente diferentes dos fluxos de caixa de referência (não descontados), o ativo financeiro não atende à condição descrita nos itens 4.1.2 (b) e 4.1.2A(b) e, portanto, não pode ser mensurado ao custo amortizado ou ao valor justo por meio de outros resultados abrangentes.

B4.1.9E Em algumas jurisdições, o governo ou a autoridade regulatória define as taxas de juros. Por exemplo, a regulamentação pelo governo das taxas de juros pode ser parte de ampla política macroeconômica ou pode ser introduzida para incentivar as entidades a investirem em setor específico da economia. Em alguns desses casos, o objetivo do elemento de valor do dinheiro no tempo não é fornecer contraprestação somente pela passagem do tempo. Contudo, apesar do descrito nos itens B4.1.9A a B4.1.9D, a taxa de juros regulada deve ser considerada uma substituta do elemento do valor do dinheiro no tempo para a finalidade de aplicar a condição descrita nos itens 4.1.2 (b) e 4.1.2A(b), se essa taxa de juros regulada estabelecer contraprestação amplamente consistente com a passagem do tempo e não estabelecer exposição a riscos ou volatilidade nos fluxos de caixa contratuais inconsistentes com o acordo de empréstimo básico.

Termos contratuais que alteram a época ou o valor de fluxos de caixa contratuais

B4.1.10 Se o ativo financeiro contém termo contratual que possa alterar a época ou o valor de fluxos de caixa contratuais (por exemplo, se o ativo pode ser pago antecipadamente antes do vencimento ou seu prazo pode ser prorrogado), a entidade deve determinar se os fluxos de caixa contratuais gerados ao longo da vida do instrumento devido a esse termo contratual são exclusivamente pagamentos de principal e de juros sobre o valor do principal em aberto. Para fazer essa determinação, a entidade deve avaliar os fluxos de caixa contratuais que seriam gerados tanto antes, quanto depois, da alteração nos fluxos de caixa contratuais. A entidade também pode precisar avaliar a natureza de qualquer evento contingente (ou seja, acionador) que modifique a época ou o valor dos fluxos de caixa contratuais. Embora a natureza do evento contingente em si não seja fator determinante ao avaliar se os fluxos de caixa contratuais são exclusivamente pagamentos de principal e de juros, ela pode ser um indicador. Por exemplo, comparar um instrumento financeiro que possui a taxa de juros reajustada pela taxa mais elevada, se o devedor não efetuar um número específico de pagamentos com o instrumento financeiro que possui a taxa de juros reajustada pela taxa mais elevada, se um índice específico do patrimônio líquido atingir determinado nível. É mais provável, no primeiro caso, que os fluxos de caixa contratuais ao longo da vida do instrumento sejam exclusivamente pagamentos de principal e de juros sobre o valor do principal em aberto devido à relação entre pagamentos não efetuados e o aumento no risco de crédito (ver também o item B4.1.18).

B4.1.11 Os exemplos a seguir são exemplos de termos contratuais que resultam em fluxos de caixa contratuais, que constituem exclusivamente pagamentos de principal e de juros sobre o valor do principal em aberto:

(a) taxa de juros variável, que consiste em contraprestação pelo valor do dinheiro no tempo, pelo risco de crédito associado ao valor do principal em aberto durante período de tempo específico (a contraprestação pelo risco de crédito pode ser determinada somente no reconhecimento inicial, e então pode ser fixada) e por outros custos e riscos básicos de empréstimo, bem como pela margem de lucro;

(b) termo contratual que permite ao emitente (ou seja, devedor) pagar antecipadamente o instrumento de dívida ou que permite ao titular (ou seja, credor) revender o instrumento de dívida ao emissor antes do seu vencimento e o valor do pagamento antecipado representar, substancialmente, valores não pagos do principal ou de juros sobre o valor do principal em aberto, que podem incluir contraprestação razoável pela rescisão antecipada do contrato; e

(c) termo contratual que permite ao emitente ou ao titular prorrogar o prazo contratual do instrumento de dívida (ou seja, opção de prorrogação) e os termos da opção de prorrogação resultarem em fluxos de caixa contratuais durante o período de prorrogação, que constituam, exclusivamente, pagamentos de principal e de juros sobre o valor do principal em aberto, que podem incluir contraprestação adicional razoável pela prorrogação do contrato.

B4.1.12 Apesar do disposto no item B4.1.10, o ativo financeiro, que, também, atenda à condição descrita nos itens 4.1.2 (b) e 4.1.2A(b), mas não faz isso somente como resultado do termo contratual que permite (ou exige) que o emitente pague antecipadamente o instrumento de dívida ou permite (ou exige) que o titular revenda o instrumento de dívida ao emitente antes do vencimento, é elegível para ser mensurado ao custo amortizado ou ao valor justo por meio de outros resultados abrangentes (sujeito ao cumprimento da condição descrita no item 4.1.2 (a) ou da condição descrita no item 4.1.2A(a)) se:

(a) a entidade adquirir ou conceder o ativo financeiro com ágio ou deságio em relação ao valor nominal contratual;

(b) o valor do pagamento antecipado representar substancialmente o valor nominal contratual e juros contratuais acumulados (em aberto), que podem incluir contraprestação razoável pela rescisão antecipada do contrato; e

(c) quando a entidade inicialmente reconhecer o ativo financeiro, o valor justo do elemento de pagamento antecipado for insignificante.

B4.1.12A Para efeitos de aplicação do disposto nos itens B4.1.11 (b) e B4.1.12 (b), independentemente do evento ou circunstância que cause a rescisão antecipada do contrato, uma parte pode pagar ou receber compensação razoável pela rescisão antecipada. Por exemplo, uma parte pode pagar ou receber compensação razoável quando optar por rescindir o contrato antecipadamente (ou, de maneira diferente, por provocar a rescisão antecipada).

B4.1.13 Os exemplos a seguir ilustram fluxos de caixa contratuais que constituem exclusivamente pagamentos de principal e de juros sobre o valor do principal em aberto. A lista de exemplos não é exaustiva.

Instrumento  Análise 
Instrumento A  O instrumento A é título de dívida com data de vencimento específica. Pagamentos de principal e de juros sobre o valor do principal em aberto estão atrelados ao índice de inflação na moeda em que o instrumento é emitido. O atrelamento à inflação não é alavancado e o principal é protegido. Os fluxos de caixa contratuais constituem exclusivamente pagamentos de principal e de juros sobre o valor do principal em aberto. Atrelar pagamentos de principal e de juros sobre o valor do principal em aberto ao índice de inflação não alavancado reajusta o valor do dinheiro no tempo ao nível corrente. Em outras palavras, a taxa de juros que incide sobre o instrumento reflete os juros "reais". Desse modo, os valores de juros constituem a contraprestação pelo valor do dinheiro no tempo sobre o valor do principal em aberto.  Contudo, se os pagamentos de juros estavam indexados a outra variável, como o desempenho do devedor (por exemplo, o lucro líquido do devedor) ou índice de patrimônio, os fluxos de caixa contratuais não constituem pagamentos de principal e de juros sobre o valor do principal em aberto (salvo se a indexação ao desempenho do devedor resultar no ajuste que somente remunera o titular pelas alterações no risco de crédito do instrumento, de modo que os fluxos de caixa contratuais sejam exclusivamente pagamentos de principal e de juros). Isso porque os fluxos de caixa contratuais refletem um retorno inconsistente com o acordo de empréstimo básico (ver item B4.1.7A).
Instrumento B  O instrumento B é um instrumento com taxa de juros variável e data de vencimento específica que permite ao mutuário escolher continuamente a taxa de juros de mercado. Por exemplo, em cada data de reajuste da taxa de juros, o mutuário pode escolher pagar a Libor de três meses pelo prazo de três meses ou a Libor de um mês pelo prazo de um mês. Os fluxos de caixa contratuais constituem exclusivamente pagamentos de principal e de juros sobre o valor do principal em aberto desde que os juros pagos ao longo do prazo de vida do instrumento reflitam a contraprestação pelo valor do dinheiro no tempo, pelo risco de crédito associado ao instrumento e por outros custos e riscos básicos de empréstimo, bem como pela margem de lucro (ver item B4.1.7A). O fato de que a taxa de juros Libor é reajustada durante o prazo de vida do instrumento por si só não o desqualifica.  Entretanto, se o mutuário puder escolher pagar a taxa de juros de um mês reajustada a cada três meses, a taxa de juros é reajustada com uma frequência que não corresponde ao prazo até o vencimento da taxa de juros. Consequentemente, o elemento de valor do dinheiro no tempo é modificado. Similarmente, se o instrumento possui a taxa de juros contratual baseada em prazo que exceda a vida remanescente do instrumento (por exemplo, se o instrumento com vencimento de cinco anos paga a taxa variável que é reajustada periodicamente, mas sempre reflete o vencimento de cinco anos), o elemento de valor do dinheiro no tempo é modificado. Isso porque os juros devidos em cada período estão desvinculados do período de juros. Nesses casos, a entidade deve avaliar, qualitativa ou quantitativamente, os fluxos de caixa contratuais em relação àqueles em instrumento que seja idêntico em todos os aspectos, exceto se a taxa de juros corresponder ao período dos juros, para determinar se os fluxos de caixa são exclusivamente pagamentos de principal e de juros sobre o valor do principal em aberto (porém, ver item B4.1.9E para orientação sobre taxas de juros reguladas). Por exemplo, ao avaliar um título de dívida com prazo de cinco anos que paga a taxa variável reajustada a cada seis meses, mas sempre reflete o vencimento de cinco anos, a entidade deve considerar os fluxos de caixa contratuais em instrumento, que é reajustado a cada seis meses pela taxa de juros de seis meses, mas que, por outro lado, é idêntico. A mesma análise deve ser aplicada se o mutuário pudesse escolher entre as diversas taxas de juros publicadas do credor (por exemplo, o mutuário pode escolher entre a taxa de juros variável de um mês publicada pelo credor e a taxa de juros variável de três meses publicada pelo credor).
Instrumento C  O instrumento C é um título de dívida com data de vencimento específica que paga taxa de juros de mercado variável. Essa taxa de juros variável é limitada. Os fluxos de caixa contratuais:  a) tanto de instrumento que tenha taxa de juros fixa; b) quanto de instrumento que tenha taxa de juros variável constituem pagamentos de principal e de juros sobre o valor do principal em aberto, desde que os juros reflitam a contraprestação pelo valor do dinheiro no tempo, pelo risco de crédito associado ao instrumento durante o prazo do instrumento e por outros custos e riscos básicos de empréstimo, bem como pela margem de lucro (ver item B4.1.7A). Consequentemente, o instrumento que seja uma combinação de (a) e (b) (por exemplo, título de dívida com limite de taxa de juros) pode ter fluxos de caixa contratuais que constituem exclusivamente pagamentos de principal e de juros sobre o valor do principal em aberto. Esse termo contratual pode reduzir a variabilidade dos fluxos de caixa ao estabelecer o limite sobre a taxa de juros variável (por exemplo, teto ou piso de taxa de juros) ou aumentar a variabilidade dos fluxos de caixa, uma vez que a taxa fixa se torna variável.
Instrumento D  O instrumento D é empréstimo com recurso total e com garantia real. O fato de que o empréstimo com recurso total é garantido não afeta por si só a análise de se os fluxos de caixa contratuais constituem exclusivamente pagamentos de principal e de juros sobre o valor do principal em aberto. 
Instrumento E  O instrumento E é emitido por banco regulamentado e possui data de vencimento específica. O instrumento paga taxa de juros fixa e todos os fluxos de caixa contratuais não são discricionários. Entretanto, o emitente está sujeito à legislação que permite ou exige que a autoridade nacional reguladora imponha perdas aos titulares de determinados instrumentos, incluindo o instrumento E, em determinadas circunstâncias. Por exemplo, a autoridade nacional solucionadora tem o poder de reduzir o valor nominal do instrumento E ou de convertê-lo em número fixo de ações ordinárias do emitente se a autoridade nacional solucionadora determinar que o emitente está passando por graves dificuldades financeiras, necessita de capital regulatório adicional ou está "falindo".

O titular analisa os termos contratuais do instrumento financeiro para determinar se eles dão origem a fluxos de caixa que são exclusivamente pagamentos de principal e de juros sobre o valor do principal em aberto e, dessa forma, são consistentes com o acordo de empréstimo básico.  A análise não deve considerar os pagamentos que ocorrem somente como resultado do poder da autoridade nacional solucionadora de impor perdas aos titulares do instrumento E. Isso porque esse poder, e os pagamentos resultantes, não são termos contratuais do instrumento financeiro.

Por outro lado, os fluxos de caixa contratuais não seriam somente pagamentos de principal e de juros sobre o valor do principal em aberto se os termos contratuais do instrumento financeiro permitirem ou exigirem que o emitente ou outra entidade imponha perdas ao titular (por exemplo, reduzindo o valor nominal ou convertendo o instrumento em número fixo de ações ordinárias do emitente), desde que esses termos contratuais sejam autênticos, mesmo se a probabilidade de essa perda ser imposta for remota.


B4.1.14 Os exemplos a seguir ilustram fluxos de caixa contratuais que não consistem exclusivamente, em pagamentos de principal e de juros sobre o valor do principal em aberto.

A lista de exemplos não é exaustiva.

Instrumento  Análise 
Instrumento F  O instrumento F é título de dívida conversível em número fixo de instrumentos patrimoniais do emitente. O titular deve analisar o título de dívida conversível em sua totalidade.  Os fluxos de caixa contratuais não são pagamentos de principal e de juros sobre o valor do principal em aberto porque refletem um retorno inconsistente com o acordo de empréstimo básico (ver item B4.1.7A); ou seja, o retorno está associado ao valor do patrimônio líquido do emitente.
Instrumento G  O instrumento G é empréstimo que paga taxa de juros flutuante inversa (ou seja, a taxa de juros tem relação inversa com as taxas de juros de mercado). Os fluxos de caixa contratuais não constituem exclusivamente pagamentos de principal e de juros sobre o valor do principal em aberto.  Os valores de juros não constituem a contraprestação pelo valor do dinheiro no tempo sobre o valor do principal em aberto.
Instrumento H  O instrumento H é instrumento perpétuo, mas o emitente pode resgatar o instrumento a qualquer momento e pagar ao titular o valor nominal mais os juros acumulados devidos. O instrumento H paga a taxa de juros de mercado, mas o pagamento de juros não pode ser feito a menos que o emitente possa permanecer solvente imediatamente após esse pagamento. Juros diferidos não estão sujeitos a juros adicionais.

Análise Os fluxos de caixa contratuais não constituem pagamentos de principal e de juros sobre o valor do principal em aberto. Isso porque o emitente pode ser obrigado a diferir pagamentos de juros, os quais não estarão sujeitos a juros adicionais. Como resultado, os valores de juros não constituem a contraprestação pelo valor do dinheiro no tempo sobre o valor do principal em aberto.  Se os valores diferidos estivessem sujeitos a juros, os fluxos de caixa contratuais poderiam constituir pagamentos de principal e de juros sobre o valor do principal em aberto. O fato de que o instrumento H é perpétuo não significa por si só que os fluxos de caixa contratuais não constituem pagamentos de principal e de juros sobre o valor do principal em aberto. De fato, o instrumento perpétuo possui opções contínuas (múltiplas) de prorrogação. Essas opções podem resultar em fluxos de caixa contratuais que constituam pagamentos de principal e de juros sobre o valor do principal em aberto, se os pagamentos de juros forem obrigatórios e tiverem de ser efetuados perpetuamente.

Além disso, o fato de o instrumento H ser resgatável não significa que os fluxos de caixa contratuais não constituam pagamentos de principal e de juros sobre o valor do principal em aberto, a menos que seja resgatável por valor que não reflita substancialmente o pagamento do principal em aberto e dos juros sobre esse valor do principal em aberto. Ainda que o valor resgatável inclua o valor que razoavelmente compense o titular pelo cancelamento antecipado do instrumento, os fluxos de caixa contratuais podem constituir pagamentos de principal e de juros sobre o valor do principal em aberto (ver também o item B4.1.12).


B4.1.15 Em alguns casos, o ativo financeiro pode ter fluxos de caixa contratuais que são descritos como principal e juros, mas esses fluxos de caixa não representam o pagamento de principal e de juros sobre o valor do principal em aberto, conforme descrito nos itens 4.1.2 (b), 4.1.2A(b) e 4.1.3 deste pronunciamento.

B4.1.16 Esse pode ser o caso se o ativo financeiro representar um investimento em ativos ou fluxos de caixa específicos e, assim, os fluxos de caixa contratuais não constituírem exclusivamente pagamentos de principal e de juros sobre o valor do principal em aberto. Por exemplo, se os termos contratuais estipularem que os fluxos de caixa do ativo financeiro aumentam, conforme mais veículos utilizarem uma rodovia específica com pedágio, esses fluxos de caixa contratuais são inconsistentes com o acordo de empréstimo básico. Como resultado, o instrumento não atende à condição descrita nos itens 4.1.2 (b) e 4.1.2A(b). Esse pode ser o caso quando a pretensão do credor estiver limitada a ativos específicos do devedor ou aos fluxos de caixa de ativos específicos (por exemplo, ativo financeiro na modalidade "non recourse").

B4.1.17 Contudo, o fato de que o ativo financeiro é da modalidade "non recourse" não necessariamente impede por si só que esse ativo atenda à condição descrita nos itens 4.1.2 (b) e 4.1.2A(b). Nessas situações, o credor deve avaliar ("olhar além") os ativos subjacentes ou fluxos de caixa específicos para determinar se os fluxos de caixa contratuais do ativo financeiro, que está sendo classificado, constituem pagamentos de principal e de juros sobre o valor do principal em aberto. Se os termos do ativo financeiro derem origem a quaisquer outros fluxos de caixa ou limitarem os fluxos de caixa de forma inconsistente com os pagamentos de principal e juros, o ativo financeiro não atende à condição descrita nos itens 4.1.2 (b) e 4.1.2A(b). O fato de os ativos subjacentes serem ativos financeiros ou ativos não financeiros por si só não afeta esta avaliação.

B4.1.18 Uma característica de fluxo de caixa contratual não afeta a classificação do ativo financeiro, se puder ter somente efeito mínimo sobre os fluxos de caixa contratuais do ativo financeiro. Para fazer essa determinação, a entidade deve considerar o possível efeito da característica de fluxo de caixa contratual em cada período contábil e, acumuladamente, ao longo da vida do instrumento financeiro. Além disso, se uma característica de fluxo de caixa contratual tiver efeito sobre os fluxos de caixa contratuais que seja superior ao efeito mínimo (seja em um único período contábil ou acumuladamente), mas essa característica de fluxo de caixa não for autêntica, isso não afeta a classificação do ativo financeiro. Uma característica de fluxo de caixa não é genuína quando afetar os fluxos de caixa contratuais do instrumento somente por ocasião da ocorrência de evento que seja extremamente raro, altamente anormal e muito improvável.

B4.1.19 Em quase todas as transações de empréstimo, o instrumento do credor é classificado em relação aos instrumentos dos outros credores do devedor. O instrumento subordinado a outros instrumentos pode ter fluxos de caixa contratuais que constituem pagamentos de principal e de juros sobre o valor do principal em aberto, se o não pagamento por parte do devedor constituir quebra de contrato e o titular tiver direito contratual a valores não pagos de principal e de juros sobre o valor do principal em aberto, mesmo em caso de falência do devedor. Por exemplo, conta a receber de cliente que classificasse seu credor como credor geral se qualificaria como tendo direito a pagamentos de principal e de juros sobre o valor do principal em aberto. Esse é o caso mesmo que o devedor tenha emitido empréstimos garantidos que, no caso de falência, dariam ao seu titular prioridade sobre as pretensões do credor geral em relação à garantia, mas que não afetariam o direito contratual do credor geral ao principal não pago e a outros valores devidos. Instrumento contratualmente vinculado B4.1.20 Em alguns tipos de transações, o emitente pode priorizar pagamentos aos titulares de ativos financeiros, utilizando múltiplos instrumentos contratualmente vinculados que podem criar concentrações de risco de crédito (tranches). Cada tranche tem uma classificação de subordinação que especifica a ordem em que quaisquer fluxos de caixa gerados pelo emitente devem ser alocados à tranche. Nessas situações, os titulares da tranche têm direito a pagamentos de principal e de juros sobre o valor do principal em aberto somente se o emitente gerar fluxos de caixa suficientes para atender a tranches de classificação mais alta.

B4.1.21 Nessas transações, a tranche possui características de fluxo de caixa que constituem pagamentos de principal e de juros sobre o valor do principal em aberto somente se:

(a) os termos contratuais da tranche que estiver sendo avaliada para classificação (sem considerar o conjunto subjacente de instrumentos financeiros) derem origem a fluxos de caixa que constituam exclusivamente pagamentos de principal e de juros sobre o valor do principal em aberto (por exemplo, a taxa de juros da tranche não estiver atrelada a índice de commodities);

(b) o conjunto subjacente de instrumentos financeiros tiver as características de fluxos de caixa indicadas nos itens B4.1.23 e B4.1.24; e

(c) a exposição ao risco de crédito, no conjunto subjacente de instrumentos financeiros correspondente à tranche, for igual ou inferior à exposição ao risco de crédito do conjunto subjacente de instrumentos financeiros (por exemplo, a classificação de crédito da tranche que está sendo avaliada para classificação é igual ou superior à classificação de crédito que se aplicaria a uma única tranche, que custeasse o conjunto subjacente de instrumentos financeiros).

B4.1.22 A entidade deve analisar até que possa identificar o conjunto subjacente de instrumentos que está criando (e não repassando) os fluxos de caixa. Esse é o conjunto subjacente de instrumentos financeiros.

B4.1.23 O conjunto subjacente deve conter um ou mais instrumentos que tenham fluxos de caixa contratuais, que constituam exclusivamente pagamentos de principal e de juros sobre o valor do principal em aberto.

B4.1.24 O conjunto subjacente de instrumentos pode incluir também instrumentos que:

(a) reduzem a variabilidade de fluxos de caixa dos instrumentos descritos no item B4.1.23 e, quando combinados com os instrumentos do item B4.1.23, resultam em fluxos de caixa que constituam exclusivamente pagamentos de principal e de juros sobre o valor do principal em aberto (por exemplo, teto ou piso de taxa de juros ou contrato que reduz o risco de crédito para alguns ou todos os instrumentos do item B4.1.23); ou

(b) alinham os fluxos de caixa das tranches aos fluxos de caixa do conjunto de instrumentos subjacentes descritos no item B4.1.23 para refletir diferenças:

(i) no fato de a taxa de juros ser fixa ou flutuante;

(ii) na moeda na qual os fluxos de caixa são denominados, incluindo a inflação nessa moeda; ou

(iii) na época dos fluxos de caixa.

B4.1.25 Se qualquer instrumento do conjunto não atender às condições descritas no item B4.1.23 ou no item B4.1.24, a condição descrita no item B4.1.21 (b) não é atendida. Ao realizar essa avaliação, a análise detalhada, instrumento por instrumento, do conjunto pode não ser necessária. Contudo, a entidade deve utilizar julgamento e realizar análise suficiente para determinar se os instrumentos no conjunto atendem às condições descritas nos itens B4.1.23 e B4.1.24 (ver também o item B4.1.18 para orientação sobre características de fluxos de caixa contratuais, que têm somente efeito mínimo).

B4.1.26 Se o titular não puder avaliar as condições descritas no item B4.1.21 no reconhecimento inicial, a tranche deve ser mensurada ao valor justo por meio do resultado. Se o conjunto subjacente de instrumentos puder se modificar após o reconhecimento inicial de tal modo que o conjunto possa não atender às condições descritas nos itens B4.1.23 e B4.1.24, a tranche não atende às condições descritas no item B4.1.21, devendo ser mensurada ao valor justo por meio do resultado. Entretanto, se o conjunto subjacente incluir instrumentos que são garantidos por ativos, que não atendem às condições descritas nos itens B4.1.23 e B4.1.24, a capacidade de tomar posse desses ativos deve ser desconsiderada para as finalidades de aplicar esse item, exceto se a entidade adquiriu a tranche com a intenção de controlar a garantia. Opção de designar ativo financeiro ou passivo financeiro como ao valor justo por meio do resultado (seções 4.1 e 4.2)

B4.1.27 Sujeito às condições descritas nos itens 4.1.5 e 4.2.2, este pronunciamento permite que a entidade designe um ativo financeiro, um passivo financeiro ou um grupo de instrumentos financeiros (ativos financeiros, passivos financeiros ou ambos) como ao valor justo por meio do resultado, desde que isso resulte em informações mais pertinentes.

B4.1.28 A decisão de a entidade designar o ativo financeiro ou o passivo financeiro como ao valor justo por meio do resultado é similar à escolha de política contábil (embora, ao contrário da escolha de política contábil, não seja obrigada a aplicála consistentemente a todas as transações similares). Quando a entidade tiver essa escolha, o item 14 (b) do CPC 23 exige que a política escolhida resulte no fornecimento, pelas demonstrações contábeis, de informações confiáveis e mais pertinentes sobre os efeitos das transações, outros eventos e condições sobre a posição financeira, desempenho financeiro ou fluxos de caixa da entidade. Por exemplo, no caso de designação do passivo financeiro como ao valor justo por meio do resultado, o item 4.2.2 define as duas circunstâncias em que o requisito de informações mais pertinentes deve ser atendido. Consequentemente, para escolher essa designação de acordo com o item 4.2.2, a entidade precisa demonstrar que se enquadra dentro de uma ou de ambas as circunstâncias.

Designação que elimina ou reduz significativamente descasamento contábil

B4.1.29 A mensuração do ativo financeiro ou do passivo financeiro e a classificação de alterações reconhecidas em seu valor devem ser determinadas pela classificação do item e se o item faz parte da relação de proteção designada. Esses requisitos podem criar inconsistência de mensuração ou reconhecimento (algumas vezes referida como "descasamento contábil") quando, por exemplo, na ausência de designação como ao valor justo por meio do resultado, o ativo financeiro seria classificado como subsequentemente mensurado ao valor justo por meio do resultado e o passivo, que a entidade considera relacionado, seria subsequentemente mensurado ao custo amortizado (com as alterações no valor justo não reconhecidas). Nessas circunstâncias, a entidade pode concluir que suas demonstrações contábeis fornecem informações mais pertinentes, se tanto os ativos quanto os passivos forem mensurados como ao valor justo por meio do resultado.

B4.1.30 Os seguintes exemplos mostram quando essa condição pode ser atendida. Em todos os casos, a entidade pode usar essa condição para designar ativos financeiros ou passivos financeiros como ao valor justo por meio do resultado apenas se atender ao princípio descrito no item 4.1.5 ou 4.2.2 (a):

(a) a entidade possui passivos, de acordo com contratos de seguro, cuja mensuração incorpora informações atuais (como permitido pelo item 24 do CPC 11) e possui ativos financeiros, que considera relacionados, e que, de outro modo, seriam mensurados ao valor justo por meio de outros resultados abrangentes ou ao custo amortizado;

(b) a entidade possui ativos financeiros, passivos financeiros ou ambos que compartilham risco, como, por exemplo, risco de taxa de juros, e que dá origem a alterações opostas no valor justo, que tendem a compensar uma à outra. Entretanto, apenas parte dos instrumentos deveria ser mensurada ao valor justo por meio do resultado (por exemplo, aqueles que são derivativos ou são classificados como mantido para negociação). Também pode ser o caso de que os requisitos para contabilização de hedge não sejam atendidos, por exemplo, pelo fato de os requisitos para efetividade de hedge, descritos no item 6.4.1, não serem atendidos;

(c) a entidade possui ativos financeiros, passivos financeiros ou ambos que compartilham risco, como, por exemplo, risco de taxa de juros, que dá origem a alterações opostas no valor justo, que tendem a compensar uma à outra, e nenhum dos ativos financeiros ou passivos financeiros se qualifica para designação como instrumento de hedge, porque eles não são mensurados ao valor justo por meio do resultado. Além disso, na ausência da contabilização de hedge, há inconsistência significativa no reconhecimento de ganhos e perdas. Por exemplo, a entidade financiou um grupo específico de empréstimos, emitindo títulos de dívida negociados, cujas alterações no valor justo tendem a se compensarem entre si. Se, além disso, a entidade regularmente comprar e vender títulos de dívida, mas, raramente ou nunca, comprar e vender os empréstimos, reconhecer os empréstimos e os títulos de dívida ao valor justo por meio do resultado, esses procedimentos eliminam a inconsistência no período do reconhecimento dos ganhos e perdas que, de outro modo, resultariam da mensuração de ambos ao custo amortizado e do reconhecimento do ganho ou da perda, a cada vez que um título de dívida fosse recomprado.

B4.1.31 Em casos como o descrito no item anterior, a designação no reconhecimento inicial de ativos financeiros e passivos financeiros não mensurados, de outro modo, como ao valor justo por meio do resultado pode eliminar ou reduzir significativamente a inconsistência de mensuração ou reconhecimento e produzir informações mais pertinentes. Para fins práticos, a entidade não precisa celebrar transações com todos os ativos e passivos que dão origem à inconsistência de mensuração ou de reconhecimento exatamente ao mesmo tempo. Um atraso razoável é permitido, desde que cada transação seja designada como ao valor justo por meio do resultado em seu reconhecimento inicial e, nessa época, se espere que quaisquer transações restantes ocorram.

B4.1.32 Não é aceitável designar apenas alguns dos ativos financeiros e passivos financeiros que dão origem à inconsistência como ao valor justo por meio do resultado, se isso não eliminar ou reduzir significativamente a inconsistência e, portanto, não resultar em informações mais pertinentes. Entretanto, é aceitável designar apenas alguns de um número de ativos financeiros similares ou passivos financeiros similares, se isso reduzir significativamente (e, possivelmente, a redução maior que outras designações permitidas) a inconsistência. Por exemplo, suponha que a entidade tenha um número de passivos financeiros similares que somam $ 100 e um número de ativos financeiros similares que somam $ 50, mas são mensurados em bases diferentes. A entidade pode reduzir significativamente a inconsistência de mensuração, designando, no reconhecimento inicial, todos os ativos, mas apenas alguns dos passivos (por exemplo, passivos individuais com total combinado de $ 45) como ao valor justo por meio do resultado. Entretanto, como a designação como ao valor justo por meio do resultado pode ser aplicada apenas à totalidade do instrumento financeiro, a entidade, neste exemplo, deve designar um ou mais passivos em sua totalidade. Ela não pode designar um componente do passivo (por exemplo, alterações no valor atribuível apenas ao risco, tais como alterações na taxa de juros de referência) ou proporção (ou seja, porcentagem) do passivo.

Grupo de passivos financeiros ou ativos financeiros e passivos financeiros é administrado e seu desempenho é avaliado com base no valor justo

B4.1.33 A entidade pode gerenciar e avaliar o desempenho de grupo de passivos financeiros ou ativos financeiros e passivos financeiros de tal modo que a mensuração desse grupo ao valor justo por meio do resultado resulte em informações mais pertinentes. O foco, nesse caso, está na forma de como a entidade gerencia e avalia o desempenho e, não, na natureza de seus instrumentos financeiros.

B4.1.34 Por exemplo, a entidade pode usar esta condição para designar passivos financeiros como ao valor justo por meio do resultado, se o princípio descrito no item 4.2.2 (b) for atendido e se a entidade tiver ativos financeiros e passivos financeiros, que compartilhem um ou mais riscos e esses riscos forem gerenciados e avaliados com base no valor justo, de acordo com uma política documentada de gestão de ativos e passivos. Um exemplo pode ser a emissão de "produtos estruturados", contendo derivativos embutidos múltiplos, e a entidade gerencia os riscos resultantes com base no valor justo, usando uma mistura de instrumentos financeiros derivativos e não derivativos.

B4.1.35 Conforme observado acima, essa condição depende da forma com que a entidade gerencia e avalia o desempenho do grupo de instrumentos financeiros em consideração. Consequentemente (observados os requisitos de designação no reconhecimento inicial), a entidade que designa passivos financeiros como ao valor justo por meio do resultado, com base nessa condição, assim deve designar todos os passivos financeiros elegíveis que sejam gerenciados e avaliados em conjunto.

B4.1.36 A documentação da estratégia da entidade não precisa ser extensa, mas deve ser suficiente para demonstrar o cumprimento descrito no item 4.2.2 (b). Essa documentação não é exigida para cada item individual, mas para a carteira. Por exemplo, se o sistema de gerenciamento de desempenho de departamento, conforme aprovado pelo pessoal-chave da administração da entidade, demonstrar claramente que seu desempenho é avaliado nessa base, nenhuma outra documentação é necessária para demonstrar o cumprimento do descrito no item 4.2.2 (b).

Derivativo embutido (Seção 4.3)

B4.3.1 Quando a entidade se tornar parte de contrato híbrido com componente principal, que não é um ativo dentro do alcance deste pronunciamento, o item 4.3.3 exige que a entidade identifique qualquer derivativo embutido, avalie se é necessário serem separados do contrato principal e, para aqueles que precisem ser separados, deve mensurar os derivativos ao valor justo no reconhecimento inicial e, subsequentemente, ao valor justo por meio do resultado.

B4.3.2 Se o contrato principal não tiver vencimento declarado ou predeterminado e representar participação residual nos ativos líquidos da entidade, então suas características e riscos econômicos são aqueles de instrumento patrimonial, e o derivativo embutido precisa possuir características patrimoniais relacionadas à mesma entidade para ser considerado como estreitamente relacionado. Se o contrato principal não for instrumento patrimonial e atender à definição de instrumento financeiro, então, suas características e riscos econômicos são aqueles de instrumento de dívida.

B4.3.3 O derivativo embutido sem opção (como, por exemplo, contrato a termo ou swap embutido) deve ser separado de seu contrato principal de acordo com seus termos substantivos declarados ou implícitos, de modo a ter o valor justo zero no reconhecimento inicial. O derivativo embutido com opção (como, por exemplo, venda, compra, teto, piso ou opção de swap embutido) deve ser separado de seu contrato principal de acordo com os termos declarados da característica da opção. O valor contábil inicial do instrumento principal é o valor residual após separar o derivativo embutido.

B4.3.4 Geralmente, derivativos embutidos múltiplos em um único contrato híbrido devem ser tratados como um único derivativo embutido composto. Entretanto, os derivativos embutidos, que são classificados como patrimônio líquido (ver CPC 39), devem ser contabilizados separadamente daqueles classificados como ativos ou passivos. Além disso, se o contrato híbrido tiver mais de um derivativo embutido e esses derivativos forem relacionados a diferentes exposições a risco e forem prontamente separáveis e independentes uns dos outros, eles devem ser contabilizados separadamente uns dos outros.

B4.3.5 As características e riscos econômicos do derivativo embutido não são estritamente relacionados ao contrato principal (item 4.3.3 (a)), nos exemplos a seguir. Nesses exemplos, supondo que as condições do item 4.3.3 (b) e (c) sejam atendidas, a entidade deve contabilizar o derivativo embutido separadamente do contrato principal.

(a) A opção de venda embutida em instrumento, que permita ao titular exigir do emitente a recompra do instrumento pelo valor à vista ou com outros ativos que variem com base nas mutações do patrimônio líquido ou nas alterações no preço das commodities ou índice, não é estreitamente relacionado ao instrumento principal de dívida.

(b) A opção ou previsão automática, para estender o prazo remanescente até o vencimento do instrumento de dívida, não é estreitamente relacionada ao instrumento de dívida principal, exceto se houver ajuste simultâneo à taxa de juros de mercado corrente aproximada na época da extensão. Se a entidade emitir o instrumento de dívida e o titular desse instrumento de dívida lançar a opção de compra no instrumento de dívida a terceiro, o emitente deve considerar a opção de compra como estendendo o prazo do vencimento do instrumento de dívida, desde que o emitente possa ser obrigado a participar na, ou a facilitar a, renegociação do instrumento de dívida, como resultado do exercício da opção de compra.

(c) Pagamentos, de juros ou principal, indexados ao patrimônio embutidos em instrumento de dívida principal ou contrato de seguro, pelo qual o valor dos juros ou principal seja indexado ao valor de instrumentos patrimoniais, não são estreitamente relacionados ao instrumento principal, porque os riscos inerentes ao instrumento principal e ao derivativo embutido são diferentes.

(d) Pagamentos, de juros ou principal, indexados a commodity embutidos em instrumento de dívida principal ou contrato de seguro, pelo qual o valor dos juros ou principal seja indexado ao preço de commodity (por exemplo, ouro), não são estreitamente relacionados ao instrumento principal, porque os riscos inerentes ao instrumento principal e ao derivativo embutido são diferentes.

(e) A opção de compra, de venda ou de pagamento antecipado, embutida em contrato de dívida principal ou contrato de seguro principal, não é estreitamente relacionada ao contrato principal, exceto se:

(i) o preço de exercício da opção for aproximadamente igual, em cada data de exercício, ao custo amortizado do instrumento de dívida principal ou ao valor contábil do contrato de seguro principal; ou

(ii) o preço de exercício da opção de pagamento antecipado reembolsar ao credor o valor até o valor presente aproximado dos juros perdidos pelo prazo restante do contrato principal. Juros perdidos são o produto do valor do principal pago antecipadamente multiplicado pelo diferencial de taxa de juros. Diferencial de taxa de juros é o excedente da taxa de juros efetiva do contrato principal sobre a taxa de juros efetiva, que a entidade receberia na data do pagamento antecipado, se reinvestisse o valor do principal pago antecipadamente em contrato similar pelo prazo restante do contrato principal.

A avaliação sobre se a opção de compra ou de venda é estreitamente relacionada ao contrato de dívida principal deve ser feita antes de separar o elemento de patrimônio do instrumento de dívidaconversível, de acordo com o CPC 39.

(f) Os derivativos de crédito, que são embutidos em instrumento de dívida principal, e permitem que uma parte ("beneficiária") transfira o risco de crédito do ativo de referência específico, que pode não possuir, à outra parte ("avalista"), não são estreitamente relacionados ao instrumento de dívida principal. Esses derivativos de crédito permitem que o avalista assuma o risco de crédito relacionado ao ativo de referência, sem possuí-lo diretamente.

B4.3.6 Um exemplo de contrato híbrido é o instrumento financeiro que dá ao titular o direito de revender o instrumento financeiro ao emitente em troca do valor à vista ou de outros ativos financeiros que variem de acordo com a alteração em índice patrimonial ou de commodity, que possa aumentar ou diminuir ("instrumento com opção de venda"). Exceto se o emitente, no reconhecimento inicial, designar o instrumento com opção de venda como passivo financeiro ao valor justo por meio do resultado, ele tem que separar derivativo embutido (ou seja, pagamento de principal indexado), de acordo com o item 4.3.3, porque o contrato principal é instrumento de dívida, de acordo com o item

B4.3.2, e o pagamento de principal indexado não está estreitamente relacionado ao instrumento de dívida principal, de acordo com o item B4.3.5 (a). Como o pagamento de principal pode aumentar e diminuir, o derivativo embutido é considerado derivativo sem opção, cujo valor está indexado à variável subjacente.

B4.3.7 No caso de instrumento com opção de venda que possa ser revendido em qualquer época à vista em valor igual à parte proporcional do valor do ativo líquido da entidade (como, por exemplo, unidades de fundo mútuo aberto ou alguns produtos de investimento vinculados à unidade), o efeito da separação do derivativo embutido e da contabilização de cada componente é o de mensurar o contrato híbrido ao valor de resgate a pagar no final do período contábil, como se o titular tivesse exercido seu direito de revender o instrumento ao emitente.

B4.3.8 As características e os riscos econômicos do derivativo embutido são estreitamente relacionados às características e riscos econômicos do contrato principal, nos exemplos a seguir. Nesses exemplos, a entidade não deve contabilizar o derivativo embutido separadamente do contrato principal.

(a) O derivativo embutido em que o item subjacente é taxa de juros ou índice de taxas de juros, que pode alterar o valor de juros, que, de outro modo, seria pago ou recebido em contrato de dívida principal com incidência de juros; ou o contrato de seguro está estreitamente relacionado ao contrato principal, exceto se o contrato híbrido puder ser liquidado de tal modo que o titular não recupere substancialmente todo o seu investimento reconhecido; ou o derivativo embutido possa, pelo menos, duplicar a taxa de retorno inicial do titular sobre o contrato principal e possa resultar na taxa de retorno que seja, pelo menos, duas vezes o que teria sido o retorno de mercado para um contrato com os mesmos termos que o contrato principal.

(b) O piso ou o teto embutido sobre a taxa de juros em contrato de dívida ou contrato de seguro está

estreitamente relacionado ao contrato principal, desde que o teto seja igual ou superior à taxa de juros de mercado e o piso seja igual ou inferior à taxa de juros de mercado, quando o contrato for emitido, e o teto, ou o piso, não seja alavancado em relação ao contrato principal. De forma similar, as disposições incluídas em contrato para compra ou venda de ativo (por exemplo, commodity), que estabeleça o teto e o piso sobre o preço a ser pago ou recebido pelo ativo, estão estreitamente relacionadas ao contrato principal, se tanto o teto, quanto o piso estiverem fora do preço no início e não forem alavancados.

(c) O derivativo embutido em moeda estrangeira, que fornece fluxo de pagamentos de principal ou juros, que seja denominado em moeda estrangeira, e esteja embutido em instrumento de dívida principal (por exemplo, título de dívida de moeda dupla) está estreitamente relacionado ao instrumento de dívida principal. Esse derivativo não está separado do instrumento principal, porque o CPC 02 exige que os ganhos e as perdas de moeda estrangeira sobre itens monetários sejam reconhecidos no resultado.

(d) O derivativo embutido em moeda estrangeira de contrato principal que seja contrato de seguro e, não, instrumento financeiro (por exemplo, contrato para compra ou venda de item não financeiro, em que o preço é denominado em moeda estrangeira) está estreitamente relacionado ao contrato principal, desde que não esteja alavancado, não contenha característica de opção e exija pagamentos denominados em uma das seguintes moedas:

(i) a moeda funcional de qualquer parte substancial desse contrato;

(ii) a moeda em que o preço do respectivo produto ou serviço, que é adquirido ou entregue, é rotineiramente denominado em transações comerciais em todo o mundo (como, por exemplo, o dólar dos EUA para transações com petróleo); ou

(iii) a moeda que é normalmente usada em contratos para compra ou venda de itens não financeiros no ambiente econômico em que a transação ocorre (por exemplo, moeda relativamente estável e líquida, que é normalmente usada em transações comerciais locais ou negociação externa).

(e) A opção de pagamento antecipado, embutida em strip apenas de juros ou apenas de principal, está estreitamente relacionada ao contrato principal, desde que o contrato principal (i) inicialmente tenha sido resultado da separação do direito de receber fluxos de caixa contratuais de instrumento financeiro, que, por si só, não continha derivativo embutido e (ii) não contenha quaisquer termos não presentes no contrato de dívida principal original.

(f) O derivativo embutido em contrato de arrendamento principal está estreitamente relacionado ao contrato principal, se o derivativo embutido for representado por: (i) índice relacionado à inflação, como, por exemplo, índice de pagamentos de arrendamento ao índice de preços ao consumidor (desde que o arrendamento não seja alavancado e o índice esteja relacionado à inflação no próprio ambiente econômico da entidade), (ii) pagamentos variáveis de arrendamento baseados nas respectivas vendas ou (iii) pagamentos variáveis de arrendamento baseados em taxas de juros variáveis.

(g) A característica de vinculação por unidade, embutida em instrumento financeiro principal ou em contrato de seguro principal, está estreitamente relacionada ao instrumento principal ou contrato principal, se os pagamentos denominados em unidades forem mensurados por valores unitários correntes, que reflitam os valores justos dos ativos do fundo. A característica de vinculação por unidade é um termo contratual, que exige pagamentos denominados em unidades de fundo de investimento interno ou externo.

(h) O derivativo embutido em contrato de seguro está estreitamente relacionado ao contrato de seguro principal, se o derivativo embutido e o contrato de seguro principal forem tão interdependentes que a entidade não possa mensurar o derivativo embutido separadamente (ou seja, sem considerar o contrato principal).

Instrumento que contém derivativo embutido

B4.3.9 Conforme observado no item B4.3.1, quando a entidade se tornar parte de contrato híbrido com componente principal, que não é um ativo dentro do alcance deste pronunciamento, e com um ou mais derivativos embutidos, o item 4.3.3 exige que a entidade identifique esses derivativos embutidos, avalie se é necessário ser separado do contrato principal e, para aqueles que precisem ser separados, deve mensurar os derivativos ao valor justo no reconhecimento inicial e subsequentemente. Esses requisitos podem ser mais complexos ou resultar em mensurações menos confiáveis que a mensuração de todo o instrumento ao valor justo por meio do resultado. Por esse motivo, este pronunciamento permite que todo o contrato híbrido seja designado como ao valor justo por meio do resultado.

B4.3.10 Essa designação pode ser usada independentemente de o item 4.3.3 exigir que os derivativos embutidos sejam separados do contrato principal ou proibir essa separação. Entretanto, o item 4.3.5 não justifica a designação do contrato híbrido como ao valor justo por meio do resultado, nos casos definidos nos itens 4.3.5 (a) e (b), pois isso não reduz a complexidade, nem aumenta a confiabilidade.

Reavaliação de derivativo embutido

B4.3.11 De acordo com o item 4.3.3, a entidade deve avaliar se é necessário que o derivativo embutido seja separado do contrato principal e contabilizado como derivativo, quando a entidade se tornar parte do contrato pela primeira vez. A reavaliação subsequente é proibida, exceto se houver alteração nos termos do contrato, que modifique significativamente os fluxos de caixa que, de outro modo, seriam exigidos de acordo com o contrato, caso em que a reavaliação será necessária. A entidade determina se a modificação aos fluxos de caixa é significativa, considerando a extensão em que os fluxos de caixa futuros esperados, associados ao derivativo embutido, ao contrato principal ou a ambos, foram alterados e se a alteração é significativa em relação aos fluxos de caixa anteriormente esperados no contrato.

B4.3.12 O item B.4.3.11 não deve ser aplicado a derivativos embutidos em contratos adquiridos:

(a) em combinação de negócios, conforme definido no CPC 15;

(b) em combinação de entidades ou negócios sob controle comum, conforme descrito nos itens B1 a

B4 do CPC 15; ou

(c) na formação de empreendimento controlado em conjunto, conforme definido no CPC 19 - Negócios em Conjunto; ou sua possível reavaliação na data de aquisição.(2)

Reclassificação de ativo financeiro (Seção 4.4)

Reclassificação de ativo financeiro

B4.4.1 O item 4.4.1 exige que a entidade reclassifique ativos financeiros se a entidade mudar seu modelo de negócios para a gestão desses ativos financeiros. Espera-se que essas alterações sejam pouco frequentes. Essas alterações são determinadas pela administração sênior da entidade como resultado de alterações externas ou internas, devendo ser significativas para as operações da entidade e demonstráveis para partes externas. Consequentemente, a alteração no modelo de negócios da entidade deve ocorrer somente quando a entidade começar ou deixar de realizar uma atividade significativa para suas operações, por exemplo, quando a entidade tiver adquirido, alienado ou encerrado uma linha de negócios. Exemplos de alterações no modelo de negócios incluem:

(a) a entidade detém, para venda em curto prazo, uma carteira de empréstimos comerciais. A entidade adquire uma empresa que gerencia empréstimos comerciais e que, com base em seu modelo de negócios, detém os empréstimos para receber os fluxos de caixa contratuais. A carteira de empréstimos comerciais não está mais à venda, sendo agora gerenciada juntamente com os empréstimos comerciais adquiridos, todos os quais são mantidos para que os fluxos de caixa contratuais sejam recebidos;

(b) a empresa de serviços financeiros decide encerrar seu negócio de hipoteca de varejo. Esse negócio não mais aceita novos negócios e a empresa de serviços financeiros está comercializando ativamente sua carteira de empréstimos hipotecários para venda.

B4.4.2 A alteração no objetivo do modelo de negócios da entidade deve ocorrer antes da data da reclassificação. Por exemplo, se a empresa de serviços financeiros decidir, em 15 de fevereiro, encerrar seu negócio de hipoteca de varejo e, consequentemente, tiver de reclassificar todos os ativos financeiros afetados em 1º de abril (ou seja, o primeiro dia do período de relatório contábil seguinte da entidade), a entidade não deve aceitar novos negócios de hipoteca de varejo ou, de outro modo, realizar atividades com base em seu modelo de negócios antigo após 15 de fevereiro.

B4.4.3 Os itens a seguir não constituem alterações no modelo de negócios:

(a) a alteração na intenção relativa a ativos financeiros específicos (mesmo no caso de alterações significativas nas condições de mercado);

(b) o desaparecimento temporário de mercado específico de ativos financeiros;

(c) a transferência de ativos financeiros entre partes da entidade com modelos de negócios diferentes.

Mensuração (Capítulo 5)

Mensuração inicial (Seção 5.1)

B5.1.1 O valor justo de instrumento financeiro no reconhecimento inicial deve ser normalmente, o preço de transação (ou seja, o valor justo da contraprestação dada ou recebida (ver também item

B5.1.2A e CPC 46 - Mensuração do Valor Justo)). Entretanto, se parte da contraprestação dada ou recebida é por algo que não seja o instrumento financeiro, a entidade deve mensurar o valor justo do instrumento financeiro. Por exemplo, o valor justo do empréstimo ou recebível em longo prazo, que não tenha incidência de juros, pode ser mensurado como o valor presente de todos os recebimentos de caixa futuros descontados, utilizando-se a taxa de juros de mercado para instrumento similar (similar quanto à moeda, prazo, tipo de taxa de juros e outros fatores) com classificação de crédito similar. Qualquer valor adicional emprestado é despesa ou redução da receita, a menos que seja qualificado para reconhecimento como algum outro tipo de ativo.

B5.1.2 Se a entidade conceder empréstimo com incidência de taxa de juros fora do mercado (por exemplo, 5%, quando a taxa de mercado para empréstimos similares é de 8%) e receber uma comissão inicial como remuneração, a entidade deve reconhecer o empréstimo ao seu valor justo, ou seja, líquido da comissão recebida.

B5.1.2A A melhor evidência do valor justo de instrumento financeiro no reconhecimento inicial é normalmente o preço de transação (ou seja, o valor justo da contraprestação dada ou recebida, ver também CPC 46). Se determinar que o valor justo no reconhecimento inicial se difere do preço da transação, conforme mencionado no item 5.1.1A, a entidade deve contabilizar esse instrumento nessa data da seguinte forma:

(a) pela mensuração exigida pelo item 5.1.1, se esse valor justo for comprovado por preço cotado em mercado ativo para ativo ou passivo idêntico (ou seja, informação de Nível 1) ou com base na técnica de avaliação que utiliza somente dados de mercados observáveis. A entidade deve reconhecer a diferença entre o valor justo no reconhecimento inicial e o preço da transação como ganho ou perda;

(b) em todos os demais casos, pela mensuração exigida pelo item 5.1.1, ajustada para diferir a diferença entre o valor justo no reconhecimento inicial e o preço da transação. Após o reconhecimento inicial, a entidade somente deve reconhecer essa diferença diferida como ganho ou perda na medida em que ela resultar de alteração em fator (incluindo o tempo), que participantes do mercado levariam em consideração ao precificar o ativo ou o passivo.

Mensuração subsequente (seções 5.2 e 5.3)

B5.2.1 Se o instrumento financeiro que foi anteriormente reconhecido como ativo financeiro for mensurado ao valor justo por meio do resultado e seu valor justo cair abaixo de zero, ele é um passivo financeiro mensurado de acordo com o item 4.2.1. Entretanto, contratos híbridos com componentes principais, que são ativos dentro do alcance deste pronunciamento, devem ser sempre mensurados de acordo com o item 4.3.2.

B5.2.2 O exemplo a seguir ilustra a contabilização dos custos de transação na mensuração inicial e subsequente de ativo financeiro mensurado ao valor justo com alterações reconhecidas em outros resultados abrangentes, de acordo com os itens 5.7.5 ou 4.1.2A. A entidade adquire o ativo financeiro por $ 100, mais a comissão de compra de $ 2. Inicialmente, a entidade deve reconhecer o ativo por $ 102. O período de relatório contábil encerra-se um dia depois, quando o preço de mercado cotado do ativo é $ 100. Se o ativo fosse vendido, a comissão de $ 3 seria paga. Nessa data, a entidade mensura o ativo por $ 100 (sem levar em consideração a eventual comissão sobre a venda) e deve reconhecer a perda de $ 2 em outros resultados abrangentes. Se o ativo financeiro for mensurado ao valor justo por meio de outros resultados abrangentes de acordo com o item 4.1.2A, os custos de transação devem ser amortizados no resultado, utilizando o método de juros efetivos.

B5.2.2A A mensuração subsequente de ativo financeiro ou passivo financeiro e o reconhecimento subsequente de ganhos e perdas, descrito no item B5.1.2A, devem ser consistentes com os requisitos deste pronunciamento.

Investimento em instrumento patrimonial e contrato relativo a esse investimento

B5.2.3 Todos os investimentos em instrumentos patrimoniais e contratos relativos a esses instrumentos devem ser mensurados ao valor justo. Contudo, em circunstâncias limitadas, o custo pode ser uma estimativa apropriada do valor justo. Esse pode ser o caso se não houver informações suficientes mais recentes disponíveis para mensurar o valor justo, ou se houver ampla gama de mensurações ao valor justo possíveis e o custo representar a melhor estimativa do valor justo nessa gama.

B5.2.4 Indicadores de que o custo pode não ser representativo do valor justo incluem:

(a) alteração significativa no desempenho da investida em comparação com orçamentos, planos ou marcos;

(b) alterações na expectativa de que os marcos técnicos de produtos da adquirida serão atingidos;

(c) alteração significativa no mercado para o patrimônio da investida ou de seus produtos ou produtos em potencial;

(d) alteração significativa na economia global ou no ambiente econômico em que a investida atuar;

(e) alteração significativa no desempenho de entidades comparáveis ou nas avaliações indicadas pelo mercado em geral;

(f) assuntos internos da investida, como fraude, disputas comerciais, litígios, alterações na administração ou na estratégia;

(g) evidência de transações externas envolvendo o patrimônio da investida, seja pela investida (como nova emissão de instrumentos patrimoniais) ou por meio de transferências de instrumentos patrimoniais entre terceiros.

B5.2.5 A lista do item B5.2.4 não é exaustiva. A entidade deve utilizar todas as informações sobre o desempenho e as operações da investida que se tornarem disponíveis após a data do reconhecimento inicial. Na medida em que quaisquer desses fatores pertinentes existirem, eles podem indicar que o custo pode não ser representativo do valor justo. Nesses casos, a entidade deve mensurar os investimentos em instrumentos patrimoniais ao valor justo.

B5.2.6 O custo nunca é a melhor estimativa do valor justo para investimentos em instrumentos patrimoniais cotados (ou contratos relativos a instrumentos patrimoniais cotados).

Mensuração ao custo amortizado (Seção 5.4)

Método de juros efetivos

B5.4.1 Ao aplicar o método de juros efetivos, a entidade identifica taxas que são parte integrante da taxa de juros efetiva do instrumento financeiro. A descrição de taxas de serviços financeiros pode não ser indicativa da natureza e essência dos serviços fornecidos. As taxas que são partes integrantes da taxa de juros efetiva do instrumento financeiro devem ser tratadas como ajuste à taxa de juros efetiva, salvo se o instrumento financeiro for mensurado ao valor justo, com a alteração no valor justo sendo reconhecida no resultado. Nesses casos, as taxas devem ser reconhecidas como receita ou despesa, quando o instrumento for inicialmente reconhecido.

B5.4.2 As taxas, que são parte integrante da taxa de juros efetiva do instrumento financeiro, incluem:

(a) taxas de originação recebidas pela entidade, relacionadas à criação ou aquisição do ativo financeiro. Essas taxas podem incluir remuneração por atividades, tais como avaliação da condição financeira do mutuário, avaliação e registro de garantias, garantia e outros acordos de garantia, negociação dos termos do instrumento, preparação e processamento de documentos e fechamento da transação. Essas taxas são partes integrantes na geração do envolvimento com o instrumento financeiro resultante;

(b) taxas de compromisso recebidas pela entidade para conceder o empréstimo quando o compromisso de empréstimo não for mensurado de acordo com o item 4.2.1 (a) e for provável que a entidade celebrará um acordo de empréstimo específico. Essas taxas devem ser consideradas como remuneração pelo envolvimento contínuo com a aquisição do instrumento financeiro. Se o compromisso vencer sem que a entidade faça o empréstimo, a taxa deve ser reconhecida como receita na data de vencimento;

(c) taxas de originação, pagas na emissão de passivos financeiros mensurados ao custo amortizado. Essas taxas são partes integrantes do envolvimento com a geração do passivo financeiro. A entidade deve distinguir as taxas e custos, que constituem partes integrantes da taxa de juros efetiva do passivo financeiro das taxas de originação, e custos de transação relativos ao direito de fornecer serviços, tais como serviços de gestão de investimentos.

B5.4.3 As taxas, que não são partes integrantes da taxa de juros efetiva do instrumento financeiro, e devem ser contabilizadas de acordo com o CPC 47, incluem:

(a) taxas cobradas pelo serviço de empréstimo;

(b) taxas de compromisso para conceder o empréstimo, quando o compromisso de empréstimo não for mensurado de acordo com o item 4.2.1 (a) e for improvável que o acordo de empréstimo específico será celebrado; e

(c) taxa de sindicalização de dívida, recebida pela entidade, que estrutura o empréstimo e que não retém nenhuma parte do pacote de empréstimo para si (ou retém parte à mesma taxa de juros efetiva para risco comparável ao de outros participantes).

B5.4.4 Ao aplicar o método de juros efetivos, a entidade, de modo geral, deve amortizar quaisquer taxas, pontos pagos ou recebidos, custos de transação e outros prêmios ou descontos incluídos no cálculo da taxa de juros efetiva ao longo da vida esperada do instrumento financeiro. Entretanto, deve ser usado um período menor, se esse for o período a que se aplicarem taxas, pontos pagos ou recebidos, custos de transação, prêmios ou descontos. Esse é o caso quando a variável, à qual taxas, pontos pagos ou recebidos, custos de transação, prêmios ou descontos estão relacionados, tiver o preço redefinido para as taxas de mercado antes do vencimento esperado do instrumento financeiro. Nesse caso, o período de amortização apropriado é o período até a próxima data de reprecificação. Por exemplo, se o prêmio ou o desconto, no instrumento financeiro de taxa flutuante, refletir juros, que se acumulam sobre esse instrumento financeiro, desde que os juros foram pagos pela última vez ou houve alterações nas taxas de mercado, desde que a taxa de juros flutuante foi redefinida para as taxas de mercado, essa taxa de juros deve ser amortizada para a próxima data, na qual a taxa de juros flutuante for redefinida para as taxas de mercado. Isso porque o prêmio ou desconto está relacionado ao período até a próxima data de redefinição de juros, pois, nessa data, a variável ao qual o prêmio ou o desconto está relacionado (ou seja, taxa de juros) é redefinida para as taxas de mercado. Se, entretanto, o prêmio ou o desconto resultar de alteração no spread de crédito pela taxa flutuante especificada nesse instrumento financeiro ou por outras variáveis, que não sejam redefinidas para as taxas de mercado, o prêmio ou o desconto deve ser amortizado ao longo da vida esperada do instrumento financeiro.

B5.4.5 Para ativos financeiros de taxa flutuante e passivos financeiros de taxa flutuante, a reestimativa periódica dos fluxos de caixa para refletir os movimentos nas taxas de juros de mercado altera a taxa de juros efetiva. Se o ativo financeiro de taxa flutuante ou o passivo financeiro de taxa flutuante for reconhecido inicialmente pelo valor igual ao principal a receber ou a pagar no vencimento, a reestimativa dos pagamentos de juros futuros normalmente não possui efeito significativo sobre o valor contábil do ativo ou do passivo.

B5.4.6 Se a entidade revisar suas estimativas de pagamentos ou recebimentos (excluindo modificações de acordo com o item 5.4.3 e alterações nas estimativas de perdas de crédito esperadas), ela deve ajustar o valor contábil bruto do ativo financeiro ou custo amortizado do passivo financeiro (ou grupo de instrumentos financeiros) para refletir fluxos de caixa contratuais estimados atuais e revisados. A entidade deve recalcular o valor contábil bruto do ativo financeiro ou o custo amortizado do passivo financeiro como o valor presente dos fluxos de caixa contratuais futuros estimados, que são descontados à taxa de juros efetiva original do instrumento financeiro (ou à taxa de juros efetiva ajustada ao crédito para ativos financeiros comprados ou concedidos com problemas de recuperação de crédito) ou, quando aplicável, à taxa de juros efetiva revisada, calculada de acordo com o item 6.5.10. O ajuste deve ser reconhecido no resultado como receita ou despesa.

B5.4.7 Em alguns casos, considera-se que o ativo financeiro apresenta problemas de recuperação de crédito, no reconhecimento inicial, porque o risco de crédito é muito elevado, e no caso de compra é adquirido com grande desconto. Exige-se que a entidade inclua as perdas de crédito esperadas iniciais, nos fluxos de caixa estimados, ao calcular a taxa de juros efetiva ajustada ao crédito para ativos financeiros considerados como comprados ou concedidos com problemas de recuperação de crédito no reconhecimento inicial. Contudo, isso não significa que a taxa de juros efetiva ajustada ao crédito deve ser aplicada somente porque o ativo financeiro possui risco de crédito elevado no reconhecimento inicial.

Custo de transação

B5.4.8 Os custos de transação devem incluir taxas e comissão pagas a agentes (incluindo empregados que atuam como agentes de venda), consultores, corretores e revendedores, arrecadações por agências reguladoras e bolsas de valores, e impostos e encargos de transferências. Os custos de transação não devem incluir prêmios ou descontos de dívida, custos de financiamento ou custos administrativos internos ou de retenção.

Desreconhecimento

B5.4.9 Desreconhecimentos podem referir-se a ativo financeiro em sua totalidade ou a parte dele. Por exemplo, a entidade planeja executar a garantia sobre o ativo financeiro e espera recuperar não mais do que 30% do ativo financeiro a partir da garantia. Se a entidade não tem perspectivas razoáveis de recuperar quaisquer fluxos de caixa adicionais do ativo financeiro, ela deve baixar os 70% restantes do ativo financeiro.

Redução ao valor recuperável (Seção 5.5)

Base de avaliação individual e coletiva

B5.5.1 Para atender ao objetivo de reconhecer perdas de crédito esperadas para aumentos significativos em risco de crédito desde o reconhecimento inicial, pode ser necessário realizar a avaliação de aumentos significativos em risco de crédito, coletivamente, mediante a consideração de informações que indiquem aumentos significativos em risco de crédito sobre, por exemplo, grupo ou subgrupo de instrumentos financeiros. Isso serve para garantir que a entidade atenda ao objetivo de reconhecer perdas de crédito esperadas, quando existirem aumentos significativos em risco de crédito, mesmo se a evidência desses aumentos significativos em risco de crédito no nível do instrumento individual ainda não estiver disponível.

B5.5.2 De modo geral, estima-se que as perdas de crédito esperadas sejam reconhecidas antes do vencimento do instrumento financeiro. Normalmente, o risco de crédito aumenta significativamente antes do vencimento do instrumento financeiro ou observam-se outros fatores de atraso específicos do mutuário (por exemplo, modificação ou reestruturação). Consequentemente, quando informações razoáveis e sustentáveis, que são mais prospectivas do que informações sobre atrasos nos pagamentos, estiverem disponíveis, sem custo ou esforço excessivos, elas devem ser utilizadas para avaliar alterações no risco de crédito.

B5.5.3 Entretanto, dependendo da natureza dos instrumentos financeiros e das informações de risco de crédito disponíveis para grupos específicos de instrumentos financeiros, a entidade pode não ser capaz de identificar alterações significativas no risco de crédito para instrumentos financeiros individuais antes do vencimento dos instrumentos financeiros. Esse pode ser o caso de instrumentos financeiros, tais como empréstimos de varejo, para os quais existe pouca ou nenhuma informação de risco de crédito atualizada, que seja rotineiramente obtida e monitorada em instrumento individual, até o cliente violar os termos contratuais. Se as alterações no risco de crédito para instrumentos financeiros individuais não forem obtidas antes do seu vencimento, a provisão para perdas baseada somente em informações de crédito em nível de instrumento financeiro individual não representa fielmente as alterações no risco de crédito, desde o reconhecimento inicial.

B5.5.4 Em algumas circunstâncias, a entidade não possui informações razoáveis e sustentáveis que estejam disponíveis, sem custo ou esforço excessivos, para mensurar perdas de crédito esperadas com base em instrumento individual. Nesse caso, as perdas de crédito esperadas devem ser reconhecidas coletivamente, considerando informações abrangentes de risco de crédito. Essas informações abrangentes de risco de crédito devem incorporar não apenas informações vencidas, mas também todas as informações de crédito relevantes, inclusive informações macroeconômicas prospectivas, para aproximar o resultado do reconhecimento de perdas de crédito esperadas, quando houver aumento significativo no risco de crédito desde o reconhecimento inicial em nível de instrumento individual.

B5.5.5 Para a finalidade de determinar aumentos significativos no risco de crédito e reconhecer a provisão para perdas coletivamente, a entidade pode agrupar instrumentos financeiros com base em características de risco de crédito compartilhado com o objetivo de facilitar a análise destinada a permitir que aumentos significativos no risco de crédito sejam identificados em tempo hábil. A entidade não deve ocultar essas informações, agrupando instrumentos financeiros com diferentes características de risco. Exemplos de características de risco de crédito compartilhado podem incluir, mas não se limita a:

(a) tipo de instrumento;

(b) classificações de risco de crédito;

(c) tipo de garantia;

(d) data de reconhecimento inicial;

(e) prazo remanescente até o vencimento;

(f) setor;

(g) localização geográfica do mutuário; e

(h) o valor da garantia referente ao ativo financeiro, se ela tiver impacto sobre a probabilidade de ocorrência de inadimplência (por exemplo, empréstimos do tipo "non recourse" em algumas jurisdições ou índices LTV ("loan-to-value")).

B5.5.6 O item 5.5.4 exige que perdas de crédito esperadas sejam reconhecidas, em todos os instrumentos financeiros, para os quais houve aumentos significativos no risco de crédito desde o reconhecimento inicial. Para atender a esse objetivo, se a entidade não for capaz de agrupar instrumentos financeiros para os quais se considera que o risco de crédito aumentou significativamente desde o reconhecimento inicial com base em características de risco de crédito compartilhado, a entidade deve reconhecer perdas de crédito esperadas sobre a parcela dos ativos financeiros para os quais se considera que o risco de crédito aumentou significativamente. A agregação de instrumentos financeiros para avaliar se existem alterações no risco de crédito coletivamente pode mudar ao longo do tempo, conforme novas informações se tornem disponíveis sobre grupos de instrumentos financeiros ou instrumentos financeiros individuais.

Época do reconhecimento de perda de crédito esperada

B5.5.7 A avaliação sobre se as perdas de crédito esperadas devem ser reconhecidas baseia-se em aumentos significativos na probabilidade ou risco de inadimplência que ocorre desde o reconhecimento inicial (independentemente de se o instrumento financeiro foi reprecificado para refletir aumento no risco de crédito) e não com base em evidência do ativo financeiro que apresenta problemas de recuperação de crédito na data do relatório contábil ou na ocorrência de inadimplência real. De modo geral, há aumento significativo no risco de crédito, antes que o ativo financeiro apresente problemas de recuperação de crédito ou que ocorra a inadimplência real.

B5.5.8 Para compromissos de empréstimo, a entidade deve considerar alterações no risco de inadimplência, que ocorra no empréstimo ao qual se refere o compromisso de empréstimo. Para contrato de garantia financeira, a entidade deve considerar as alterações no risco de que o devedor especificado torne-se inadimplente no contrato.

B5.5.9 A significância da alteração no risco de crédito desde o reconhecimento inicial depende do risco de inadimplência, que ocorre no reconhecimento inicial. Assim, determinada mudança, em termos absolutos, no risco de ocorrência de inadimplência é mais significativa para o instrumento financeiro, com menor risco inicial de ocorrência de inadimplência, em comparação com instrumento financeiro com risco inicial mais elevado de ocorrência de inadimplência.

B5.5.10 O risco de ocorrência de inadimplência em instrumentos financeiros, que possuem risco de crédito comparável, é mais elevado quanto mais longa for a vida esperada do instrumento, por exemplo, o risco de ocorrência de inadimplência em título de dívida com classificação AAA e uma vida esperada de 10 anos é mais elevado do que em título de dívida com classificação AAA e uma vida esperada de cinco anos.

B5.5.11 Devido à relação entre a vida esperada e o risco de ocorrência de inadimplência, a alteração no risco de crédito não pode ser avaliada, simplesmente comparando-se a alteração no risco absoluto de inadimplência que ocorre ao longo do tempo. Por exemplo, se o risco de ocorrência de inadimplência para instrumento financeiro com vida esperada de 10 anos no reconhecimento inicial for idêntico ao risco de ocorrência de inadimplência nesse instrumento financeiro, quando sua vida esperada em período subsequente for somente de cinco anos, isso pode indicar aumento no risco de crédito. Isso porque o risco de ocorrência de inadimplência ao longo da vida esperada geralmente diminui, conforme o tempo passa, se o risco de crédito permanecer inalterado e o instrumento financeiro estiver mais próximo do vencimento. Entretanto, para instrumentos financeiros que somente possuem obrigações de pagamento significativas próximas ao vencimento do instrumento financeiro, o risco de ocorrência de inadimplência pode não decrescer necessariamente, conforme o tempo passa. Nesse caso, a entidade também deve considerar outros fatores qualitativos que demonstrem se o risco de crédito aumentou significativamente desde o reconhecimento inicial.

B5.5.12 A entidade pode aplicar diversas abordagens ao avaliar se o risco de crédito em instrumento financeiro aumentou significativamente desde o reconhecimento inicial ou ao mensurar as perdas de crédito esperadas. A entidade pode aplicar diferentes abordagens para diferentes instrumentos financeiros. A abordagem, que não inclui probabilidade explícita de inadimplência como informação em si, tal como abordagem de taxas de perda de crédito, pode ser consistente com as exigências deste pronunciamento, desde que a entidade seja capaz de separar as alterações, no risco de ocorrência de inadimplência, das alterações, em outros condutores de perdas de crédito esperadas, tais como garantia, e, ao realizar a avaliação, considere o seguinte:

(a) a alteração no risco de ocorrência de inadimplência desde o reconhecimento inicial;

(b) a vida esperada do instrumento financeiro; e

(c) informações razoáveis e sustentáveis disponíveis, sem custo ou esforço excessivos, que possam afetar o risco de crédito.

B5.5.13 Os métodos, utilizados para determinar se o risco de crédito aumentou significativamente em instrumento financeiro desde o reconhecimento inicial, devem considerar as características do instrumento financeiro (ou grupo de instrumentos financeiros) e os padrões de inadimplência no passado para instrumentos financeiros comparáveis. Apesar do requisito descrito no item 5.5.9, para instrumentos financeiros, para os quais os padrões de inadimplência não estão concentrados em momento específico durante a vida esperada do instrumento financeiro, alterações no risco de ocorrência de inadimplência ao longo dos próximos 12 meses podem ser uma aproximação razoável das alterações no risco permanente de ocorrência de inadimplência. Nesses casos, a entidade pode utilizar alterações no risco de ocorrência de inadimplência ao longo dos próximos 12 meses para determinar se o risco de crédito aumentou significativamente desde o reconhecimento inicial, a menos que circunstâncias indiquem que é necessária uma avaliação permanente.

B5.5.14 Entretanto, para alguns instrumentos financeiros, ou em algumas circunstâncias, pode não ser apropriado usar alterações no risco de ocorrência de inadimplência ao longo dos próximos 12 meses para determinar se as perdas de crédito esperadas devem ser reconhecidas. Por exemplo, a alteração do risco de ocorrência de inadimplência nos próximos 12 meses pode não ser a base adequada para determinar se o risco de crédito aumentou em instrumento financeiro com vencimento superior a 12 meses, quando:

(a) o instrumento financeiro somente possui obrigações de pagamento significativas após os próximos 12 meses;

(b) ocorrem alterações em fatores macroeconômicos relevantes ou outros fatores relacionados a crédito, que não são adequadamente refletidos no risco de ocorrência de inadimplência nos próximos 12 meses; ou

(c) alterações em fatores relacionados a crédito somente têm impacto sobre o risco de crédito do instrumento financeiro (ou têm efeito mais pronunciado) após os 12 meses.

Determinar se o risco de crédito aumentou significativamente desde o reconhecimento inicial

B5.5.15 Ao determinar se é exigido o reconhecimento de perdas de crédito esperadas, a entidade deve considerar informações razoáveis e sustentáveis disponíveis, sem custo ou esforço excessivos, e que podem afetar o risco de crédito em instrumento financeiro, de acordo com o item 5.5.17 (c). A entidade não precisa realizar uma pesquisa exaustiva de informações para determinar se o risco de crédito aumentou significativamente desde o reconhecimento inicial.

B5.5.16 A análise de risco de crédito é uma análise holística e multifatorial; se um fator específico é relevante, e seu peso em comparação a outros fatores, vai depender do tipo de produto, características dos instrumentos financeiros e do mutuário, bem como da região geográfica. A entidade deve considerar informações razoáveis e sustentáveis disponíveis, sem custo ou esforço excessivos, e que sejam relevantes para o instrumento financeiro específico ser avaliado. Contudo, alguns fatores ou indicadores podem não ser identificáveis em nível de instrumento financeiro individual. Nesse caso, os fatores ou indicadores devem ser avaliados para carteiras apropriadas, grupos de carteiras ou partes da carteira de ativos financeiros para determinar se a exigência do item 5.5.3, para o reconhecimento de perdas de crédito esperadas, foi atendida.

B5.5.17 A lista de informações não exaustiva a seguir pode ser relevante na análise de alterações no risco de crédito:

(a) alterações significativas em indicadores de preços internos de risco de crédito como resultado da alteração no risco de crédito desde o início, incluindo, sem limitação, o spread de crédito que resultaria caso um instrumento financeiro específico ou instrumento financeiro similar com os mesmos termos e a mesma contraparte fossem concedidos recentemente ou emitidos na data do relatório contábil;

(b) outras alterações nas taxas ou termos de instrumento financeiro existente, que seriam significativamente diferentes se o instrumento fosse recentemente concedido ou emitido na data do relatório contábil (tais como, condições mais rigorosas, maiores valores de garantia ou caução, ou hedge de rendimento mais elevado), devido a alterações no risco de crédito do instrumento financeiro desde o reconhecimento inicial;

(c) alterações significativas em indicadores de mercados externos de risco de crédito para instrumento financeiro específico ou instrumentos financeiros similares com a mesma vida esperada. Alterações em indicadores de mercado de risco de crédito incluem, mas não se limitam:

(i) ao spread de crédito;

(ii) aos preços de swap de inadimplência de crédito para o mutuário;

(iii) ao período de tempo ou em que medida o valor justo do ativo financeiro tem sido inferior ao seu custo amortizado; e

(iv) a outras informações de mercado relativas ao mutuário, tais como alterações no preço de instrumento patrimonial e de dívida do mutuário;

(d) alteração significativa real ou esperada na classificação de crédito externa do instrumento financeiro;

(e) redução na classificação de crédito interna real ou esperada para o mutuário ou diminuição da pontuação comportamental utilizada para avaliar o risco de crédito internamente. Classificações de crédito internas e pontuações comportamentais internas são mais confiáveis quando são mapeadas em classificações externas ou sustentadas por estudos de inadimplência;

(f) alterações adversas existentes ou previstas nas condições de negócios, financeiras ou econômicas que se espera que causem alteração significativa na capacidade do mutuário de cumprir suas obrigações de dívida, tais como aumento real ou esperado nas taxas de juros ou aumento significativo real ou esperado nas taxas de desemprego;

(g) alteração significativa real ou esperada nos resultados operacionais do mutuário. Exemplos incluem margens ou receitas decrescentes reais ou esperadas, maiores riscos operacionais, deficiências de capital circulante, menor qualidade do ativo, maior alavancagem do balanço patrimonial, liquidez, problemas de gestão ou alterações no alcance da estrutura organizacional ou do negócio (tais como, a descontinuação de segmento do negócio) que resultam em alteração significativa na capacidade do mutuário de cumprir suas obrigações de dívida;

(h) aumentos significativos no risco de crédito em outros instrumentos financeiros do mesmo mutuário;

(i) alteração adversa significativa real ou esperada no ambiente regulatório, econômico ou tecnológico do mutuário, que resulta em alteração significativa na capacidade do mutuário de cumprir suas obrigações de dívida, tais como, redução na demanda de produtos do mutuário devido à inovação tecnológica;

(j) alterações significativas no valor da garantia, que sustenta a obrigação, ou na qualidade de garantias de terceiros ou melhorias de crédito, que se espera que reduzam o incentivo econômico do mutuário de realizar os pagamentos contratuais programados ou, de outro modo, que tenham efeito sobre a probabilidade de ocorrência de inadimplência. Por exemplo, se o valor da garantia diminui devido à redução dos preços das casas, os mutuários, em algumas jurisdições, têm maior incentivo para deixar de pagar suas hipotecas;

(k) alteração significativa na qualidade da garantia fornecida por acionista (ou controladoras do indivíduo), se o acionista tem (ou controladoras têm) incentivo e capacidade financeira de evitar a inadimplência por meio de injeção de caixa ou capital;

(l) alterações significativas, tais como reduções no suporte financeiro da controladora ou outra coligada ou alteração significativa real ou esperada na qualidade da melhoria de crédito, que se espera que reduzam o incentivo econômico do mutuário de efetuar os pagamentos contratuais programados. O suporte ou melhorias de qualidade de crédito incluem a consideração da condição financeira do avalista e/ou, para participações emitidas em securitizações, espera-se que participações subordinadas sejam capazes de absorver perdas de crédito esperadas (por exemplo, empréstimos subjacentes ao título);

(m) alterações esperadas na documentação de empréstimo, incluindo quebra de contrato esperada que possa levar a isenções ou alterações de cláusulas, períodos de isenção de pagamento de juros, aumento de taxas de juros, exigindo garantias ou caução adicionais, ou outras alterações na estrutura contratual do instrumento;

(n) alterações significativas no comportamento e desempenho esperados do mutuário, incluindo alterações na situação de pagamento de mutuários no grupo (por exemplo, aumento no número esperado de pagamentos contratuais em atraso ou aumentos significativos no número esperado de mutuários de cartões de crédito que se espera que se aproximem ou superem seus limites de crédito ou que se espera que paguem o valor mínimo mensal);

(o) alterações na abordagem de gestão de crédito da entidade em relação ao instrumento financeiro, ou seja, com base em novos indicadores de alterações no risco de crédito do instrumento financeiro, espera-se que a prática de gerenciamento de risco de crédito da entidade torne-se mais ativa ou concentre-se no gerenciamento do instrumento, inclusive tornando o instrumento ainda mais monitorado ou controlado, ou a entidade intervindo especificamente sobre o mutuário;

(p) informações sobre atrasos nos pagamentos, incluindo a presunção refutável prevista no item 5.5.11.

B5.5.18 Em alguns casos, as informações quantitativas não estatísticas e qualitativas disponíveis podem ser suficientes para determinar que o instrumento financeiro atende ao critério para o reconhecimento da provisão para perdas em valor equivalente às perdas de crédito esperadas. Isto é, as informações não precisam passar por modelo estatístico ou processo de classificação de crédito para determinar se houve aumento significativo no risco de crédito do instrumento financeiro. Em outros casos, a entidade pode precisar considerar outras informações, incluindo informações de seus modelos estatísticos ou processos de classificação de crédito. Alternativamente, a entidade pode basear a avaliação em ambos os tipos de informações, ou seja, fatores qualitativos não obtidos pelo processo de classificação interna e categoria específica de classificação interna na data do balanço, levando em consideração as características de risco de crédito no reconhecimento inicial, se os dois tipos de informações forem relevantes. Presunção refutável sobre pagamentos vencidos há mais de 30 dias

B5.5.19 A presunção refutável do item 5.5.11 não é um indicador absoluto de que as perdas de crédito esperadas devem ser reconhecidas, mas presume-se que seja o último momento em que as perdas de crédito esperadas devem ser reconhecidas, mesmo ao se utilizar informações prospectivas (incluindo fatores macroeconômicos em nível de carteira).

B5.5.20 A entidade pode refutar essa presunção. Entretanto, ela somente pode fazê-lo quando tiver informações razoáveis e sustentáveis disponíveis que demonstrem que, mesmo se os pagamentos contratuais estiverem vencidos há mais de 30 dias, isso não representa aumento significativo no risco de crédito do instrumento financeiro. Por exemplo, quando a falta de pagamento foi descuido administrativo e, não, resultante de dificuldade financeira do mutuário, ou a entidade tem acesso à evidência histórica, que demonstra que não existe correlação entre aumentos significativos no risco de ocorrência de inadimplência e ativos financeiros nos quais os pagamentos estão vencidos há mais de 30 dias, mas essa evidência não identifica tal correlação quando os pagamentos estão vencidos há mais de 60 dias.

B5.5.21 A entidade não consegue alinhar a época de aumentos significativos no risco de crédito e o reconhecimento de perdas de crédito esperadas para quando o ativo financeiro é considerado como apresentando problemas de recuperação de crédito ou a definição interna de inadimplência da entidade.

Instrumento financeiro que tem baixo risco de crédito na data do balanço

B5.5.22 O risco de crédito de instrumento financeiro é considerado baixo para as finalidades do item

5.5.10 se o instrumento financeiro tiver baixo risco de inadimplência; o mutuário tiver sólida capacidade de cumprir suas obrigações de fluxos de caixa contratuais em curto prazo e alterações adversas nas condições econômicas e de negócios em longo prazo possam, mas não necessariamente, reduzir a capacidade do mutuário de cumprir suas obrigações de fluxos de caixa contratuais. Instrumentos financeiros não devem ser considerados como tendo baixo risco de crédito quando se considerar que têm baixo risco de perda simplesmente devido ao valor da garantia, e o instrumento financeiro sem essa garantia não dever ser considerado com baixo risco de crédito. Também não se deve considerar que instrumentos financeiros tenham baixo risco de crédito simplesmente porque têm risco menor de inadimplência do que outros instrumentos financeiros da entidade ou em relação ao risco de crédito das jurisdições nas quais a entidade opera.

B5.5.23 Para determinar se o instrumento financeiro tem baixo risco de crédito, a entidade pode utilizar suas classificações de risco de crédito internas ou outras metodologias consistentes com definição globalmente compreendida de baixo risco de crédito e que considera os riscos e o tipo de instrumentos financeiros que estão sendo avaliados. A classificação externa de "grau de investimento" é um exemplo de instrumento financeiro que pode ser considerado como tendo baixo risco de crédito. Contudo, instrumentos financeiros não são obrigados a serem classificados externamente para serem considerados de baixo risco de crédito. Entretanto, eles podem ser considerados de baixo risco de crédito do ponto de vista de participante de mercado, levando-se em conta todos os termos e condições do instrumento financeiro.

B5.5.24 As perdas de crédito esperadas não devem ser reconhecidas em instrumento financeiro simplesmente porque se considerou que ele tem baixo risco de crédito no período do relatório contábil anterior e não se considera que tem baixo risco de crédito na data do relatório contábil atual. Nesse caso, a entidade deve determinar se houve aumento significativo no risco de crédito desde o reconhecimento inicial e, portanto, se as perdas de crédito esperadas devem ser reconhecidas de acordo com o item 5.5.3.

Modificações

B5.5.25 Em algumas circunstâncias, a renegociação ou modificação dos fluxos de caixa contratuais de ativo financeiro podem levar ao desreconhecimento do ativo financeiro existente de acordo com este pronunciamento. Quando a modificação do ativo financeiro resulta no desreconhecimento do ativo financeiro existente e no reconhecimento subsequente do ativo financeiro modificado, o ativo modificado é considerado "novo" ativo financeiro para as finalidades deste pronunciamento.

B5.5.26 Consequentemente, a data da modificação deve ser tratada como a data de reconhecimento inicial desse ativo financeiro ao serem aplicados os requisitos de redução ao valor recuperável ao ativo financeiro modificado. Normalmente, isso significa mensurar a provisão para perdas ao valor equivalente a perdas de crédito esperadas para 12 meses até que sejam cumpridos os requisitos para o reconhecimento de perdas de crédito esperadas no item 5.5.3. Contudo, em algumas circunstâncias incomuns, após uma modificação que resulta em desreconhecimento do ativo financeiro original, pode haver evidência de que o ativo financeiro modificado apresenta problemas de recuperação de crédito no reconhecimento inicial e, portanto, o ativo financeiro deve ser reconhecido como ativo financeiro com problemas de recuperação de crédito concedido. Isso pode ocorrer, por exemplo, na situação na qual houve modificação substancial do ativo em situação adversa, que resultou no desreconhecimento do ativo financeiro original. Nesse caso, pode ser possível que a modificação resulte em novo ativo financeiro com problemas de recuperação de crédito no reconhecimento inicial.

B5.5.27 Se os fluxos de caixa contratuais do ativo financeiro forem renegociados ou de outro modo modificados, mas o ativo financeiro não for desreconhecido, não se considera automaticamente que esse ativo financeiro tenha risco de crédito mais baixo. A entidade deve avaliar se houve aumento significativo no risco de crédito desde o reconhecimento inicial com base em todas as informações razoáveis e sustentáveis disponíveis sem custo ou esforço excessivos. Isso inclui informações históricas e prospectivas e a avaliação do risco de crédito ao longo da vida esperada do ativo financeiro deve incluir informações sobre as circunstâncias que levaram à modificação. A evidência de que os critérios para o reconhecimento de perdas de crédito esperadas não são mais atendidos pode incluir histórico de performance de pagamento tempestivo e atualizado em relação aos termos contratuais modificados. Normalmente, o cliente precisa demonstrar consistentemente bom comportamento de pagamentos ao longo de período de tempo, antes que se considere que o risco de crédito tenha diminuído. Por exemplo, histórico de pagamentos incompletos ou não efetuados normalmente não deve ser eliminado simplesmente ao se efetuar um pagamento no prazo após a modificação dos termos contratuais.

Mensuração de perda de crédito esperada

Perda de crédito esperada

B5.5.28 Perdas de crédito esperadas são uma estimativa ponderada por probabilidade de perdas de crédito (ou seja, valor presente de todos os déficits de caixa) ao longo da vida esperada do instrumento financeiro. O déficit de caixa é a diferença entre os fluxos de caixa devidos à entidade de acordo com o contrato e os fluxos de caixa que a entidade espera receber. Como as perdas de crédito esperadas consideram o valor e a época dos pagamentos, a perda de crédito ocorre mesmo se a entidade espera ser paga integralmente, mas depois do vencimento estipulado pelo contrato.

B5.5.29 Para ativos financeiros, a perda de crédito é o valor presente da diferença entre:

(a) os fluxos de caixa contratuais devidos à entidade de acordo com o contrato; e

(b) os fluxos de caixa que a entidade espera receber.

B5.5.30 Para compromissos de empréstimo não sacados, a perda de crédito é o valor presente da diferença entre:

(a) os fluxos de caixa contratuais devidos à entidade, se o titular do compromisso de empréstimo sacar o empréstimo; e

(b) os fluxos de caixa que a entidade espera receber, se o empréstimo for sacado.

B5.5.31 A estimativa de perdas de crédito esperadas da entidade sobre compromissos de empréstimo deve ser consistente com suas expectativas de saques nesse compromisso de empréstimo, ou seja, ela deve considerar a parcela esperada do compromisso de empréstimo que será sacada dentro de 12 meses da data do balanço ao estimar as perdas de crédito esperadas para 12 meses e a parcela esperada do compromisso de empréstimo, que será sacada ao longo da vida esperada do compromisso de empréstimo, ao estimar as perdas de crédito esperadas.

B5.5.32 Para contrato de garantia financeira, a entidade é obrigada a efetuar pagamentos somente no caso de inadimplência pelo devedor de acordo com os termos do instrumento garantido. Consequentemente, déficits de caixa são os pagamentos esperados para reembolsar o titular pela perda de crédito em que ele incorra menos quaisquer valores que a entidade espera receber do titular, do devedor ou de qualquer outra parte. Se o ativo estiver totalmente garantido, a estimativa de déficits de caixa para contrato de garantia financeira deve ser consistente com as estimativas de déficits de caixa para o ativo submetido à garantia.

B5.5.33 Para ativo financeiro com problemas de recuperação de crédito na data do balanço, mas que não seja ativo financeiro comprado ou concedido com problemas de recuperação de crédito, a entidade deve mensurar as perdas de crédito esperadas como a diferença entre o valor contábil bruto do ativo e o valor presente dos fluxos de caixa futuros estimados, descontados à taxa de juros efetiva original do ativo financeiro. Qualquer ajuste deve ser reconhecido no resultado como ganho ou perda na redução ao valor recuperável.

B5.5.34 Ao mensurar a provisão para perdas para recebível de arrendamento, os fluxos de caixa usados para determinar as perdas de crédito esperadas devem ser consistentes com os fluxos de caixa usados para mensurar o recebível de arrendamento, de acordo com o CPC 06.

B5.5.35 A entidade pode utilizar expedientes práticos ao mensurar perdas de crédito esperadas, se elas forem consistente com os princípios do item 5.5.17. Um exemplo de expediente prático é o cálculo das perdas de crédito esperadas sobre contas a receber de clientes, utilizando uma matriz de provisões. A entidade deve usar sua experiência de perda de crédito histórica (ajustada conforme apropriado de acordo com os itens B5.5.51 e B5.5.52) para contas a receber de clientes para estimar as perdas de crédito esperadas para 12 meses ou as perdas de crédito esperadas no ativo financeiro conforme pertinente. A matriz de provisões pode, por exemplo, especificar taxas de provisão fixas dependendo do número de dias que a conta a receber de cliente está vencida (por exemplo, 1% se não estiver vencida, 2% se estiver vencida há menos de 30 dias, 3% se estiver vencida há mais de 30 dias e menos de 90 dias, 20% se estiver vencida entre 90 e 180 dias, etc.). Dependendo da diversidade da carteira de clientes, a entidade deve utilizar agrupamentos apropriados se sua experiência de perda de crédito histórica indicar padrões de perda significativamente diferentes para diferentes segmentos de clientes. Exemplos de critérios que podem ser utilizados para agrupar ativos incluem região geográfica, tipo de produto, classificação do cliente, seguro de crédito comercial ou garantia e tipo de cliente (como, por exemplo, atacado ou varejo).

Definição de inadimplência

B5.5.36 O item 5.5.9 exige que, ao determinar se o risco de crédito em instrumento financeiro aumentou significativamente, a entidade deve considerar a alteração no risco de ocorrência de inadimplência desde o reconhecimento inicial.

B5.5.37 Ao definir inadimplência para as finalidades de determinar o risco de ocorrência de inadimplência, a entidade deve aplicar uma definição de inadimplência consistente com a definição utilizada para fins de gerenciamento de risco de crédito interno para o instrumento financeiro pertinente e deve considerar indicadores qualitativos (por exemplo, acordos financeiros), quando apropriado. Contudo, existe presunção refutável de que inadimplência não ocorre depois que o ativo financeiro esteja vencido há 90 dias, salvo se a entidade tiver informações razoáveis e sustentáveis para demonstrar que o critério de inadimplência para atraso superior é mais apropriado. A definição de inadimplência usada para essas finalidades deve ser aplicada consistentemente a todos os instrumentos financeiros, salvo se estiverem disponíveis informações que demonstrem que outra definição de inadimplência é mais adequada para instrumento financeiro específico.

Período ao longo do qual devem ser estimadas perdas de crédito esperadas

B5.5.38 De acordo com o item 5.5.19, o período máximo ao longo do qual as perdas de crédito esperadas devem ser mensuradas é o período contratual máximo ao longo do qual a entidade está exposta ao risco de crédito. Para compromissos de empréstimo e contratos de garantia financeira, esse é o período contratual máximo ao longo do qual a entidade tem obrigação contratual presente de conceder crédito.

B5.5.39 Entretanto, de acordo com o item 5.5.20, alguns instrumentos financeiros incluem, tanto empréstimo, quanto componente de compromisso não sacado, e a capacidade contratual da entidade de exigir restituição e cancelar o compromisso não sacado não limita a exposição da entidade a perdas de crédito para o período de notificação contratual. Por exemplo, linhas de crédito rotativas, tais como cartões de crédito e linhas de crédito para saque, podem ser contratualmente canceladas pelo credor com aviso de apenas um dia de antecedência. Contudo, na prática, os credores continuam a conceder crédito por período mais longo e podem somente cancelar a linha de crédito depois que o risco de crédito do mutuário aumentar, o que pode ocorrer muito tarde para evitar parte ou a totalidade das perdas de crédito esperadas. Esses instrumentos financeiros geralmente têm as seguintes características, como resultado da natureza do instrumento financeiro, a forma pela qual os instrumentos financeiros são gerenciados e a natureza das informações disponíveis sobre aumentos significativos no risco de crédito:

(a) os instrumentos financeiros não têm prazo fixo ou estrutura de amortização e geralmente têm o período de cancelamento contratual curto (por exemplo, um dia);

(b) a capacidade contratual de cancelar o contrato não é executada na gestão cotidiana normal do instrumento financeiro, e o contrato somente pode ser cancelado quando a entidade tomar conhecimento de aumento no risco de crédito ao nível da linha de crédito; e

(c) os instrumentos financeiros são administrados coletivamente.

B5.5.40 Ao determinar o período ao longo do qual se espera que a entidade esteja exposta a risco de crédito, mas durante o qual as perdas de crédito esperadas não seriam reduzidas pelas ações de gerenciamento de risco de crédito normais da entidade, a entidade deve considerar fatores como, por exemplo, informações históricas e experiência sobre:

(a) o período ao longo do qual a entidade esteve exposta a risco de crédito em instrumentos financeiros similares;

(b) o período de tempo para que ocorram inadimplências relacionadas em instrumentos financeiros similares, após aumento significativo no risco de crédito; e

(c) as ações de gerenciamento de risco de crédito que a entidade espera adotar, quando o risco de crédito no instrumento financeiro tiver aumentado, como, por exemplo, a redução ou exclusão de limites não sacados.

Resultado ponderado pela probabilidade

B5.5.41 A finalidade de estimar as perdas de crédito esperadas não é estimar o pior cenário, nem estimar o melhor cenário. Em vez disso, a estimativa de perdas de crédito esperadas deve sempre refletir a possibilidade de que ocorra a perda de crédito e a possibilidade de que não ocorra nenhuma perda de crédito, mesmo se o resultado mais provável for sem perda de crédito.

B5.5.42 O item 5.5.17 (a) exige que a estimativa de perdas de crédito esperadas reflita o valor ponderado pela probabilidade e imparcial, que seja determinado, ao avaliar o intervalo de resultados possíveis. Na prática, isso não precisa ser uma análise complexa. Em alguns casos, uma modelagem relativamente simples pode ser suficiente, sem a necessidade de grande número de simulações de cenários detalhadas. Por exemplo, a média das perdas de crédito de grande grupo de instrumentos financeiros com características de risco compartilhado pode ser uma estimativa razoável do valor ponderado pela probabilidade. Em outras situações, a identificação de cenários que especificam o valor e a época dos fluxos de caixa para resultados específicos e a probabilidade estimada desses resultados provavelmente devem ser necessárias. Nessas situações, as perdas de crédito esperadas devem refletir pelo menos dois resultados de acordo com o item 5.5.18.

B5.5.43 Para perdas de crédito esperadas, a entidade deve estimar o risco de ocorrência de inadimplência no instrumento financeiro durante sua vida esperada. As perdas de crédito esperadas para 12 meses são uma parcela das perdas de crédito esperadas e representam os déficits permanentes de caixa resultantes, se ocorrer a inadimplência nos 12 meses após a data do balanço (ou período mais curto se a vida esperada do instrumento financeiro for inferior a 12 meses), ponderadas pela probabilidade de ocorrência dessa inadimplência. Dessa forma, as perdas de crédito esperadas para 12 meses não são, nem as perdas de crédito esperadas em que a entidade deve incorrer sobre instrumentos financeiros que ela prevê que devem inadimplir nos próximos 12 meses, nem os déficits de caixa previstos ao longo dos próximos 12 meses.

Valor do dinheiro no tempo

B5.5.44 As perdas de crédito esperadas devem ser descontadas na data do balanço, não na data esperada de inadimplência ou em alguma outra data, usando-se a taxa de juros efetiva determinada no reconhecimento inicial ou uma aproximação dela. Se o instrumento financeiro tem taxa de juros variável, as perdas de crédito esperadas devem ser descontadas, utilizando-se a taxa de juros efetiva corrente, determinada de acordo com o item B5.4.5.

B5.5.45 Para ativos financeiros comprados ou concedidos com problemas de recuperação de crédito, as perdas de crédito esperadas devem ser descontadas, utilizando-se a taxa de juros efetiva ajustada ao crédito, determinada no reconhecimento inicial.

B5.5.46 As perdas de crédito esperadas sobre recebíveis de arrendamento devem ser descontadas, utilizando-se a mesma taxa de desconto utilizada na mensuração do recebível de arrendamento, de acordo com o CPC 06.

B5.5.47 As perdas de crédito esperadas sobre compromisso de empréstimo devem ser descontadas, utilizando-se a taxa de juros efetiva, ou uma aproximação dela, que deve ser aplicada ao reconhecer o ativo financeiro resultante do compromisso de empréstimo. Isso porque, para a finalidade de aplicar os requisitos de redução ao valor recuperável, o ativo financeiro reconhecido após o saque em compromisso de empréstimo deve ser tratado como continuação desse compromisso, e não como novo instrumento financeiro. As perdas de crédito esperadas no ativo financeiro devem ser, portanto, mensuradas, considerando-se o risco de crédito inicial do compromisso de empréstimo a partir da data em que a entidade tornar-se parte do compromisso irrevogável.

B5.5.48 As perdas de crédito esperadas em contratos de garantia financeira ou em compromissos de empréstimo, para os quais a taxa de juros efetiva não pode ser determinada, devem ser descontadas, aplicando-se a taxa de desconto que reflita a avaliação de mercado corrente do valor do dinheiro no tempo e os riscos específicos dos fluxos de caixa, mas somente se, e na medida em que, os riscos são levados em consideração ao ajustar a taxa de desconto, e não ao ajustar os déficits de caixa que estão sendo descontados.

Informações razoáveis e sustentáveis

B5.5.49 Para a finalidade deste pronunciamento, informações razoáveis e sustentáveis são aquelas que estão razoavelmente disponíveis na data do balanço, sem custo ou esforço excessivos, incluindo informações sobre eventos passados, condições atuais e previsões de condições econômicas futuras. Informações disponíveis para fins das demonstrações contábeis são consideradas como disponíveis sem custo ou esforço excessivos.

B5.5.50 A entidade não está obrigada a incorporar previsões de condições futuras ao longo de toda a vida esperada do instrumento financeiro. O grau de julgamento exigido para estimar as perdas de crédito esperadas depende da disponibilidade de informações detalhadas. Conforme aumentar o horizonte de previsão, a disponibilidade de informações detalhadas diminuirá, e o grau de julgamento exigido para estimar as perdas de crédito esperadas aumentará. A estimativa de perdas de crédito esperadas não exige estimativa detalhada para períodos distantes no futuro; para esses períodos, a entidade pode extrapolar as projeções das informações disponíveis e detalhadas.

B5.5.51 A entidade não precisa realizar pesquisa exaustiva de informações, mas deve considerartodas as informações razoáveis e sustentáveis que estiverem disponíveis, sem custo ou esforço excessivos e que são relevantes para a estimativa de perdas de crédito esperadas, incluindo o efeito de pagamento antecipado esperado. As informações utilizadas devem incluir fatores específicos para o mutuário, condições econômicas gerais e a avaliação, tanto da orientação atual, quanto futura, das condições na data do balanço. A entidade pode utilizar diversas fontes de dados, que podem ser tanto internas (específicas da entidade), quanto externas. Possíveis fontes de dados incluem experiência de perda de crédito histórica interna, classificações internas, experiência de perda de crédito de outras entidades e classificações externas, relatórios e estatísticas. Entidades, que não possuem ou que possuem insuficientes fontes de dados específicos da entidade, podem utilizar experiência de grupos equivalentes para o instrumento financeiro comparável (ou grupos de instrumentos financeiros).

B5.5.52 Informações históricas são um importante apoio ou base, a partir da qual devem ser mensuradas as perdas de crédito esperadas. Entretanto, a entidade deve ajustar dados históricos, como, por exemplo, experiência de perda de crédito, com base em dados observáveis atuais para refletir os efeitos das condições atuais e suas previsões de condições futuras, que não afetaram o período em que se baseiam os dados históricos, e para eliminar os efeitos das condições no período histórico, que não são relevantes para os fluxos de caixa contratuais futuros. Em alguns casos, as melhores informações razoáveis e sustentáveis podem ser as informações históricas não ajustadas, dependendo da natureza das informações históricas e de quando foram calculadas, em comparação com circunstâncias na data do balanço e as características do instrumento financeiro que está sendo considerado. As estimativas de alterações em perdas de crédito esperadas devem refletir e ser direcionadamente consistentes com as alterações nos respectivos dados observáveis, de período para período (tais como: alterações nas taxas de desemprego, preços de imóveis, preços de commodities, situação de pagamento ou outros fatores que são indicativos de perdas de crédito no instrumento financeiro ou no grupo de instrumentos financeiros e na magnitude dessas alterações). A entidade deve revisar regularmente a metodologia e as premissas usadas para estimar as perdas de crédito esperadas, para reduzir quaisquer diferenças entre as estimativas e a experiência de perda de crédito real.

B5.5.53 Ao utilizar a experiência de perda de crédito histórica na estimativa de perdas de crédito esperadas, é importante que as informações sobre as taxas de perda de crédito históricas sejam aplicadas a grupos que são definidos de forma consistente com os grupos para os quais as taxas de perda de crédito históricas foram observadas. Consequentemente, o método usado deve permitir que cada grupo de ativos financeiros seja associado a informações sobre a experiência de perda de crédito passada em grupo de ativos financeiros com características de risco similares e com dados observáveis pertinentes, que reflitam as condições atuais.

B5.5.54 As perdas de crédito esperadas devem refletir as expectativas de perdas de crédito próprias da entidade. Contudo, ao considerar todas as informações razoáveis e sustentáveis disponíveis, sem custo ou esforço excessivos, ao estimar as perdas de crédito esperadas, a entidade também deve considerar as informações de mercados observáveis sobre o risco de crédito do instrumento financeiro específico ou instrumentos financeiros similares.

Garantia

B5.5.55 Para as finalidades de mensurar as perdas de crédito esperadas, a estimativa de déficits de caixa esperados deve refletir os fluxos de caixa esperados da garantia e outras melhorias de crédito que são parte dos termos contratuais e não devem ser reconhecidas separadamente pela entidade. A estimativa de déficits de caixa esperados do instrumento financeiro com garantia deve refletir o valor e a época dos fluxos de caixa esperados da execução da garantia, menos os custos de obtenção e venda da garantia, independentemente de a execução ser provável (ou seja, a estimativa de fluxos de caixa esperados deve considerar a probabilidade da execução e os fluxos de caixa que resultariam disso). Consequentemente, quaisquer fluxos de caixa esperados da realização da garantia, após o vencimento contratual do contrato, devem ser incluídos nessa análise. Qualquer garantia obtida como resultado de execução não deve ser reconhecida como ativo separado do instrumento financeiro garantido, exceto se atender aos critérios de reconhecimento pertinentes para um ativo neste, ou em outros pronunciamentos.

Reclassificação de ativo financeiro (Seção 5.6)

B5.6.1 Se a entidade reclassificar ativos financeiros de acordo com o item 4.4.1, o item 5.6.1 exige que a reclassificação seja aplicada prospectivamente, a partir da data da reclassificação. Tanto a categoria de mensuração ao custo amortizado, quanto a categoria de mensuração ao valor justo por meio de outros resultados abrangentes, exigem que a taxa de juros efetiva seja determinada no reconhecimento inicial. Essas duas categorias de mensuração também exigem que os requisitos de redução ao valor recuperável sejam aplicados da mesma forma. Consequentemente, quando a entidade reclassificar o ativo financeiro entre a categoria de mensuração ao custo amortizado e a categoria de mensuração ao valor justo por meio de outros resultados abrangentes:

(a) o reconhecimento da receita de juros não deve mudar e, portanto, a entidade deve continuar a utilizar a mesma taxa de juros efetiva;

(b) a mensuração de perdas de crédito esperadas não deve mudar porque ambas as categorias de mensuração aplicam a mesma abordagem de redução ao valor recuperável. Contudo, se o ativo financeiro for reclassificado da categoria de mensuração ao valor justo por meio de outros resultados abrangentes para a categoria de mensuração ao custo amortizado, a provisão para perdas deve ser reconhecida como ajuste ao valor contábil bruto do ativo financeiro a partir da data da reclassificação.

Se o ativo financeiro for reclassificado da categoria de mensuração ao custo amortizado para a categoria de mensuração ao valor justo por meio de outros resultados abrangentes, a provisão para perdas deve ser desreconhecida (e, portanto, não deve ser mais reconhecida como ajuste ao valor contábil bruto), mas, por outro lado, deve ser reconhecida como valor acumulado de redução ao valor recuperável (de valor igual) em outros resultados abrangentes e deve ser divulgada a partir da data da reclassificação.

B5.6.2 Entretanto, a entidade não está obrigada a reconhecer separadamente receita de juros ou ganhos ou perdas na redução ao valor recuperável para ativo financeiro mensurado ao valor justo por meio do resultado. Consequentemente, quando a entidade reclassificar o ativo financeiro da categoria de mensuração ao valor justo por meio do resultado, a taxa de juros efetiva deve ser determinada com base no valor justo do ativo na data da reclassificação. Além disso, para as finalidades de aplicar a Seção 5.5 ao ativo financeiro a partir da data da reclassificação, esta deve ser tratada como a data de reconhecimento inicial.

Ganhos e perdas (Seção 5.7)

B5.7.1 O item 5.7.5 permite que a entidade efetue uma escolha irrevogável de apresentar, em outros resultados abrangentes, alterações no valor justo de investimento em instrumento patrimonial que não seja mantido para negociação. Essa escolha deve ser efetuada instrumento por instrumento (ou seja, ação por ação). Valores apresentados em outros resultados abrangentes não devem ser subsequentemente transferidos para o resultado. Contudo, a entidade pode transferir o ganho ou a perda acumulado(a) dentro do patrimônio líquido. Dividendos sobre esses investimentos devem ser reconhecidos no resultado, de acordo com o item 5.7.6, a menos que o dividendo claramente represente a recuperação de parte do custo do investimento.

B5.7.1A Salvo se o item 4.1.5 for aplicável, o item 4.1.2A exige que o ativo financeiro seja mensurado ao valor justo por meio de outros resultados abrangentes, se os termos contratuais do ativo financeiro resultarem em fluxos de caixa, que são exclusivamente pagamentos de principal e de juros sobre o valor do principal em aberto, e o ativo for mantido em modelo de negócios cujo objetivo é alcançado, tanto pelo recebimento de fluxos de caixa contratuais, quanto pela venda de ativos financeiros. Essa categoria de mensuração deve reconhecer informações no resultado, como se o ativo financeiro fosse mensurado ao custo amortizado, enquanto o ativo financeiro deve ser mensurado no balanço patrimonial ao valor justo. Ganhos ou perdas, exceto aqueles reconhecidos no resultado de acordo com os itens 5.7.10 e 5.7.11, devem ser reconhecidos em outros resultados abrangentes. Quando esses ativos financeiros forem desreconhecidos, ganhos ou perdas acumulados, anteriormente reconhecidos em outros resultados abrangentes, devem ser reclassificados para o resultado. Isso deve refletir o ganho ou a perda que teria sido reconhecida no resultado no desreconhecimento, se o ativo financeiro tivesse sido mensurado ao custo amortizado.

B5.7.2 A entidade deve aplicar o CPC 02 a ativos financeiros e passivos financeiros que sejam itens monetários, de acordo com o CPC 02, e denominados em moeda estrangeira. O CPC 02 exige que quaisquer ganhos e perdas de câmbio em ativos monetários e passivos monetários sejam reconhecidos no resultado. Uma exceção é o item monetário, que seja designado como instrumento de hedge no hedge de fluxo de caixa (ver item 6.5.11), no hedge de investimento líquido (ver item 6.5.13) ou no hedge de valor justo de instrumento patrimonial, para o qual a entidade escolheu apresentar alterações no valor justo em outros resultados abrangentes, de acordo com o item 5.7.5 (ver item 6.5.8).

B5.7.2A Para a finalidade de reconhecer ganhos e perdas de câmbio de acordo com o CPC 02, o ativo financeiro mensurado ao valor justo por meio de outros resultados abrangentes, de acordo com o item

4.1.2A, deve ser tratado como item monetário. Consequentemente, esse ativo financeiro deve ser tratado como ativo mensurado ao custo amortizado em moeda estrangeira. Diferenças de câmbio no custo amortizado devem ser reconhecidas no resultado e outras alterações no valor contábil devem ser reconhecidas de acordo com o item 5.7.10.

B5.7.3 O item 5.7.5 permite que a entidade efetue uma escolha irrevogável de apresentar, em outros resultados abrangentes, alterações subsequentes no valor justo de investimento específico em instrumento patrimonial. Esse investimento não constitui item monetário. Consequentemente, o ganho ou a perda apresentado em outros resultados abrangentes, de acordo com o item 5.7.5, inclui qualquer componente de câmbio relacionado.

B5.7.4 Se houver relação de proteção entre o ativo monetário não derivativo e o passivo monetário não derivativo, as alterações no componente de moeda estrangeira desses instrumentos financeiros devem ser apresentadas no resultado.

Passivo designado como ao valor justo por meio do resultado

B5.7.5 Quando a entidade designar o passivo financeiro como ao valor justo por meio do resultado, ela deve determinar se a apresentação dos efeitos das alterações no risco de crédito do passivo em outros resultados abrangentes cria ou aumenta o descasamento contábil no resultado. O descasamento contábil é criado ou aumentado se a apresentação dos efeitos das alterações no risco de crédito do passivo em outros resultados abrangentes resultasse em descasamento maior no resultado do que se esses valores fossem apresentados no resultado.

B5.7.6 Para determinar isso, a entidade deve avaliar se espera que os efeitos das alterações no risco de crédito do passivo sejam compensados no resultado pela alteração no valor justo de outro instrumento financeiro mensurado ao valor justo por meio do resultado. Essa expectativa deve ser baseada na relação econômica entre as características do passivo e as características do outro instrumento financeiro.

B5.7.7 Essa determinação deve ser efetuada no reconhecimento inicial e não deve ser reavaliada. Para fins práticos, a entidade não precisa celebrar transações com todos os ativos e passivos que dão origem ao descasamento contábil exatamente ao mesmo tempo. Um atraso razoável é permitido, desde que se espere que quaisquer transações restantes ocorram. A entidade deve aplicar de modo consistente sua metodologia para determinar se a apresentação dos efeitos das alterações no risco de crédito do passivo em outros resultados abrangentes cria ou aumenta o descasamento contábil no resultado. Entretanto, a entidade pode utilizar diferentes metodologias, quando existirem diferentes relações econômicas entre as características dos passivos designados como ao valor justo por meio do resultado e as características dos outros instrumentos financeiros. O CPC 40 requer que a entidade forneça divulgações qualitativas, nas notas explicativas às demonstrações contábeis, sobre sua metodologia para efetuar essa determinação.

B5.7.8 Se esse descasamento for criado ou aumentado, a entidade deve apresentar, no resultado, todas as alterações no valor justo (incluindo os efeitos das alterações no risco de crédito do passivo). Se esse descasamento não for criado ou aumentado, a entidade deve apresentar os efeitos das alterações no risco de crédito do passivo em outros resultados abrangentes.

B5.7.9 Valores apresentados em outros resultados abrangentes não devem ser subsequentemente transferidos para o resultado. Contudo, a entidade pode transferir o ganho (ou a perda) acumulado dentro do patrimônio líquido.

B5.7.10 O exemplo abaixo descreve a situação em que o descasamento contábil seria criado no resultado se os efeitos das alterações no risco de crédito do passivo fossem apresentados em outros resultados abrangentes. Um banco hipotecário concede empréstimos a clientes e financia esses empréstimos vendendo títulos de dívida, com características similares às dos empréstimos concedidos (por exemplo, valor em aberto, perfil de restituição, prazo e moeda), no mercado. Os termos contratuais do empréstimo permitem ao cliente da hipoteca pagar antecipadamente seu empréstimo (ou seja, satisfazer sua obrigação perante o banco), comprando o título de dívida correspondente ao valor justo no mercado e entregando esse título ao banco hipotecário. Como resultado desse direito contratual de pagamento antecipado, se a qualidade de crédito do título de dívida piorar (e, portanto, o valor justo do passivo do banco hipotecário diminuir), o valor justo do ativo do empréstimo do banco hipotecário também diminuirá. A alteração no valor justo do ativo reflete o direito contratual do cliente da hipoteca de pagar antecipadamente o empréstimo hipotecário, comprando título de dívida ao valor justo (que, nesse exemplo, diminuiu) e entregando o título ao banco hipotecário. Consequentemente, os efeitos das alterações no risco de crédito do passivo (título de dívida) devem ser compensados no resultado pela alteração correspondente no valor justo do ativo financeiro (empréstimo). Se os efeitos das alterações no risco de crédito do passivo forem apresentados em outros resultados abrangentes, haverá o descasamento contábil no resultado. Consequentemente, o banco hipotecário deve apresentar, no resultado, todas as alterações no valor justo do passivo (incluindo os efeitos de alterações no risco de crédito do passivo).

B5.7.11 No exemplo do item B5.7.10, existe um vínculo contratual entre os efeitos das alterações no risco de crédito do passivo e as alterações no valor justo do ativo financeiro (ou seja, como resultado do direito contratual do cliente da hipoteca de pagar antecipadamente o empréstimo, comprando título de dívida ao valor justo e entregando o título ao banco hipotecário). Entretanto, o descasamento contábil também pode ocorrer na ausência de vínculo contratual.

B5.7.12 Para as finalidades de aplicar os requisitos dos itens 5.7.7 e 5.7.8, o descasamento contábil não é causado exclusivamente pelo método de mensuração que a entidade utiliza para determinar os efeitos das alterações no risco de crédito do passivo. O descasamento contábil no resultado pode ocorrer somente se se espera que os efeitos das alterações no risco de crédito do passivo (conforme definido no CPC 40) sejam compensados por alterações no valor justo de outro instrumento financeiro.

O descasamento, que ocorre exclusivamente como resultado do método de mensuração (ou seja, porque a entidade não isola as alterações no risco de crédito do passivo de algumas outras alterações em seu valor justo), não afeta a determinação requerida pelos itens 5.7.7 e 5.7.8. Por exemplo, a entidade não pode isolar alterações no risco de crédito de passivo de alterações no risco de liquidez.

Se a entidade apresentar o efeito combinado de ambos os fatores em outros resultados abrangentes, o descasamento pode ocorrer porque alterações no risco de liquidez podem ser incluídas na mensuração ao valor justo dos ativos financeiros da entidade e toda a alteração no valor justo desses ativos deve ser apresentada no resultado. Contudo, esse descasamento é causado por imprecisão de mensuração, e, não, pela relação de compensação descrita no item B5.7.6 e, portanto, não afeta a determinação requerida pelos itens 5.7.7 e 5.7.8.

Significado de "risco de crédito" (itens 5.7.7 e 5.7.8)

B5.7.13 O CPC 40 define risco de crédito como "o risco de que uma das partes contratantes do instrumento financeiro cause perda financeira à outra parte pelo não cumprimento de obrigação". O requisito do item 5.7.7 (a) se refere ao risco de que a emitente deixará de cumprir essa obrigação específica. Ele não se refere necessariamente à capacidade de crédito da emitente. Por exemplo, se a entidade emitir um passivo garantido e um passivo não garantido que são idênticos em suas outras características, o risco de crédito desses dois passivos será diferente, ainda que sejam emitidos pela mesma entidade. O risco de crédito do passivo garantido será menor que o risco de crédito do passivo não garantido. O risco de crédito do passivo garantido pode ser próximo de zero.

B5.7.14 Para as finalidades de aplicar o requisito do item 5.7.7 (a), o risco de crédito é diferente do risco de desempenho de ativo específico. O risco de desempenho de ativo específico não está relacionado ao risco de que a entidade deixe de liquidar a obrigação, mas, sim, ao risco de que um único ativo ou grupo de ativos tenha um mau desempenho (ou absolutamente nenhum desempenho).

B5.7.15 Exemplos de risco de desempenho específico para o ativo:

(a) um passivo com característica de vinculação unitária (unit-linking), em que o valor devido aos investidores é determinado contratualmente com base no desempenho de ativos específicos. O efeito dessa característica de vinculação unitária (unit-linking) sobre o valor justo do passivo é o risco de desempenho específico para o ativo, e, não, o risco de crédito;

(b) um passivo emitido por entidade estruturada com as seguintes características. A entidade está legalmente isolada de modo que os ativos da entidade estão protegidos (ring-fenced), exclusivamente em benefício de seus investidores, mesmo em caso de falência. A entidade não celebra outras transações e os ativos da entidade não podem ser hipotecados. São devidos valores aos investidores da entidade somente se os ativos protegidos (ring-fenced) gerarem fluxos de caixa. Portanto, as alterações no valor justo do passivo refletem principalmente alterações no valor justo dos ativos. O efeito do desempenho dos ativos sobre o valor justo do passivo é o risco de desempenho específico para o ativo, e, não, o risco de crédito.

Determinação dos efeitos das alterações no risco de crédito B5.7.16 Com vistas a poder aplicar o requisito do item 5.7.7 (a), a entidade deve determinar o valor da alteração no valor justo do passivo financeiro, que é atribuível a alterações no risco de crédito desse passivo:

(a) como o valor da alteração em seu valor justo, que não seja atribuível a alterações das condições de mercado que originam risco de mercado (ver itens B5.7.17 e B5.7.18); ou

(b) utilizando método alternativo, que a entidade acredita representar de forma mais fiel o valor da alteração no valor justo do passivo, que seja atribuível às alterações em seu risco de crédito.

B5.7.17 As alterações, nas condições de mercado que originam risco de mercado, incluem alterações na taxa de juros de referência, no preço de instrumento financeiro de outra entidade, no preço de commodity, na taxa de câmbio ou em índice de preços ou taxas.

B5.7.18 Se as únicas alterações pertinentes significativas nas condições de mercado para o passivo forem alterações na taxa de juros observável (de referência), o valor descrito no item B5.7.16 (a) pode ser estimado da seguinte forma:

(a) primeiro, a entidade deve calcular a taxa de retorno interna do passivo no início do período,

utilizando o valor justo do passivo e os fluxos de caixa contratuais do passivo no início do período. Ela deve deduzir, dessa taxa de retorno, a taxa de juros observável (de referência) no início do período, para chegar ao componente específico do instrumento da taxa interna de retorno;

(b) a seguir, a entidade deve calcular o valor presente dos fluxos de caixa associados ao passivo, utilizando fluxos de caixa contratuais do passivo no final do período e a taxa de desconto equivalente à soma (i) da taxa de juros observável (de referência) no final do período e (ii) do componente específico do instrumento da taxa interna de retorno, conforme determinado na alínea (a);

(c) a diferença entre o valor justo do passivo no final do período e o valor determinado no item (b) será a alteração no valor justo que não é atribuível a alterações na taxa de juros observável (de referência). Esse é o valor a ser apresentado em outros resultados abrangentes, de acordo com o item 5.7.7 (a).

B5.7.19 O exemplo do item B5.7.18 presume que as alterações no valor justo decorrentes de fatores, que não sejam alterações no risco de crédito do instrumento, ou alterações nas taxas de juros observáveis (de referência), não são significativas. Esse método não será apropriado se as alterações no valor justo resultantes de outros fatores forem significativas. Nesses casos, a entidade deve utilizar método alternativo que mensure de forma mais fiel os efeitos das alterações no risco de crédito do passivo (ver item B5.7.16 (b)). Por exemplo, se o instrumento contiver derivativo embutido, a alteração no valor justo do derivativo embutido deve ser excluída na determinação do valor a ser apresentado em outros resultados abrangentes, de acordo com o item 5.7.7 (a).

B5.7.20 Assim como todas as mensurações ao valor justo, o método de mensuração da entidade para determinar a parte da alteração no valor justo do passivo, que é atribuível a alterações em seu risco de crédito, deve fazer o máximo uso de dados observáveis relevantes e o mínimo uso de dados não observáveis.

Contabilização de hedge (Capítulo 6)

Instrumento de hedge (Seção 6.2)

Instrumento que se qualifica

B6.2.1 Os derivativos, que estão embutidos em contratos híbridos, mas que não são contabilizados separadamente, não podem ser designados como instrumentos de hedge separados.

B6.2.2 Os instrumentos patrimoniais próprios da entidade não são ativos financeiros ou passivos financeiros da entidade e, portanto, não podem ser designados como instrumentos de hedge.

B6.2.3 Para hedges de risco de moeda estrangeira, o componente de risco de moeda estrangeira de instrumento financeiro não derivativo é determinado de acordo com o CPC 02.

Opção lançada

B6.2.4 Este pronunciamento não restringe as circunstâncias em que um derivativo que é mensurado ao valor justo por meio do resultado pode ser designado como instrumento de hedge, exceto para algumas opções lançadas. A opção lançada não se qualifica como instrumento de hedge, a menos que seja designada como compensação para opção comprada, incluindo aquela que estiver embutida em outro instrumento financeiro (por exemplo, opção de compra lançada usada para proteger passivo resgatável).

Designação de instrumento de hedge

B6.2.5 Para hedges que não sejam hedges de risco de moeda estrangeira, quando a entidade designar um ativo financeiro não derivativo ou um passivo financeiro não derivativo mensurado ao valor justo por meio do resultado como instrumento de hedge, ela somente pode designar o instrumento financeiro não derivativo em sua totalidade ou como uma proporção dele.

B6.2.6 Um único instrumento de hedge pode ser designado como instrumento de hedge de mais de um tipo de risco, desde que exista designação específica do instrumento de hedge e das diferentes posições de risco como itens protegidos. Esses itens protegidos podem estar em diferentes relações de proteção.

Item protegido (Seção 6.3)

Item que se qualifica

B6.3.1 Compromisso firme para adquirir um negócio em combinação de negócios não pode ser item protegido, com exceção de risco de moeda estrangeira, pois os outros riscos protegidos não podem ser especificamente identificados e mensurados. Esses outros riscos são riscos gerais de negócios.

B6.3.2 Investimento pelo método da equivalência patrimonial não pode ser item protegido em hedge de valor justo. Isso ocorre porque o método da equivalência patrimonial reconhece no resultado a participação do investidor no resultado da investida, em vez de alterações no valor justo do investimento. Por motivo similar, o investimento em controlada consolidada não pode ser item protegido em hedge de valor justo. Isso ocorre porque a consolidação reconhece no resultado o resultado da controlada, em vez de alterações no valor justo do investimento. O hedge de investimento líquido em operação no exterior é diferente, porque é o hedge da exposição em moeda estrangeira, e, não, o hedge de valor justo da alteração no valor do investimento.

B6.3.3 O item 6.3.4 permite que a entidade designe, como itens protegidos, exposições totais que são a combinação da exposição e do derivativo. Ao designar esse item protegido, a entidade deve avaliar se a exposição agregada combina a exposição com o derivativo de modo a criar uma diferente exposição agregada que é gerenciada como exposição para risco (ou riscos) específico. Nesse caso, a entidade pode designar o item protegido com base na exposição agregada. Por exemplo:

(a) a entidade pode proteger determinada quantidade de compras de café altamente prováveis no prazo de 15 meses contra risco de preço (baseado em dólares dos EUA), utilizando contrato futuro de 15 meses para café. As compras de café altamente prováveis e o contrato de futuros para café em combinação podem ser vistas como exposição ao risco em moeda estrangeira em dólares dos EUA com valor fixo de 15 meses, para fins de gerenciamento de risco (ou seja, qualquer saída de caixa em dólares dos EUA com valor fixo no prazo de 15 meses);

(b) a entidade pode proteger o risco de moeda estrangeira durante todo o prazo da dívida de taxa fixa de 10 anos denominada em moeda estrangeira. Entretanto, a entidade deve requerer uma exposição à taxa fixa em sua moeda funcional somente para prazo de curto a médio (digamos, dois anos) e exposição à taxa flutuante em sua moeda funcional pelo prazo remanescente até o vencimento. Ao final de cada um dos intervalos de dois anos (ou seja, na base de rolagem de dois anos), a entidade deve estabelecer a exposição à taxa de juros dos próximos dois anos (se o nível de juros for tal que a entidade deseja estabelecer taxas de juros). Nessa situação, a entidade pode celebrar um swap de taxa de juros entre moedas de fixa para flutuante de 10 anos, que troca a dívida em moeda estrangeira à taxa fixa para a exposição em moeda funcional à taxa variável. Isso é coberto por um swap de taxa de juros de dois anos que, com base na moeda funcional, troca dívida de taxa variável por dívida de taxa fixa. De fato, a dívida em moeda estrangeira à taxa fixa e o swap de taxa de juros entre moedas de fixa para flutuante de 10 anos, combinados, são vistos como exposição em moeda funcional de dívida de taxa variável de 10 anos, para fins de gerenciamento de risco.

B6.3.4 Ao designar o item protegido com base na exposição agregada, a entidade deve considerar o efeito combinado dos itens que constituem a exposição agregada para a finalidade de avaliar a efetividade de hedge e mensurar a inefetividade de hedge. Entretanto, os itens que constituem a exposição agregada devem permanecer contabilizados separadamente. Isso significa que, por exemplo:

(a) derivativos, que fazem parte de exposição agregada, devem ser reconhecidos como ativos ou passivos separados mensurados ao valor justo; e

(b) se a relação de proteção for designada entre os itens que constituem a exposição agregada, a forma como o derivativo é incluído como parte da exposição agregada deve ser consistente com a designação desse derivativo como instrumento de hedge ao nível da exposição agregada. Por exemplo, se a entidade excluir o elemento a termo do derivativo de sua designação como instrumento de hedge para a relação de proteção entre os itens que constituem a exposição agregada, ela também deve excluir o elemento a termo ao incluir esse derivativo como item protegido, integrante da exposição agregada. De outro modo, a exposição agregada deve incluir o derivativo, seja em sua totalidade ou uma proporção dele.

B6.3.5 O item 6.3.6 afirma que, nas demonstrações contábeis consolidadas, o risco de moeda estrangeira de transação intragrupo prevista, como altamente provável, pode se qualificar como item protegido em hedge de fluxo de caixa, desde que a transação seja denominada em moeda que não seja a moeda funcional da entidade que realiza essa transação e que o risco de moeda estrangeira pode afetar o resultado consolidado. Para essa finalidade, a entidade pode ser controladora, controlada, coligada, negócio em conjunto ou filial. Se o risco de moeda estrangeira de transação intragrupo prevista não afetar o resultado consolidado, a transação intragrupo não pode se qualificar como item protegido. Esse é normalmente o caso dos pagamentos de royalty, pagamentos de juros ou encargos de administração entre os membros do mesmo grupo, exceto se houver transação externa relacionada. Entretanto, quando o risco de moeda estrangeira de transação intragrupo prevista afetar o resultado consolidado, a transação intragrupo pode se qualificar como item protegido. Um exemplo são as vendas ou compras previstas de estoques entre os membros do mesmo grupo, se houver venda futura do estoque a uma parte externa ao grupo. De forma similar, a venda intragrupo prevista de instalações e equipamentos da entidade do grupo que os fabricou à entidade do grupo que usará as instalações e equipamentos em suas operações pode afetar o resultado consolidado. Isso ocorre, por exemplo, porque as instalações e os equipamentos são depreciados pela entidade compradora e o valor inicialmente reconhecido para as instalações e os equipamentos pode ser alterado, se a transação intragrupo prevista for denominada em moeda diferente da moeda funcional da entidade compradora.

B6.3.6 Se o hedge de transação intragrupo prevista qualificar-se para contabilização de hedge, qualquer ganho ou perda deve ser reconhecido em, e retirada de, outros resultados abrangentes, de acordo com o item 6.5.11. O período ou períodos correspondentes, durante os quais o risco de moeda estrangeira da transação protegida pode afetar o resultado, ocorre(m) quando afetar(e m) o resultado consolidado.

Designação de item protegido

B6.3.7 Componente é um item protegido, que é menor do que todo o item. Consequentemente, o componente reflete somente alguns dos riscos do item do qual faz parte ou reflete os riscos somente em alguma extensão (por exemplo, ao designar uma proporção do item).

Componente de risco

B6.3.8 Para ser elegível para designação como item protegido, o componente de risco deve ser um componente separadamente identificável do item financeiro ou não financeiro, e as alterações, nos fluxos de caixa ou no valor justo do item atribuível a alterações nesse componente de risco, devem ser mensuráveis de forma confiável.

B6.3.9 Ao identificar quais componentes de risco qualificam-se para designação como item protegido, a entidade deve avaliar os componentes de risco dentro do contexto da estrutura de mercado específica à qual o risco ou riscos se relaciona(m) e em qual atividade de hedge ocorre. Essa determinação requer a avaliação dos fatos e circunstâncias relevantes, que diferem por risco e mercado.

B6.3.10 Ao designar componentes de risco como itens protegidos, a entidade deve considerar se os componentes de risco estão explicitamente identificados em contrato (componentes de risco contratualmente especificados) ou se estão implícitos no valor justo ou fluxos de caixa de item do qual fazem parte (componentes de risco não especificados contratualmente). Componentes de risco não especificados contratualmente podem relacionar-se a itens, que não estão no contrato (por exemplo, transações previstas), ou em contratos que não especificam explicitamente o componente (por exemplo, compromisso firme que inclui somente um único preço em vez de fórmula de precificação que faz referência a diferentes itens subjacentes). Por exemplo:

(a) A entidade A tem um contrato de longo prazo de fornecimento de gás natural que é precificado, utilizando uma fórmula contratualmente especificada que faz referência a commodities e outros fatores (por exemplo, gasóleo, óleo combustível e outros componentes, tais como encargos de transporte). A entidade A protege o componente de gasóleo nesse contrato de fornecimento, utilizando um contrato a termo de gasóleo. Devido ao componente de gasóleo ser especificado pelos termos e condições do contrato de fornecimento, ele é um componente de risco contratualmente especificado. Portanto, devido à fórmula de precificação, a entidade A conclui que a exposição ao preço de gasóleo é separadamente identificável. Ao mesmo tempo, existe mercado para contratos a termo de gasóleo. Portanto, a entidade A conclui que a exposição ao preço de gasóleo é mensurável de forma confiável. Consequentemente, a exposição ao preço de gasóleo no contrato de fornecimento é um componente de risco elegível para designação como item protegido.

(b) A entidade B protege suas compras de café futuras com base em sua previsão de produção. O hedge inicia até 15 meses antes da entrega de parte do volume de compra previsto. A entidade B aumenta o volume protegido ao longo do tempo (conforme a data de entrega se aproxima). A entidade B utiliza dois tipos diferentes de contratos para gerenciar seu risco de preço de café:

(i) contratos futuros de café negociados em bolsa; e

(ii) contratos de fornecimento de café para café arábica da Colômbia entregue em local de fabricação específico. Esses contratos precificam uma tonelada de café com base no preço de contrato futuro de café negociado em bolsa mais diferencial de preço fixo mais taxa variável de serviços de logística, utilizando uma fórmula de precificação. O contrato de fornecimento de café é um contrato executório, de acordo com o qual a entidade B realiza a entrega real de café.

Para entregas que se relacionam à colheita atual, celebrar contratos de fornecimento de café permite à entidade B fixar o diferencial de preços entre a qualidade real de café comprado (café arábica da Colômbia) e a qualidade de referência que é o item subjacente do contrato futuro negociado em bolsa. Entretanto, para entregas que se relacionam à próxima colheita, os contratos de fornecimento de café ainda não estão disponíveis, de modo que o diferencial de preços não pode ser fixado. A entidade B deve utilizar contratos futuros de café negociados em bolsa para proteger o componente de qualidade de referência de seu risco de preço de café para entregas que se relacionam à colheita atual, bem como à próxima colheita. A entidade B determina que está exposta a três riscos diferentes: risco de preço de café que reflete a qualidade de referência, risco de preço de café que reflete a diferença (spread) entre o preço do café de qualidade de referência e o café arábica específico da Colômbia, que efetivamente recebe, e os custos variáveis de logística. Para entregas relacionadas à colheita atual, após a entidade B celebrar o contrato de fornecimento de café, o risco de preço de café que reflete a qualidade de referência é um componente de risco contratualmente especificado porque a fórmula de precificação inclui a indexação ao preço de contrato futuro de café negociado em bolsa. A entidade B conclui que esse componente de risco é separadamente identificável e mensurável de forma confiável. Para entregas relacionadas à próxima colheita, a entidade B ainda não celebrou quaisquer contratos de fornecimento de café (ou seja, essas entregas são transações previstas). Portanto, o risco de preço do café que reflete a qualidade de referência é um componente de risco não especificado contratualmente. A análise da estrutura de mercado pela entidade B deve levar em consideração como eventuais entregas do café específico, que ela recebe, estão precificadas. Portanto, com base nessa análise da estrutura de mercado, a entidade B conclui que as transações previstas também envolvem o risco de preço do café, que reflete a qualidade de referência como componente de risco, que é separadamente identificável e mensurável de forma confiável, mesmo que não esteja especificado contratualmente. Consequentemente, a entidade B pode designar relações de proteção na base de componentes de risco (para o risco de preço do café, que reflete a qualidade de referência) para contratos de fornecimento de café, bem como para transações previstas.

(c) A entidade C protege parte de suas compras futuras de combustível de avião, com base em sua previsão de consumo até 24 meses antes da entrega, e aumenta o volume que ela protege ao longo do tempo. A entidade C protege sua exposição, utilizando diferentes tipos de contratos, dependendo do horizonte de tempo do hedge, que afeta a liquidez de mercado dos derivativos. Para horizontes de tempo mais longos (12 a 24 meses), a entidade C utiliza contratos de petróleo bruto porque somente esses possuem liquidez de mercado suficiente. Para horizontes de tempo de 6 a 12 meses, a entidade C utiliza derivativos de gasóleo porque eles são suficientemente líquidos. Para horizontes de tempo de até seis meses, a entidade C utiliza contratos de combustível de avião. A análise da estrutura de mercado pela entidade C, para petróleo e seus produtos e sua avaliação sobre os fatos e as circunstâncias relevantes, é a seguinte:

(i) a entidade C opera em área geográfica, na qual o Brent é a referência de petróleo bruto. O petróleo bruto é referência de matéria-prima, que afeta o preço de diversos produtos de petróleo refinado, como seu insumo mais básico. O gasóleo é referência para produtos de petróleo refinado, que é utilizado como referência de precificação para destilados de petróleo de modo mais geral. Isso também é refletido nos tipos de instrumentos financeiros derivativos para os mercados de petróleo bruto e produtos de petróleo refinado do ambiente em que a entidade C opera, tais como:

- contrato futuro de petróleo bruto de referência, que é para petróleo bruto Brent;

- contrato futuro de gasóleo de referência, que é utilizado como referência de precificação para destilados, por exemplo, derivativos de spread de combustível de avião cobrem o diferencial de preços entre combustível de avião e esse gasóleo de referência; e

- derivativo de crack spread de gasóleo de referência (ou seja, o derivativo para o diferencial de preços entre petróleo bruto e gasóleo, margem de refino), que é indexado para petróleo bruto Brent;

(ii) a precificação de produtos de petróleo refinado não depende de qual petróleo bruto específico é processado por determinada refinaria porque esses produtos de petróleo refinado (tais como gasóleo ou combustível de avião) são produtos padronizados.

Portanto, a entidade C conclui que o risco de preço de suas compras de combustível de avião inclui componente de risco de preço de petróleo bruto baseado em petróleo bruto Brent e componente de risco de preço de gasóleo, ainda que o petróleo bruto e o gasóleo não estejam especificados em qualquer acordo contratual. A entidade C conclui que esses dois componentes de risco são separadamente identificáveis e mensuráveis de forma confiável, ainda que não estejam especificados em contrato. Consequentemente, a entidade C pode designar relações de proteção para compras de combustível de avião previstas com base em componentes de risco (para petróleo bruto e gasóleo). Essa análise também significa que se, por exemplo, a entidade C utilizar derivativos de petróleo bruto baseados em petróleo bruto do tipo West Texas Intermediate (WTI), as alterações no diferencial de preços entre petróleo bruto Brent e petróleo bruto WTI causariam inefetividade de hedge.

(d) A entidade D detém um instrumento de dívida com taxa fixa. Esse instrumento é emitido em ambiente com mercado, em que grande variedade de instrumentos de dívida similares são comparados por seus spreads à taxa de referência (por exemplo, Libor) e instrumentos com taxa variável nesse ambiente são normalmente indexados a essa taxa de referência. Swaps de taxa de juros frequentemente são utilizados para gerenciar risco de taxa de juros com base nessa taxa de referência, independentemente do spread de instrumentos de dívida a essa taxa de referência. O preço de instrumentos de dívida com taxa fixa varia diretamente em resposta a alterações na taxa de referência à medida que elas ocorrem. A entidade D conclui que a taxa de referência é um componente que pode ser separadamente identificado e mensurado de forma confiável. Consequentemente, a entidade D pode designar relações de proteção para o instrumento de dívida com taxa fixa, com base em componente de risco para o risco de taxa de juros de referência.

B6.3.11 Ao designar um componente de risco como item protegido, os requisitos de contabilização de hedge são aplicáveis a esse componente de risco, do mesmo modo com que são aplicáveis a outros itens protegidos, que não são componentes de risco. Por exemplo, os critérios de qualificação são aplicáveis, incluindo aquele em que a relação de proteção deve atender aos requisitos de efetividade de hedge, e qualquer inefetividade de hedge deve ser mensurada e reconhecida.

B6.3.12 Além disso, a entidade pode designar apenas alterações nos fluxos de caixa ou no valor justo de item protegido acima ou abaixo do preço determinado ou outra variável (risco unilateral). O valor intrínseco do instrumento de hedge de opção comprada (supondo-se que tenha os mesmos termos principais do risco designado), mas não o seu valor no tempo, reflete um risco unilateral em item protegido. Por exemplo, a entidade pode designar a variabilidade de resultados de fluxos de caixa futuros resultantes de aumento de preço de compra prevista de commodity. Nessa situação, a entidade designa apenas perdas de fluxo de caixa resultantes de aumento no preço acima do nível especificado. O risco protegido não inclui o valor da opção comprada no tempo, pois o valor no tempo não é componente da transação prevista que afeta o resultado.

B6.3.13 Existe presunção refutável de que, a menos que o risco de inflação seja especificado em contrato, ele não é separadamente identificável e mensurável de forma confiável e, portanto, não pode ser designado como componente de risco de instrumento financeiro. Entretanto, em casos limitados, é possível identificar componente de risco para o risco de inflação que seja separadamente identificável e mensurável de forma confiável, devido às circunstâncias específicas do ambiente de inflação e ao mercado de dívida pertinente.

B6.3.14 Por exemplo, a entidade emite dívida em ambiente, em que títulos de dívida indexados à inflação possuem estrutura de prazos e volume que resulta em mercado suficientemente líquido que permite construir estrutura de prazos de taxa de juros reais de cupom zero. Isso significa que, para a respectiva moeda, a inflação é um fator relevante, que é considerado separadamente pelos mercados de dívida. Nessas circunstâncias, o componente de risco de inflação deve ser determinado, descontando-se os fluxos de caixa do instrumento de dívida protegido, que utiliza a estrutura de prazos de taxa de juros reais de cupom zero (ou seja, de modo similar a como um componente de taxa de juros (nominais), livre de riscos, pode ser determinado). Por outro lado, em muitos casos, o componente de risco de inflação não é separadamente identificável e mensurável de forma confiável. Por exemplo, a entidade emite somente dívida de taxa de juros nominais em ambiente com mercado para títulos de dívida indexados à inflação, que não é suficientemente líquido para permitir que a estrutura de prazos de taxa de juros reais de cupom zero seja construída. Nesse caso, a análise da estrutura de mercado e dos fatos e circunstâncias não é aplicável à entidade, concluindo-se que a inflação é um fator relevante considerado separadamente pelos mercados de dívida. Portanto, a entidade não pode superar a presunção refutável de que o risco de inflação não especificado em contrato não é separadamente identificável e mensurável de forma confiável. Consequentemente, o componente de risco de inflação não é elegível para designação como item protegido. Isso é aplicável independentemente de qualquer instrumento de hedge de inflação que a entidade efetivamente tenha celebrado. Em particular, a entidade não pode simplesmente atribuir os termos e as condições do instrumento de hedge de inflação real, projetando seus termos e condições na dívida de taxa de juros nominais.

B6.3.15 O componente de risco de inflação, contratualmente especificado, dos fluxos de caixa de título de dívida reconhecido indexado à inflação (supondo-se que não haja a exigência de contabilização separada de derivativo embutido), é separadamente identificável e mensurável de forma confiável, desde que outros fluxos de caixa do instrumento não sejam afetados pelo componente de risco. Componente de valor nominal B6.3.16 Existem dois tipos de componentes de valores nominais que podem ser designados como item protegido em relação de proteção: componente que é uma proporção do item inteiro ou componente de camada (layer). O tipo de componente altera o resultado contábil. A entidade deve designar o componente para fins contábeis, consistentemente com seu objetivo de gerenciamento de risco.

B6.3.17 Um exemplo de componente é o que represente a proporção de 50% dos fluxos de caixa contratuais do empréstimo.

B6.3.18 Um componente de camada (layer) pode ser especificado de população definida, mas dinâmica, ou de valor nominal definido. Exemplos incluem:

(a) parte do volume de transação monetária, por exemplo, os próximos fluxos de caixa FC 10 de vendas denominadas em moeda estrangeira após os primeiros FC 20 em março de 201X;(3)

(b) parte do volume físico, por exemplo, a camada inferior, mensurando 5 milhões de metros cúbicos, do gás natural armazenado no local XYZ;

(c) parte do volume de transação física ou outro volume de transação, por exemplo, os primeiros 100 barris de petróleo comprados em junho de 201X ou os primeiros 100 MWh de venda de eletricidade em junho de 201X; ou

(d) camada proveniente do valor nominal do item protegido, por exemplo, os últimos $ 80 milhões de compromisso firme de $ 100 milhões, a camada inferior de $ 20 milhões de título com dívida de taxa fixa de $ 100 milhões ou a camada superior de $ 30 milhões do valor total de $ 100 milhões de dívida com taxa fixa, que pode ser paga antecipadamente ao valor justo (valor nominal definido é de $ 100 milhões).

B6.3.19 Se o componente de camada for designado como hedge de valor justo, a entidade deve especificar isso no valor nominal definido. Para cumprir os requisitos para qualificar-se para hedges do valor justo, a entidade deve recalcular o item protegido para alterações no valor justo (ou seja, deve remensurar o item para alterações no valor justo atribuíveis ao risco protegido). O ajuste de hedge de valor justo deve ser reconhecido no resultado, no máximo quando o item for desreconhecido. Consequentemente, é necessário rastrear o item ao qual se refere o ajuste de hedge de valor justo. Para o componente de camada no hedge do valor justo, isso requer que a entidade rastreie o valor nominal a partir do qual é definido. Por exemplo, no item B6.3.18 (d), o valor nominal definido total de $ 100 milhões deve ser rastreado a fim de acompanhar a camada inferior de $ 20 milhões ou a camada superior de $ 30 milhões.

B6.3.20 O componente de camada (layer), que inclui a opção de pagamento antecipado, não é elegível para ser designado como item protegido no hedge do valor justo se o valor justo da opção de pagamento antecipado for afetado por alterações no risco protegido, salvo se a camada designada incluir o efeito da respectiva opção de pagamento antecipado ao determinar a alteração no valor justo do item protegido.

Relação entre componentes e os fluxos de caixa totais de item

B6.3.21 Se o componente dos fluxos de caixa de item financeiro ou não financeiro for designado como item protegido, esse componente deve ser menor ou igual ao total de fluxos de caixa do item inteiro. Entretanto, todos os fluxos de caixa do item inteiro podem ser designados como item protegido e protegidos somente para risco específico (por exemplo, somente para as alterações que forem atribuíveis a alterações na Libor ou no preço de commodity de referência).

B6.3.22 Por exemplo, no caso de passivo financeiro cuja taxa de juros efetiva é inferior à Libor, a entidade não pode designar:

(a) componente do passivo igual aos juros da Libor (mais o valor do principal no caso de hedge do valor justo); e

(b) componente residual negativo.

B6.3.23 Contudo, no caso de passivo financeiro de taxa fixa, cuja taxa de juros efetiva é (por exemplo) 100 pontos-base abaixo da Libor, a entidade pode designar como item protegido a alteração no valor desse passivo inteiro (ou seja, principal mais juros pela Libor menos 100 pontos-base) que for atribuível a alterações na Libor. Se o instrumento financeiro de taxa fixa for protegido algum tempo após sua originação e as taxas de juros tiverem sido alteradas nesse meio tempo, a entidade pode designar componente de risco igual à taxa de referência que seja maior que a taxa contratual paga sobre o item. A entidade pode fazê-lo, desde que a taxa de referência seja menor que a taxa de juros efetiva calculada, presumindo-se que a entidade tenha comprado o instrumento no dia em que designou o item protegido pela primeira vez. Por exemplo, presuma que a entidade origine o ativo financeiro de taxa fixa de $ 100, que tenha taxa de juros efetiva de 6% e que a Libor seja de 4%. Ela começa a proteger esse ativo algum tempo depois, quando a Libor já aumentou para 8% e o valor justo do ativo caiu para $ 90. A entidade calcula que, se tivesse comprado o ativo na data em que designou, pela primeira vez, o correspondente risco de taxa de juros Libor como o item protegido, o rendimento efetivo do ativo, com base em seu valor justo na ocasião de $ 90, teria sido de 9,5%. Como a Libor é menor que o rendimento efetivo, a entidade pode designar o componente da Libor de 8%, que consiste parcialmente em fluxos de caixa de juros contratuais e parcialmente na diferença entre o valor justo corrente (ou seja, $ 90) e o valor restituível no vencimento (ou seja, $ 100).

B6.3.24 Se o passivo financeiro com taxa variável tem incidência de juros de (por exemplo) Libor de três meses menos 20 pontos-base (com piso em zero pontos-base), a entidade pode designar, como item protegido, a alteração nos fluxos de caixa do passivo inteiro (ou seja, Libor de três meses menos 20 pontos-base, incluindo o piso) que é atribuível a alterações na Libor. Portanto, enquanto a curva a termo Libor de três meses para a vida restante desse passivo não ficar abaixo de 20 pontos-base, o item protegido tem a mesma variabilidade de fluxo de caixa que o passivo com incidência de juros de Libor de três meses com spread zero ou positivo. Entretanto, se a curva a termo Libor de três meses para a vida restante desse passivo (ou parte dele) ficar abaixo de 20 pontosbase, o item protegido tem variabilidade de fluxo de caixa inferior ao passivo com incidência de juros de Libor de três meses com spread zero ou positivo.

B6.3.25 Um exemplo similar de item não financeiro é um tipo específico de petróleo bruto de determinado campo de petróleo, que é precificado fora do petróleo bruto de referência pertinente. Se a entidade vender esse petróleo bruto de acordo com contrato, usando a fórmula de precificação contratual que estabelece o preço por barril ao preço de petróleo bruto de referência menos $ 10 com o piso de $ 15, a entidade pode designar como item protegido toda a variabilidade do fluxo de caixa decorrente do contrato de vendas, que for atribuível à alteração do preço do petróleo bruto de referência. Contudo, a entidade não pode designar o componente que seja igual à alteração total no preço de petróleo bruto de referência. Portanto, enquanto o preço a termo (para cada entrega) não ficar abaixo de $ 25, o item protegido tem a mesma variabilidade de fluxo de caixa de venda de petróleo bruto ao preço de petróleo bruto de referência (ou com spread positivo). Porém, se o preço a termo para qualquer entrega ficar abaixo de $ 25, o item protegido tem a variabilidade de fluxo de caixa inferior à venda de petróleo bruto ao preço de petróleo bruto de referência (ou com spread positivo).

Critérios de qualificação para contabilização de hedge (Seção 6.4)

Efetividade de hedge

B6.4.1 Efetividade de hedge é na medida em que alterações no valor justo ou nos fluxos de caixa do instrumento de hedge compensam alterações no valor justo ou fluxos de caixa do item protegido (por exemplo, quando o item protegido é componente de risco, a alteração pertinente no valor justo ou fluxos de caixa de item é aquela atribuível ao risco protegido). Inefetividade de hedge é na medida em que as alterações no valor justo ou os fluxos de caixa do instrumento de hedge são maiores ou menores do que aquelas do item protegido.

B6.4.2 Ao designar uma relação de proteção e de forma contínua, a entidade deve analisar as fontes de inefetividade de hedge que se espera que afetem a relação de proteção durante o seu prazo. Essa análise (incluindo quaisquer atualizações, de acordo com o item B6.5.21, resultantes do reequilíbrio da relação de proteção) é a base para a avaliação de cumprimento dos requisitos de efetividade de hedge pela entidade.

B6.4.3 Para evitar dúvidas, os efeitos de substituir a contraparte original por contraparte de compensação e realizar as alterações associadas, conforme descrito no item 6.5.6, devem ser refletidos na mensuração do instrumento de hedge e, portanto, na avaliação de efetividade de hedge e na mensuração de efetividade de hedge.

Relação econômica entre o item protegido e o instrumento de hedge

B6.4.4 O requisito para que exista relação econômica significa que o instrumento de hedge e o item protegido possuem valores que geralmente movem-se em direções opostas devido ao mesmo risco, que é o risco protegido. Portanto, deve haver expectativa de que o valor do instrumento de hedge e o valor do item protegido mudem sistematicamente em resposta a movimentos em qualquer item ou itens subjacentes deles que estiverem economicamente relacionados de tal forma que respondem de modo similar ao risco que está sendo protegido (por exemplo, petróleo bruto do tipo Brent e WTI).

B6.4.5 Se os itens subjacentes não forem os mesmos, mas estiverem economicamente relacionados, pode haver situações em que os valores do instrumento de hedge e do item protegido movem-se no mesmo sentido, por exemplo, devido ao diferencial de preços entre as duas alterações subjacentes relacionadas, enquanto que os próprios itens subjacentes não se movem significativamente. Isso ainda é consistente com uma relação econômica entre o instrumento de hedge e o item protegido, se ainda for esperado que os valores do instrumento de hedge e o item protegido movam-se normalmente em sentidos opostos, quando os itens subjacentes se moverem.

B6.4.6 A avaliação, quanto a se existe relação econômica, inclui a análise do possível comportamento da relação de proteção durante seu prazo para determinar se pode se esperar que atenda ao objetivo de gerenciamento de risco. A mera existência de correlação estatística entre duas variáveis não apoia, por si só, uma conclusão válida de que existe relação econômica.

Efeito do risco de crédito

B6.4.7 Como o modelo de contabilização de hedge baseia-se na noção geral de compensação entre ganhos e perdas no instrumento de hedge e no item protegido, a efetividade de hedge é determinada não apenas pela relação econômica entre esses itens (ou seja, as alterações em seus itens subjacentes), mas também pelo efeito do risco de crédito no valor, tanto do instrumento de hedge, quanto do item protegido. O efeito do risco de crédito significa que, mesmo que exista relação econômica entre o instrumento de hedge e o item protegido, o nível de compensação pode tornar-se errático. Isso pode resultar da alteração no risco de crédito do instrumento de hedge ou do item protegido, que seja de tal magnitude que o risco de crédito domina as alterações de valor que resultam da relação econômica (ou seja, o efeito das alterações nos itens subjacentes). Um nível de magnitude que dá origem à posição dominante é aquele que resulta na perda (ou ganho) proveniente do risco de crédito, que frustra o efeito de alterações nos itens subjacentes no valor do instrumento de hedge ou do item protegido, mesmo se essas alterações forem significativas. Por outro lado, se durante um período específico existir pouca alteração nos itens subjacentes, deve atentar-se para o fato de que mesmo pequenas alterações, relacionadas a risco de crédito no valor do instrumento de hedge ou do item protegido, podem afetar o valor mais do que os itens subjacentes não criam posição dominante.

B6.4.8 Um exemplo de risco de crédito, que domina uma relação de proteção, ocorre quando a entidade protege-se da exposição a risco de preço de commodity, utilizando derivativo não garantido.

Se a contraparte desse derivativo sofrer deterioração grave em sua situação de crédito, o efeito das alterações na situação de crédito da contraparte pode superar o efeito de alterações no preço da commodity no valor justo do instrumento de hedge, enquanto que alterações no valor justo do item protegido dependem amplamente das alterações de preços das commodities.

Índice de hedge

B6.4.9 De acordo com os requisitos de efetividade de hedge, o índice de hedge da relação de proteção deve ser o mesmo que aquele resultante da quantidade do item protegido, que a entidade efetivamente protege, e a quantidade do instrumento de hedge, que a entidade efetivamente utiliza, para proteger essa quantidade de item protegido.

Portanto, se a entidade protege menos de 100% da exposição no item, como, por exemplo, 85%, ela deve designar a relação de proteção utilizando um índice de hedge que é o mesmo que aquele resultante de 85% da exposição e a quantidade do instrumento de hedge que a entidade efetivamente utiliza para proteger esses 85%. Similarmente, se, por exemplo, a entidade protege-se da exposição utilizando o valor nominal de 40 unidades do instrumento financeiro, ela deve designar a relação de proteção utilizando índice de hedge que é o mesmo que aquele resultante dessa quantidade de 40 unidades (ou seja, a entidade não deve utilizar índice de hedge baseando-se em quantidade maior de unidades que ela pode deter no total ou em quantidade inferior de unidades) e a quantidade do item protegido que ela efetivamente protege com essas 40 unidades.

B6.4.10 Entretanto, a designação da relação de proteção, que utiliza o mesmo índice de hedge que aquele resultante das quantidades do item protegido, e o instrumento de hedge que a entidade efetivamente utiliza não devem refletir desequilíbrio entre as ponderações do item protegido e o instrumento de hedge que criam, por sua vez, inefetividade de hedge (independentemente de ser reconhecida ou não), que resulta em resultado contábil inconsistente com a finalidade de contabilização de hedge. Portanto, para a finalidade de designar a relação de proteção, a entidade deve ajustar o índice de hedge que resultar das quantidades do item protegido e do instrumento de hedge, que a entidade efetivamente utiliza, se isso for necessário para evitar esse desequilíbrio.

B6.4.11 Exemplos de considerações relevantes ao avaliar se o resultado contábil é inconsistente com a finalidade de contabilização de hedge são os seguintes:

(a) se o índice de hedge pretendido for estabelecido para evitar o reconhecimento de inefetividade de hedge para hedges de fluxo de caixa, ou para atingir ajustes de hedge do valor justo para itens mais protegidos com o objetivo de aumentar o uso de contabilização ao valor justo, mas sem compensar alterações no valor justo do instrumento de hedge; e

(b) se existe razão comercial para as ponderações específicas do item protegido e do instrumento de hedge, mesmo se isso criar inefetividade de hedge. Por exemplo, a entidade considerar e designar a quantidade do instrumento de hedge, que não é a quantidade que ela determinou como o melhor hedge do item protegido, porque o volume normal dos instrumentos de hedge não permite que ela considere essa quantidade exata de instrumento de hedge ("questão de tamanho de lote"). Um exemplo é a entidade que protege 100 toneladas de compra de café com contrato futuro padrão de café que possuem tamanho de contrato de 37.500 libras. A entidade pode utilizar somente cinco ou seis contratos (equivalente a 85,0 e 102,1 toneladas respectivamente) para proteger o volume de compras de 100 toneladas. Nesse caso, a entidade deve designar a relação de proteção utilizando o índice de hedge que resultar do número de contratos futuros de café que ela efetivamente utiliza, porque a inefetividade de hedge, resultante do descasamento nas ponderações do item protegido e do instrumento de hedge, não resultará em resultado contábil inconsistente com a finalidade de contabilização de hedge.

Frequência de avaliação dos requisitos de efetividade de hedge

B6.4.12 A entidade deve avaliar no início da relação de proteção, de forma contínua, se a relação de proteção atende aos requisitos de efetividade de hedge. No mínimo, a entidade deve realizar a avaliação contínua em cada data do balanço ou por ocasião de alteração significativa nas circunstâncias que afetam os requisitos de efetividade de hedge, o que ocorrer primeiro. A avaliação refere-se a expectativas sobre efetividade de hedge e, portanto, será somente prospectiva.

Métodos de avaliação dos requisitos de efetividade de hedge

B6.4.13 Este pronunciamento não especifica um método para avaliar se a relação de proteção atende aos requisitos de efetividade de hedge. Contudo, a entidade deve utilizar o método que capture as características relevantes da relação de proteção, que inclui as fontes de inefetividade de hedge. Dependendo desses fatores, o método pode ser uma avaliação qualitativa ou quantitativa.

B6.4.14 Por exemplo, quando os termos críticos (tais como: valor nominal, vencimento e item subjacente) do instrumento de hedge e do item protegido correspondem ou estão estreitamente alinhados, pode ser possível para a entidade concluir, com base na avaliação qualitativa desses termos críticos, que o instrumento de hedge e o item protegido possuem valores que se movem de modo geral em sentidos opostos devido ao mesmo risco e, portanto, que existe relação econômica entre o item protegido e o instrumento de hedge (ver itens B6.4.4 a B6.4.6).

B6.4.15 O fato de que o derivativo está dentro ou fora do preço quando for designado como instrumento de hedge não significa por si só que a avaliação qualitativa é inadequada. Isso depende das circunstâncias de se a inefetividade de hedge decorrente desse fato teria magnitude, que a avaliação qualitativa não poderia captar adequadamente.

B6.4.16 Por outro lado, se os termos críticos do instrumento de hedge e do item protegido não estão estreitamente alinhados, existe maior nível de incerteza sobre a extensão da compensação.

Consequentemente, a efetividade do hedge durante a vigência da relação de proteção é mais difícil de prever. Nessa situação, pode somente ser possível para a entidade concluir, com base na avaliação quantitativa, que existe relação econômica entre o item protegido e o instrumento de hedge (ver itens

B6.4.4 a B6.4.6). Em algumas situações, a avaliação quantitativa também pode ser necessária para avaliar se o índice de hedge para designar a relação de proteção atende aos requisitos de efetividade de hedge (ver itens B6.4.9 a B6.4.11). A entidade pode utilizar os mesmos métodos ou métodos diferentes para essas duas finalidades diferentes.

B6.4.17 Se existem alterações nas circunstâncias que afetam a efetividade de hedge, a entidade pode ter que mudar o método para avaliar se a relação de proteção atende aos requisitos de efetividade de hedge para assegurar que as características relevantes da relação de proteção, incluindo as fontes da inefetividade de hedge, ainda são captadas.

B6.4.18 O gerenciamento de risco da entidade é a principal fonte de informações para realizar a avaliação se a relação de proteção atende aos requisitos de efetividade de hedge. Isso significa que as informações de gerenciamento (ou análise), utilizadas para fins de tomada de decisão, podem ser utilizadas como base para avaliar se a relação de proteção atende aos requisitos de efetividade de hedge.

B6.4.19 A documentação da entidade sobre a relação de proteção inclui como ela deve avaliar os requisitos de efetividade de hedge, incluindo o método ou métodos utilizados. A documentação da relação de proteção deve ser atualizada para quaisquer alterações nos métodos (ver item B6.4.17).

Contabilização de relação de proteção que se qualifica (Seção 6.5)

B6.5.1 Um exemplo de hedge do valor justo é o hedge de exposição a alterações no valor justo do instrumento de dívida de taxa fixa, resultante de alterações nas taxas de juros. Esse hedge pode ser celebrado pelo emitente ou pelo titular.

B6.5.2 A finalidade do hedge de fluxo de caixa é diferir o ganho ou a perda no instrumento de hedge para o período ou períodos em que os fluxos de caixa futuros esperados protegidos afetem o resultado. Um exemplo de hedge de fluxo de caixa é o uso de swap para alterar dívida de taxa flutuante (seja mensurada ao custo amortizado ou ao valor justo) para dívida de taxa fixa (ou seja, hedge de transação futura em que os fluxos de caixa futuros que estão sendo protegidos são os pagamentos de juros futuros). Por outro lado, a compra prevista de instrumento patrimonial que, uma vez adquirido, deve ser contabilizado ao valor justo por meio do resultado é um exemplo de item que não pode ser o item protegido no hedge de fluxo de caixa, porque qualquer ganho ou perda no instrumento de hedge que seria diferido não pode ser reclassificado adequadamente para o resultado durante o período em que obteria a compensação. Pelo mesmo motivo, a compra prevista de instrumento patrimonial que, uma vez adquirido, deve ser contabilizado ao valor justo, com alterações no valor justo apresentadas em outros resultados abrangentes, também não pode ser o item protegido no hedge de fluxo de caixa.

B6.5.3 Hedge de compromisso firme (por exemplo, hedge da alteração no preço de combustível relacionada ao compromisso contratual não reconhecido por concessionária de energia elétrica para comprar combustível a preço fixo) é uma cobertura de exposição à alteração no valor justo. Consequentemente, essa proteção é uma proteção de valor justo. Entretanto, de acordo com o item

6.5.4, o hedge de risco de moeda estrangeira de compromisso firme pode ser alternativamente contabilizado como hedge de fluxo de caixa.

Mensuração de inefetividade de hedge

B6.5.4 Ao mensurar inefetividade de hedge, a entidade deve considerar o valor do dinheiro no tempo. Consequentemente, a entidade deve determinar o valor do item protegido na base do valor presente e, portanto, a alteração no valor do item protegido também deve incluir o efeito do valor do dinheiro no tempo.

B6.5.5 Para calcular a alteração no valor do item protegido para a finalidade de mensurar a inefetividade de hedge, a entidade pode utilizar o derivativo, que tem termos que correspondem aos termos críticos do item protegido (isso normalmente é referido como "derivativo hipotético"), e, por exemplo, para hedge de transação prevista, seria calibrada usando o nível (ou taxa) de preço protegido. Por exemplo, se o hedge era para risco bilateral no nível de mercado corrente, o derivativo hipotético representaria contrato a termo hipotético que é calibrado para valor zero no momento da designação da relação de proteção. Se a proteção era, por exemplo, para risco unilateral, o derivativo hipotético representaria o valor intrínseco da opção hipotética que, na ocasião da designação da relação de proteção, estaria no preço se o nível de preço protegido estivesse no nível de mercado corrente, ou fora do preço se o nível de preço protegido estivesse acima (ou, para hedge de posição comprada, abaixo) do nível de mercado corrente. Utilizar derivativo hipotético é uma forma possível de calcular a alteração no valor do item protegido. O derivativo hipotético reproduz o item protegido e, portanto, resulta no mesmo resultado como se essa alteração no valor fosse determinada por abordagem diferente. Dessa forma, utilizar derivativo hipotético não é um método por si só, mas expediente matemático que somente pode ser utilizado para calcular o valor do item protegido. Consequentemente, o derivativo hipotético não pode ser utilizado para incluir características no valor do item protegido, as quais somente existem no instrumento de hedge (mas não no item protegido). Um exemplo é uma dívida denominada em moeda estrangeira (independentemente se é dívida de taxa fixa ou de taxa variável). Ao utilizar derivativo hipotético para calcular a alteração no valor dessa dívida ou no valor presente da alteração acumulada em seus fluxos de caixa, o derivativo hipotético não pode simplesmente imputar encargo por trocar diferentes moedas, ainda que os derivativos reais, sob os quais são trocadas diferentes moedas, possam incluir tal encargo (por exemplo, swaps de taxa de juros entre moedas).

B6.5.6 A alteração no valor do item protegido, determinada mediante utilização de derivativo hipotético, também pode ser utilizada para a finalidade de avaliar se a relação de proteção atende aos requisitos de efetividade de hedge.

Reequilíbrio da relação de proteção e alterações no índice de hedge

B6.5.7 Reequilibrar refere-se aos ajustes feitos às quantidades designadas do item protegido ou do instrumento de hedge da relação de proteção já existente para a finalidade de manter índice de hedge, que cumpre os requisitos de efetividade de hedge. As alterações nas quantidades designadas do item protegido ou do instrumento de hedge para finalidade diferente não constituem reequilíbrio para a finalidade deste pronunciamento.

B6.5.8 O reequilíbrio deve ser contabilizado como continuação da relação de proteção, de acordo com os itens B6.5.9 a B6.5.21. No reequilíbrio, a inefetividade de hedge da relação de proteção deve ser determinada e reconhecida imediatamente antes de ajustar a relação de proteção.

B6.5.9 Ajustar o índice de hedge permite à entidade responder a alterações na relação entre o instrumento de hedge e o item protegido, que resultam de seus itens subjacentes ou variáveis de risco, por exemplo, a relação de proteção em que o instrumento de hedge e o item protegido têm alterações de itens subjacentes diferentes, mas relacionados, em resposta à alteração na relação entre esses dois itens subjacentes (por exemplo, preços, tarifas ou índices de referência diferentes, mas relacionados). Portanto, o reequilíbrio permite a continuidade da relação de proteção em situações, em que a relação entre o instrumento de hedge e o item protegido é alterada de forma que possa ser compensada, ajustando-se o índice de hedge.

B6.5.10 Por exemplo, a entidade protege-se da exposição à moeda estrangeira A, utilizando-se de derivativo em moeda que faz referência à moeda estrangeira B e as moedas estrangeiras A e B são fixadas (ou seja, suas taxas de câmbio são mantidas dentro da banda ou à taxa de câmbio estabelecida por banco central ou outra autoridade). Se a taxa de câmbio entre a moeda estrangeira A e a moeda estrangeira B for alterada (ou seja, nova banda ou taxa for estabelecida), o reequilíbrio da relação de proteção para refletir a nova taxa de câmbio deve assegurar que a relação de proteção deve continuar a atender ao requisito de efetividade de hedge para o índice de hedge nas novas circunstâncias. Por outro lado, se houver inadimplência no derivativo de moeda, mudar o índice de hedge não garante que a relação de proteção deve continuar a atender ao requisito de efetividade de hedge. Portanto, o reequilíbrio não facilita a continuidade da relação de proteção, em situações em que a relação entre o instrumento de hedge e o item protegido muda de forma que não possa ser compensada, ajustando-se o índice de hedge.

B6.5.11 Nem toda alteração, na extensão da compensação entre as alterações no valor justo do instrumento de hedge e o valor justo do item protegido ou fluxos de caixa, constitui alteração na relação entre o instrumento de hedge e o item protegido. A entidade deve analisar as fontes de inefetividade de hedge que ela espera que afetem a relação de proteção durante sua vigência e avaliar se alterações na extensão da compensação são:

(a) flutuações em torno do índice de hedge, que permanece válido (ou seja, continua a refletir adequadamente a relação entre o instrumento de hedge e o item protegido); ou

(b) indicação de que o índice de hedge não reflete mais adequadamente a relação entre o instrumento de hedge e o item protegido.

A entidade deve realizar essa avaliação em relação ao requisito de efetividade de hedge para o índice de hedge, ou seja, para assegurar que a relação de proteção não reflete desequilíbrio entre as ponderações do item protegido e o instrumento de hedge, que criam inefetividade de hedge (independentemente de ser reconhecida ou não), que pode resultar em resultado contábil inconsistente com a finalidade de contabilização de hedge. Portanto, essa avaliação requer julgamento.

B6.5.12 As flutuações em torno de índice de hedge constante (e, portanto, a inefetividade de hedge relacionada) não podem ser reduzidas, ajustando-se o índice de hedge em resposta a cada resultado específico. Portanto, nessas circunstâncias, a alteração na extensão da compensação é uma questão de mensurar e reconhecer a inefetividade de hedge, mas não requer reequilíbrio.

B6.5.13 Por outro lado, se alterações na extensão da compensação indicam que a flutuação está em torno de índice de hedge diferente do índice de hedge atualmente utilizado para essa relação de proteção, ou que existe uma tendência que se afasta desse índice de hedge, a inefetividade de hedge pode ser reduzida, ajustando-se o índice de hedge, visto que manter o índice de hedge produziria cada vez mais a inefetividade de hedge. Contudo, nessas circunstâncias, a entidade deve avaliar se a relação de proteção reflete desequilíbrio entre as ponderações do item protegido e o instrumento de hedge que criam inefetividade de hedge (independentemente de ser reconhecida ou não), que resulta em resultado contábil inconsistente com a finalidade de contabilização de hedge. Se o índice de hedge for ajustado, isso também afeta a mensuração e o reconhecimento da inefetividade de hedge porque, no reequilíbrio, a inefetividade de hedge da relação de proteção deve ser determinada e reconhecida imediatamente antes de ajustar a relação de proteção, de acordo com o item B6.5.8.

B6.5.14 Reequilibrar significa que, para fins de contabilização de hedge, após o início da relação de proteção, a entidade deve ajustar as quantidades do instrumento de hedge ou do item protegido em resposta a alterações nas circunstâncias que afetam o índice de hedge dessa relação de proteção. Normalmente, o ajuste deve refletir os ajustes nas quantidades do instrumento de hedge e do item protegido que efetivamente utiliza. Entretanto, a entidade deve ajustar o índice de hedge que resultar das quantidades do item protegido ou do instrumento de hedge que ela efetivamente utiliza se:

(a) o índice de hedge que resultar de alterações nas quantidades do instrumento de hedge ou do item protegido, que a entidade efetivamente utiliza, refletir um desequilíbrio que crie inefetividade de hedge, que resulta em resultado contábil inconsistente com a finalidade de contabilização de hedge; ou

(b) a entidade mantiver as quantidades do instrumento de hedge e do item protegido que efetivamente utiliza, resultando em índice de hedge que, em novas circunstâncias, refletiria desequilíbrio que criaria inefetividade de hedge, podendo resultar em resultado contábil inconsistente com a finalidade de contabilização de hedge (ou seja, a entidade não deve criar desequilíbrio, omitindo-se de ajustar o índice de hedge).

B6.5.15 O reequilíbrio não deve ser aplicado se o objetivo do gerenciamento de risco para relação de proteção tiver sido alterado. Em vez disso, a contabilização de hedge para essa relação de proteção deve ser descontinuada (apesar de que a entidade pode designar nova relação de proteção que envolva o instrumento de hedge ou o item protegido da relação de proteção anterior, conforme descrito no item B6.5.28).

B6.5.16 Se a relação de proteção for reequilibrada, o ajuste ao índice de hedge pode ser efetuado de diferentes formas:

(a) a ponderação do item protegido pode ser aumentada (o que, ao mesmo tempo, reduzirá a ponderação do instrumento de hedge):

(i) aumentando-se o volume do item protegido; ou

(ii) reduzindo-se o volume do instrumento de hedge;

(b) a ponderação do instrumento de hedge pode ser aumentada (o que, ao mesmo tempo, reduzirá a ponderação do item protegido):

(i) aumentando-se o volume do instrumento de hedge; ou

(ii) reduzindo-se o volume do item protegido.

As alterações no volume referem-se às quantidades que fazem parte da relação de proteção. Portanto, reduções nos volumes não significam necessariamente que os itens ou transações não existem mais, ou que não se espera que ocorram mais, e, sim, que não fazem parte da relação de proteção. Por exemplo, reduzir o volume do instrumento de hedge pode resultar em que a entidade retenha o derivativo, mas somente parte dele pode continuar a ser instrumento de hedge da relação de proteção. Isso pode ocorrer se o reequilíbrio puder ser efetuado somente reduzindo-se o volume do instrumento de hedge na relação de proteção, mas com a entidade mantendo o volume que não é mais necessário. Nesse caso, a parte não designada do derivativo deve ser contabilizada ao valor justo por meio do resultado (salvo se foi designada como instrumento de hedge em relação de proteção diferente).

B6.5.17 Ajustar o índice de hedge, aumentando-se o volume do item protegido, não afeta o modo como as alterações no valor justo do instrumento de hedge devem ser mensuradas. A mensuração das alterações no valor do item protegido, relacionado ao volume anteriormente designado, também permanece sem ser afetada. Contudo, a partir da data de reequilíbrio, as alterações no valor do item protegido também incluem a alteração no valor do volume adicional do item protegido. Essas alterações devem ser mensuradas a partir da data de reequilíbrio e mediante referência a essa data, em vez da data em que a relação de proteção foi designada. Por exemplo, se a entidade originalmente protegeu o volume de 100 toneladas da commodity ao preço a termo de $ 80 (o preço a termo no início da relação de proteção) e acrescentou o volume de 10 toneladas no reequilíbrio, quando o preço a termo era de $ 90, o item protegido após reequilíbrio compreende duas camadas (layers): 100 toneladas protegidas a $ 80 e 10 toneladas protegidas a $ 90.

B6.5.18 Ajustar o índice de hedge, reduzindo-se o volume do instrumento de hedge, não afeta o modo como as alterações no valor justo do item protegido são mensuradas. A mensuração das alterações no valor justo do instrumento de hedge, relacionado ao volume que continua a ser designado, também permanece sem ser afetada.

Entretanto, a partir da data de reequilíbrio, o volume pelo qual o instrumento de hedge foi reduzido não faz mais parte da relação de proteção. Por exemplo, se a entidade originalmente protegeu o risco de preço da commodity, utilizando o volume de derivativo de 100 toneladas como instrumento de hedge, e reduz esse volume em 10 toneladas no reequilíbrio, resta o valor nominal de 90 toneladas do volume do instrumento de hedge (ver item B6.5.16 para as consequências para o volume de derivativo (ou seja, as 10 toneladas), que não faz mais parte da relação de proteção).

B6.5.19 Ajustar o índice de hedge, aumentando-se o volume do instrumento de hedge, não afeta o modo como as alterações no valor do item protegido devem ser mensuradas. A mensuração das alterações no valor justo do instrumento de hedge, relacionado ao volume anteriormente designado, também permanece sem ser afetada. Contudo, a partir da data de reequilíbrio, as alterações no valor justo do instrumento de hedge também incluem as alterações no valor do volume adicional do instrumento de hedge. Essas alterações devem ser mensuradas a partir da data de reequilíbrio, e mediante referência a essa data, em vez da data em que a relação de proteção foi designada. Por exemplo, se a entidade originalmente protegeu o risco de preço da commodity, utilizando o volume de derivativo de 100 toneladas como instrumento de hedge e acrescentou o volume de 10 toneladas no reequilíbrio, o instrumento de hedge após o reequilíbrio compreende o volume de derivativo total de 110 toneladas. A alteração no valor justo do instrumento de hedge é a alteração total no valor justo dos derivativos que constituem o volume total de 110 toneladas. Esses derivativos podem ter (e provavelmente têm) diferentes termos críticos, tais como suas taxas futuras, porque foram celebrados em diferentes momentos no tempo (incluindo a possibilidade de designar derivativos a relações de proteção, após seu reconhecimento inicial).

B6.5.20 Ajustar o índice de hedge, reduzindo-se o volume do item protegido, não afeta o modo como as alterações no valor justo do instrumento de hedge devem ser mensuradas. A mensuração das alterações no valor do item protegido, relacionado ao volume que continua a ser designado, também permanece sem ser afetada. Entretanto, a partir da data de reequilíbrio, o volume pelo qual o item protegido foi reduzido não faz mais parte da relação de proteção. Por exemplo, se a entidade originalmente protegeu o volume de 100 toneladas da commodity ao preço a termo de $ 80 e reduz esse volume em 10 toneladas no reequilíbrio, o item protegido após reequilíbrio são 90 toneladas protegidas a $ 80. As 10 toneladas do item protegido, que não fazem mais parte da relação de proteção, devem ser contabilizadas de acordo com os requisitos para a descontinuação da contabilização de hedge (ver itens 6.5.6 e 6.5.7 e B6.5.22 a B6.5.28).

B6.5.21 Ao reequilibrar a relação de proteção, a entidade deve atualizar sua análise das fontes de inefetividade de hedge, que se espera que afetem a relação de proteção durante sua vigência (restante) (ver item B6.4.2). Consequentemente, a documentação da relação de proteção deve ser atualizada.

Descontinuação da contabilização de hedge

B6.5.22 A descontinuação da contabilização de hedge deve ser aplicada prospectivamente, a partir da data em que os critérios de qualificação não são mais atendidos.

B6.5.23 A entidade não deve excluir a designação e, portanto, não deve descontinuar a relação de proteção que:

(a) ainda atender ao objetivo de gerenciamento de risco, com base no qual se qualificava para contabilização de hedge (ou seja, a entidade ainda busca esse objetivo de gerenciamento de risco); e

(b) continuar a atender a todos os outros critérios de qualificação (após levar em consideração qualquer reequilíbrio da relação de proteção, se aplicável).

B6.5.24 Para as finalidades deste pronunciamento, a estratégia de gerenciamento de risco da entidade distingue-se de seus objetivos de gerenciamento de risco. A estratégia de gerenciamento de risco deve ser estabelecida ao nível mais elevado em que a entidade determinar a forma como ela gerencia seu risco. Estratégias de gerenciamento de risco normalmente identificam os riscos aos quais a entidade está exposta e estabelecem como a entidade deve responder a esses riscos. A estratégia de gerenciamento de risco normalmente existe para um período mais longo e pode incluir alguma flexibilidade para reagir a alterações em circunstâncias que ocorrem, enquanto existir essa estratégia (por exemplo, diferentes taxas de juros ou níveis de preços de commodities que resultam na extensão diferente de hedge). Isso normalmente deve ser estabelecido em documento geral, que deve ser encaminhado de cima para baixo na entidade por meio de políticas contendo diretrizes mais específicas. Por outro lado, o objetivo de gerenciamento de risco para relação de proteção deve ser aplicado ao nível de relação de proteção específica. Isso diz respeito ao modo como instrumento de hedge específico que foi designado deve ser utilizado para proteger a exposição específica, que foi designada como item protegido. Portanto, a estratégia de gerenciamento de risco pode envolver muitas relações de proteção diferentes, cujos objetivos de gerenciamento de risco referem-se à execução dessa estratégia de gerenciamento de risco. Por exemplo:

(a) a entidade tem a estratégia de gerenciar sua exposição à taxa de juros sobre custeio de dívidas, que estabelece faixas para a entidade como um todo para a combinação entre custeio de taxa fixa e de taxa variável. A estratégia é manter entre 20% e 40% da dívida com taxas fixas. A entidade decide de tempos em tempos como executar essa estratégia (ou seja, onde posicionar-se dentro da faixa de 20% a 40% para exposição a juros de taxa fixa), dependendo do nível de taxas de juros. Se as taxas de juros estão baixas, a entidade determina os juros para mais dívida do que quando as taxas de juros estão elevadas. A dívida da entidade é de $ 100 de dívida com taxa variável, da qual $ 30 é trocada por exposição de taxa fixa. A entidade aproveita taxas de juros baixas para emitir $ 50 de dívida adicionais para financiar importante investimento, que a entidade faz ao emitir título de dívida com taxa fixa. Em vista das baixas taxas de juros, a entidade decide estabelecer sua exposição de taxa de juros fixa em 40% da dívida total ao reduzir, em $ 20, a extensão a que ela protegeu anteriormente sua exposição de taxa variável, resultando em $ 60 de exposição de taxa fixa. Nessa situação, a própria estratégia de gerenciamento de risco permanece inalterada. Entretanto, por outro lado, a execução dessa estratégia pela entidade mudou e isso significa que, para $ 20 de exposição de taxa variável que foi anteriormente protegida, o objetivo de gerenciamento de risco mudou (ou seja, ao nível de relação de proteção). Consequentemente, nessa situação, a contabilização de hedge deve ser descontinuada para $ 20 da exposição de taxa variável anteriormente protegida. Isso pode envolver a redução da posição de swap por valor nominal de $ 20, mas, dependendo das circunstâncias, a entidade pode manter esse volume de swap e, por exemplo, utilizálo para se proteger de exposição diferente ou pode fazer parte de divisão de negociação. Por outro lado, se a entidade, em vez disso, trocou parte de sua nova dívida de taxa fixa por exposição à taxa variável, a contabilização de hedge tem que continuar para sua exposição à taxa variável anteriormente protegida;

(b) algumas exposições resultam de posições que frequentemente mudam, por exemplo, o risco de taxa de juros de carteira aberta de instrumentos de dívida. A inclusão de novos instrumentos de dívida e o desreconhecimento de instrumento de dívida alteram continuamente essa exposição (ou seja, é diferente de simplesmente fugir de posição que vence). Esse é um processo dinâmico em que, tanto a exposição, quanto os instrumentos de hedge utilizados para gerenciá-la não permanecem os mesmos por muito tempo. Consequentemente, a entidade com tal exposição frequentemente deve ajustar os instrumento de hedge utilizados para gerenciar o risco de taxa de juros, conforme a exposição é alterada. Por exemplo, instrumentos de dívida com vencimento restante de 24 meses são designados como item protegido para risco de taxa de juros para 24 meses. O mesmo procedimento deve ser aplicado a outros intervalos de tempo ou períodos de vencimento. Após um curto período de tempo, a entidade descontinua a totalidade, algumas ou parte das relações de proteção anteriormente designadas para períodos de vencimento e designa novas relações de proteção para períodos de vencimento com base em seu tamanho e nos instrumentos de hedge que existem nessa ocasião. A descontinuação da contabilização de hedge nessa situação reflete que aquelas relações de proteção são estabelecidas de tal modo que a entidade analisa novo instrumento de hedge e novo item protegido, em vez do instrumento de hedge e do item protegido que foram designados anteriormente. A estratégia de gerenciamento de risco permanece a mesma, mas não existe objetivo de gerenciamento de risco que continue para aquelas relações de proteção anteriormente designadas, que não existem mais. Em tal situação, a descontinuação de contabilização de hedge deve ser aplicada na medida em que o objetivo do gerenciamento de risco for alterado. Isso depende da situação da entidade e pode, por exemplo, afetar a totalidade ou somente algumas relações de proteção do período de vencimento, ou somente parte da relação de proteção;

(c) a entidade tem a estratégia de gerenciamento de risco em que ela gerencia o risco de moeda estrangeira de vendas previstas e os recebíveis resultantes. Dentro dessa estratégia, a entidade gerencia o risco de moeda estrangeira como relação de proteção específica somente até o momento do reconhecimento do recebível. Posteriormente, a entidade não gerencia mais o risco de moeda estrangeira com base nessa relação de proteção específica. Em vez disso, ela gerencia juntamente o risco de moeda estrangeira dos recebíveis, das contas a pagar e dos derivativos (que não se relacionam às transações previstas que ainda estão pendentes), denominados na mesma moeda estrangeira. Para fins contábeis, isso funciona como proteção "natural" porque os ganhos e as perdas provenientes do risco de moeda estrangeira em todos esses itens devem ser imediatamente reconhecidos no resultado. Consequentemente, para fins contábeis, se a relação de proteção for designada para o período até a data de pagamento, ela deve ser descontinuada quando o recebível for reconhecido, porque o objetivo do gerenciamento de risco da relação de proteção original não deve ser aplicado mais. O risco de moeda estrangeira atualmente está sendo gerenciado dentro da mesma estratégia, mas em base diferente. Por outro lado, se a entidade tinha o objetivo de gerenciamento de risco diferente e gerenciou o risco de moeda estrangeira, como relação de proteção contínua especificamente para esse valor de vendas previstas e o recebível resultante até à data de liquidação, a contabilização de hedge deve continuar até essa data.

B6.5.25 A descontinuação da contabilização de hedge pode afetar:(a) a relação de proteção em sua totalidade; ou

(b) parte da relação de proteção (que significa que a contabilização de hedge continua para o restante da relação de proteção).

B6.5.26 A relação de proteção deve ser descontinuada em sua totalidade quando, como um todo, deixar de atender aos critérios de qualificação. Por exemplo:

(a) a relação de proteção não atende mais ao objetivo de gerenciamento de risco com base no qual se qualificava para contabilização de hedge (ou seja, a entidade não busca mais esse objetivo de gerenciamento de risco);

(b) o instrumento ou instrumentos de hedge foram vendidos ou rescindidos (em relação ao volume total que fazia parte da relação de proteção); ou

(c) não existe mais relação econômica entre o item protegido e o instrumento de hedge ou o efeito do risco de crédito começa a dominar as alterações no valor, que resultam dessa relação econômica.

B6.5.27 Parte da relação de proteção deve ser descontinuada (e a contabilização de hedge continuar para a sua parte restante) quando somente parte da relação de proteção deixar de atender aos critérios de qualificação. Por exemplo:

(a) no reequilíbrio da relação de proteção, o índice de hedge pode ser ajustado de tal forma que parte do volume do item protegido não faz mais parte da relação de proteção (ver item B6.5.20). Portanto, a contabilização de hedge deve ser descontinuada somente para o volume do item protegido, que não faz mais parte da relação de proteção; ou

(b) quando a ocorrência de parte do volume do item protegido, que é (ou é um componente de) uma transação prevista, deixou de ser altamente provável, a contabilização de hedge deve ser descontinuada somente para o volume do item protegido, cuja ocorrência deixou de ser altamente provável. Contudo, se a entidade tiver histórico de ter hedges designados de transações previstas e tiver subsequentemente determinado que não se espera mais que as transações previstas ocorram, a capacidade da entidade de prever transações previstas precisamente é colocada em dúvida ao prever transações previstas similares. Isso afeta a avaliação de se transações previstas similares são altamente prováveis (ver item 6.3.3) e, portanto, se elas são elegíveis como itens protegidos.

B6.5.28 A entidade pode designar nova relação de proteção que envolva o instrumento de hedge ou o item protegido de relação de proteção anterior para a qual a contabilização de hedge foi (em parte ou totalmente) descontinuada. Isso não constitui continuação de relação de proteção, e, sim, reinício. Por exemplo:

(a) o instrumento de hedge sofre deterioração de crédito tão grave que a entidade o substitui por novo instrumento de hedge. Isso significa que a relação de proteção original deixou de atingir o objetivo de gerenciamento de risco e, portanto, deve ser descontinuado em sua totalidade. O novo instrumento de hedge deve ser designado como hedge da mesma exposição que estava anteriormente protegida e forma nova relação de proteção. Dessa forma, as alterações no valor justo ou nos fluxos de caixa do item protegido devem ser mensuradas a partir da data de designação, e mediante referência a essa data, da nova relação de proteção em vez da data em que a relação de proteção original foi designada;

(b) a relação de proteção é descontinuada antes do término de sua vigência. O instrumento de hedge nessa relação de proteção pode ser designado como instrumento de hedge em outra relação de proteção (por exemplo, ao ajustar o índice de hedge no reequilíbrio, aumentando-se o volume do instrumento de hedge ou ao designar uma relação de proteção inteiramente nova).

Contabilização do valor de opção no tempoB6.5.29 A opção pode ser considerada como estando relacionada ao período de tempo devido ao fato de seu valor no tempo representar encargo pelo fornecimento de proteção ao titular da opção ao longo do período de tempo. Contudo, os aspectos relevantes para a finalidade de avaliar se a opção cobre o item protegido, relativo ao período de tempo ou à transação, são as características desse item protegido, incluindo como e quando ele afetará o resultado. Portanto, a entidade deve avaliar o tipo de item protegido (ver item 6.5.15 (a)) com base na natureza do item protegido (independentemente de se a relação de proteção é hedge de fluxo de caixa ou hedge de valor justo):

(a) o valor da opção no tempo refere-se ao item protegido, relativo à transação, se a natureza do item protegido for transação para a qual o valor no tempo tem as características de custos dessa transação. Um exemplo é quando o valor da opção no tempo refere-se ao item protegido, que resultar no reconhecimento do item cuja mensuração inicial inclui custos de transação (por exemplo, a entidade protege a compra de commodities, seja transação prevista ou compromisso firme, contra o risco de preço de commodity e inclui os custos de transação na mensuração inicial do estoque). Como consequência de incluir o valor da opção no tempo na mensuração inicial do item protegido específico, o valor no tempo afeta o resultado ao mesmo tempo que o item protegido. Similarmente, a entidade que protege a venda de commodity, seja ela transação prevista ou compromisso firme, inclui o valor da opção no tempo como parte do custo relacionado a essa venda (portanto, o valor no tempo deve ser reconhecido no resultado no mesmo período em que for reconhecida a receita da venda protegida);

(b) o valor da opção no tempo refere-se ao item protegido, relativo ao período de tempo, se a natureza do item protegido for tal que o valor no tempo tenha a característica de custo pela obtenção de proteção contra o risco ao longo de período de tempo específico (mas o item protegido não resulta em transação, que envolva a noção de custo de transação de acordo com (a)). Por exemplo, se o estoque de commodities é protegido contra a redução no valor justo por seis meses, utilizando-se a opção de commodity com vida útil correspondente, o valor da opção no tempo deve ser alocado para o resultado (ou seja, amortizado de forma sistemática e racional) ao longo do período de seis meses. Outro exemplo é hedge de investimento líquido em operação no exterior que é protegida por 18 meses, utilizando-se a opção de câmbio, que deve resultar na alocação do valor da opção no tempo ao longo do período de 18 meses.

B6.5.30 As características do item protegido, incluindo o modo como e quando o item protegido afeta o resultado, também afetam o período ao longo do qual o valor da opção no tempo que protege o item protegido relativo ao período de tempo é amortizado, que é consistente com o período ao longo do qual o valor intrínseco da opção pode afetar o resultado de acordo com a contabilização de hedge. Por exemplo, se a opção de taxa de juros (teto) for utilizada para fornecer proteção contra aumentos na despesa de juros em título de dívida de taxa flutuante, o valor no tempo desse teto deve ser amortizado no resultado, no mesmo período ao longo do qual qualquer valor intrínseco do teto deve afetar o resultado:

(a) se o teto proteger de aumentos em taxas de juros para os primeiros três anos da vida total do título de dívida de taxa flutuante de cinco anos, o valor no tempo desse teto deve ser amortizado ao longo dos primeiros três anos; ou

(b) se o teto for uma opção inicial a termo que protege de aumentos em taxas de juros para o segundo e terceiro anos da vida total do título de dívida de taxa flutuante de cinco anos, o valor no tempo desse teto deve ser amortizado durante o segundo e terceiro anos.

B6.5.31 A contabilização do valor de opções no tempo, de acordo com o item 6.5.15, também deve ser aplicada à combinação de opção comprada e opção vendida (sendo opção de venda e opção de compra) que, na data de designação como instrumento de hedge, tenham o valor no tempo líquido nulo (normalmente referido como "colar com custo zero"). Nesse caso, a entidade deve reconhecer quaisquer alterações no valor no tempo em outros resultados abrangentes, ainda que a alteração acumulada no valor no tempo ao longo do período total da relação de proteção seja nula. Portanto, se o valor da opção no tempo referir-se a:

(a) item protegido relativo à transação, o montante do valor no tempo ao término da relação de proteção que ajustar o item protegido ou que for reclassificado para o resultado (ver item 6.5.15 (b)) é nulo;(b) item protegido relativo ao período de tempo, a despesa com amortização relativa ao valor no tempo é nula.

B6.5.32 A contabilização do valor de opções no tempo, de acordo com o item 6.5.15, deve ser aplicada somente na medida em que o valor no tempo referir-se ao item protegido (valor alinhado no tempo). O valor da opção no tempo refere-se ao item protegido se os termos críticos da opção (tais como o valor nominal, a vida e o item subjacente) estiverem alinhados com o item protegido. Assim, se os termos críticos da opção e o item protegido não estiverem totalmente alinhados, a entidade deve determinar o valor alinhado no tempo, ou seja, quanto do valor no tempo incluído no prêmio (valor real no tempo) refere-se ao item protegido (e, portanto, deve ser tratado de acordo com o item 6.5.15). A entidade deve determinar o valor alinhado no tempo, utilizando a avaliação da opção que teria termos críticos, que correspondem perfeitamente ao item protegido.

B6.5.33 Se o valor real no tempo e o valor alinhado no tempo forem diferentes, a entidade deve determinar o montante que estiver acumulado em componente separado do patrimônio líquido, de acordo com o item 6.5.15, conforme abaixo:

(a) se, no início da relação de proteção, o valor real no tempo for superior ao valor alinhado no tempo, a entidade deve:

(i) determinar o valor que estiver acumulado em componente separado do patrimônio líquido com base no valor alinhado no tempo; e

(ii) contabilizar as diferenças, nas alterações no valor justo entre os dois valores no tempo no resultado;

(b) se, no início da relação de proteção, o valor real no tempo for inferior ao valor alinhado no tempo, a entidade deve determinar o montante que estiver acumulado em componente separado do patrimônio líquido, mediante referência ao que for menor entre a alteração acumulada no valor justo:

(i) do valor real no tempo; e

(ii) do valor alinhado no tempo.

Qualquer valor restante da alteração no valor justo do valor real no tempo deve ser reconhecido no resultado.

Contabilização do elemento a termo de contratos a termo e spreads com base em moeda estrangeira de instrumentos financeiros

B6.5.34 O contrato a termo pode ser considerado como estando relacionado ao período de tempo porque seu elemento a termo representa encargos para o período de tempo (que é o prazo até o vencimento para o qual é definido). Contudo, o aspecto relevante para a finalidade de avaliar se o instrumento de hedge cobre o item protegido, relativo ao período de tempo ou à transação, é representado pelas características desse item protegido, incluindo como e quando ele afeta o resultado. Portanto, a entidade deve avaliar o tipo de item protegido (ver itens 6.5.16 e 6.5.15 (a)), com base na natureza do item protegido (independentemente de se a relação de proteção é hedge de fluxo de caixa ou hedge de valor justo):

(a) o elemento a termo de contrato a termo refere-se ao item protegido relativo à transação se a natureza do item protegido for transação para a qual o elemento a termo tem as características de custos dessa transação. Um exemplo é quando o elemento a termo de opção referir-se ao item protegido, que resulta no reconhecimento do item cuja mensuração inicial inclui custos de transação (por exemplo, a entidade protege a compra de estoques denominada em moeda estrangeira, seja transação prevista ou compromisso firme, contra o risco de moeda estrangeira e inclui os custos de transação na mensuração inicial do estoque). Como consequência de incluir o elemento a termo na mensuração inicial do item protegido específico, o elemento a termo afetará o resultado ao mesmo tempo que o item protegido. Similarmente, a entidade que protege a venda de commodity denominada em moeda estrangeira contra o risco de moeda estrangeira, seja ela transação prevista ou compromisso firme, inclui o elemento a termo como parte do custo que está relacionado a essa venda (portanto, o elemento a termo deve ser reconhecido no resultado no mesmo período em que for reconhecida a receita proveniente da venda protegida);

(b) o elemento a termo de contrato a termo refere-se ao item protegido relativo ao período de tempo se a natureza do item protegido for tal que o elemento a termo tenha a característica de custo para obter proteção contra risco ao longo de período de tempo específico (mas o item protegido não resultará em transação que envolva a noção de custo de transação de acordo com (a)). Por exemplo, se o estoque de commodities estiver protegido contra alterações no valor justo por seis meses, utilizandose contrato a termo de commodity com vida útil correspondente, o elemento a termo do contrato a termo deve ser alocado para o resultado (ou seja, amortizado de forma sistemática e racional), ao longo do período de seis meses. Outro exemplo é hedge de investimento líquido em operação no exterior, que é protegida por 18 meses, utilizando-se contrato a termo de câmbio, que resultará na alocação do elemento a termo do contrato a termo ao longo do período de 18 meses.

B6.5.35 As características do item protegido, incluindo o modo como e quando o item protegido afetará o resultado, também afetarão o período, ao longo do qual o elemento a termo de contrato a termo que, protege item protegido relativo ao período de tempo, for amortizado, o que ocorrerá ao longo do período ao qual se refere o elemento a termo. Por exemplo, se o contrato a termo proteger a exposição à variabilidade de taxas de juros de três meses pelo período de três meses, que se inicia no prazo de seis meses, o elemento a termo deve ser amortizado durante o período que se estende do sétimo ao nono mês.

B6.5.36 A contabilização do elemento a termo de contrato a termo, de acordo com o item 6.5.16, também deve ser aplicado se, na data em que o contrato a termo for designado como instrumento de hedge, o elemento a termo for nulo. Nesse caso, a entidade deve reconhecer quaisquer alterações no valor justo atribuíveis ao elemento a termo em outros resultados abrangentes, ainda que a alteração acumulada no valor justo atribuível ao elemento a termo ao longo do período total da relação de proteção seja nula. Assim, se o elemento a termo de contrato a termo referir-se a:

(a) item protegido relativo à transação, o montante referente ao elemento a termo ao término da relação de proteção, que ajustar o item protegido ou que for reclassificado para o resultado (ver itens 6.5.15 (b) e 6.5.16) é nulo;

(b) item protegido relativo ao período de tempo, o valor da amortização relativo ao elemento a termo é nulo.

B6.5.37 A contabilização do elemento a termo de contratos a termo, de acordo com o item 6.5.16, deve ser aplicada somente na medida em que o elemento a termo referir-se ao item protegido (elemento a termo alinhado). O elemento a termo de contrato a termo estará referindo-se ao item protegido se os termos críticos do contrato a termo (tais como o valor nominal, a vida e o item subjacente) estiverem alinhados com o item protegido. Assim, se os termos críticos do contrato a termo e o item protegido não estiverem totalmente alinhados, a entidade deve determinar o elemento a termo alinhado, ou seja, quanto do elemento a termo incluído no contrato a termo (elemento a termo real) refere-se ao item protegido (e, portanto, deve ser tratado de acordo com o item 6.5.16).

A entidade deve determinar o elemento a termo alinhado, utilizando a avaliação do contrato a termo que tem termos críticos, que correspondem perfeitamente ao item protegido.

B6.5.38 Se o elemento a termo real e o elemento a termo alinhado forem diferentes, a entidade deve determinar o montante que estiver acumulado em componente separado do patrimônio líquido, de acordo com o item 6.5.16, conforme abaixo especificado:

(a) se, no início da relação de proteção, o valor absoluto do elemento a termo real for superior ao valor do elemento a termo alinhado, a entidade deve:

(i) determinar o valor que estiver acumulado em componente separado do patrimônio líquido com base no elemento a termo alinhado; e

(ii) contabilizar as diferenças, nas alterações no valor justo entre os dois elementos a termo, no resultado;

(b) se, no início da relação de proteção, o valor absoluto do elemento a termo real for inferior ao valor do elemento a termo alinhado, a entidade deve determinar o montante que estiver acumulado em componente separado do patrimônio líquido, mediante referência ao que for menor entre a alteração acumulada no valor justo:

(i) do valor absoluto do elemento a termo real; e

(ii) do valor absoluto do elemento a termo alinhado.

Qualquer valor restante da alteração, no valor justo do elemento a termo real, deve ser reconhecido no resultado.

B6.5.39 Quando a entidade separar o spread com base em moeda estrangeira do instrumento financeiro e o excluir da designação desse instrumento financeiro como o instrumento de hedge (ver item 6.2.4 (b)), a orientação de aplicação descrita itens B6.5.34 a B6.5.38 deve ser aplicada ao spread com base em moeda estrangeira, da mesma forma que é aplicada ao elemento a termo de contrato a termo.

Hedge de grupo de itens (Seção 6.6)

Hedge de posição líquida Elegibilidade para contabilização de hedge e designação de posição líquida

B6.6.1 A posição líquida é elegível para contabilização de hedge somente se a entidade proteger-se em base líquida para fins de gerenciamento de risco. Se a entidade proteger-se dessa forma é um fato (não simplesmente de afirmação ou documentação). Portanto, a entidade não pode aplicar contabilização de hedge em base líquida somente para alcançar um resultado contábil específico, se isso não refletir sua abordagem de gerenciamento de risco. O hedge de posição líquida deve fazer parte da estratégia de gerenciamento de risco estabelecida. Normalmente, isso deve ser aprovado pelo pessoalchave da administração, conforme definido no CPC 05.

B6.6.2 Por exemplo, a entidade A, cuja moeda funcional é sua moeda local, tem compromisso firme de pagar FC 150.000 por despesas de publicidade no prazo de nove meses e compromisso firme de vender produtos acabados por FC 150.000 no prazo de 15 meses. A entidade A contrata um derivativo em moeda estrangeira, que será liquidado no prazo de nove meses, de acordo com o qual recebe FC 100 e paga $ 70. A entidade A não tem outras exposições a FC. A entidade A não gerencia risco de moeda estrangeira em base líquida. Portanto, a entidade A não pode aplicar a contabilização de hedge para a relação de proteção entre o derivativo em moeda estrangeira e a posição líquida de FC 100 (que consiste de FC 150.000 do compromisso firme de compra, ou seja, serviços de publicidade, e FC 149.900 (dos FC 150.000) do compromisso firme de venda) para o período de nove meses.

B6.6.3 Se a entidade A gerenciou o risco de moeda estrangeira em base líquida e não contratou o derivativo em moeda estrangeira (porque ele aumenta sua exposição ao risco de moeda estrangeira, em vez de reduzi-la), então a entidade está em posição protegida natural por nove meses. Normalmente, essa posição protegida não deve ser refletida nas demonstrações contábeis porque as transações serão reconhecidas em diferentes períodos das demonstrações contábeis no futuro. A posição líquida nula será elegível para contabilização de hedge somente se as condições descritas no item 6.6.6 forem atendidas.

B6.6.4 Quando o grupo de itens que constitui a posição líquida for designado como item protegido, a entidade deve designar o grupo geral de itens, que inclui os itens que podem compor a posição líquida.

A entidade não tem permissão de designar o valor abstrato não específico de posição líquida. Por exemplo, a entidade tem grupo de compromissos firmes de venda no prazo de nove meses por FC 100 e grupo de compromissos firmes de compra no prazo de 18 meses por FC 120. A entidade não pode designar o valor abstrato de posição líquida de até FC 120. Em vez disso, ela deve designar o valor bruto de compras e o valor bruto de vendas que, juntos, dão origem à posição líquida protegida. A entidade deve designar posições brutas que dão origem à posição líquida de modo que a entidade seja capaz de cumprir os requisitos para a contabilização de relações de proteção que se qualificam.

Aplicação de requisitos de efetividade de hedge ao hedge de posição líquida

B6.6.5 Quando a entidade determinar se os requisitos de efetividade de hedge do item 6.4.1 (c) estarão atendidos quando ela proteger a posição líquida, ela deve considerar as alterações no valor dos itens na posição líquida que têm efeito similar ao instrumento de hedge em conjunto com a alteração no valor justo no instrumento de hedge. Por exemplo, a entidade tem um grupo de compromissos firmes de venda no prazo de nove meses por FC 100 e um grupo de compromissos firmes de compra no prazo de 18 meses por FC 120. Ela proteger-se-á do risco de moeda estrangeira da posição líquida de FC 20, utilizando um contrato de câmbio futuro para FC 20. Ao determinar se os requisitos de efetividade de hedge descritos no item 6.4.1 (c) foram atendidos, a entidade deve considerar a relação entre:

(a) a alteração no valor justo no contrato de câmbio futuro juntamente com o risco de moeda estrangeira, relativo a alterações no valor dos compromissos firmes de venda; e

(b) o risco de moeda estrangeira, relativo a alterações no valor dos compromissos firmes de compra.

B6.6.6 Similarmente, se no exemplo descrito no item B6.6.5 a entidade tivesse a posição líquida nula, ela deveria considerar a relação entre o risco de moeda estrangeira, relativo a alterações no valor dos compromissos firmes de venda, e o risco de moeda estrangeira, relativo a alterações no valor dos compromissos firmes de compra, ao determinar se os requisitos de efetividade do hedge descritos no item 6.4.1 (c) foram atendidos.

Hedge de fluxos de caixa que constituem posição líquida

B6.6.7 Quando a entidade proteger um grupo de itens com posições de risco que se compensam (ou seja, posição líquida), a elegibilidade para contabilização de hedge depende do tipo de hedge. Se o hedge é hedge de valor justo, então a posição líquida pode ser elegível como item protegido. Se, contudo, o hedge é hedge de fluxo de caixa, então a posição líquida somente pode ser elegível como item protegido se for hedge de risco de moeda estrangeira e a designação dessa posição líquida especificar o período da demonstração contábil em que se espera que as transações previstas afetem o resultado e, também, especificar sua natureza e volume.

B6.6.8 Por exemplo, a entidade tem posição líquida que consiste de camada (layer) inferior de FC 100 de vendas e camada inferior de FC 150 de compras. Tanto as vendas, quanto as compras, foram denominadas na mesma moeda estrangeira. Para especificar suficientemente a designação da posição líquida protegida, a entidade deve especificar na documentação original da relação de proteção que as vendas podem ser do produto A ou do produto B e as compras podem ser de maquinário do tipo A, maquinário do tipo B e matéria-prima A. A entidade também deve especificar os volumes das transações por natureza. A entidade documenta que a camada inferior de vendas (FC 100) é composta pelo volume de vendas previstas dos primeiros FC 70 do produto A e dos primeiros

FC 30 do produto B. Caso se espere que esses volumes de vendas afetem o resultado em diferentes períodos do relatório contábil, a entidade deve incluir isso na documentação, por exemplo, os primeiros

FC 70 de vendas do produto A que se espera, que afetem o resultado no primeiro período do relatório contábil e os primeiros FC 30 de vendas do produto B que se espera, que afetem o resultado do segundo período do relatório contábil. A entidade também documenta que a camada inferior das compras (FC 150) é composta de compras dos primeiros FC 60 de maquinário do tipo A, os primeiros

FC 40 de maquinário do tipo B e os primeiros FC 50 de matéria-prima A. Caso se espere que os volumes de compras afetem o resultado em diferentes períodos do relatório contábil, a entidade deve incluir na documentação a desagregação dos volumes de compras pelos períodos do relatório contábil, nos quais se espera que afetem o resultado (de modo similar à forma como documentam os volumes de vendas). Por exemplo, a transação prevista deve ser especificada como:

(a) os primeiros FC 60 de compras de maquinário do tipo A, que se espera que afetem o resultado a partir do terceiro período do relatório contábil ao longo dos dez períodos do relatório contábil seguintes;

(b) os primeiros FC 40 de compras de maquinário do tipo B, que se espera que afetem o resultado a partir do quarto período do relatório contábil ao longo dos vinte períodos do relatório contábil seguintes; e

(c) os primeiros FC 50 de compras de matéria-prima A, que se espera que sejam recebidas no terceiro período do relatório contábil e vendidas, ou seja, afetam o resultado, nesse e no próximo período do relatório contábil.

Especificar a natureza dos volumes de transação prevista inclui aspectos como o padrão de depreciação para itens do imobilizado do mesmo tipo, se a natureza desses itens for tal que o padrão de depreciação pode variar dependendo de como a entidade utilizar esses itens. Por exemplo, se a entidade utilizar itens de maquinário do tipo A em dois processos de produção diferentes que resultam em depreciação linear ao longo de dez períodos do relatório contábil e o método de unidades de produção respectivamente, sua documentação do volume de compra previsto para maquinário do tipo A deve desagregar esse volume pela forma como esses padrões de depreciação são aplicados.

B6.6.9 Para hedge de fluxo de caixa de posição líquida, os valores determinados, de acordo com o item 6.5.11, devem incluir as alterações no valor dos itens na posição líquida que têm efeito similar ao instrumento de hedge em conjunto com a alteração no valor justo no instrumento de hedge. Entretanto, as alterações no valor dos itens na posição líquida, que têm efeito similar ao instrumento de hedge, devem ser reconhecidas somente quando as transações às quais elas se referem forem reconhecidas, por exemplo, quando a venda prevista for reconhecida como receita. Por exemplo, a entidade tem um grupo de vendas previstas altamente prováveis no prazo de nove meses por FC 100 e um grupo de compras previstas altamente prováveis no prazo de 18 meses por FC 120 e ela se protege do risco de moeda estrangeira da posição líquida de FC 20, utilizando contrato de câmbio futuro para FC 20. Ao determinar os valores que devem ser reconhecidos na reserva de hedge de fluxo de caixa de acordo com o item 6.5.11 (a) e 6.5.11 (b), a entidade deve comparar:

(a) a alteração no valor justo no contrato de câmbio futuro, juntamente com o risco de moeda estrangeira relativo a alterações no valor das vendas previstas altamente prováveis; com

(b) o risco de moeda estrangeira relativo a alterações no valor das compras previstas altamente prováveis.

Contudo, a entidade deve reconhecer apenas valores relativos ao contrato de câmbio futuro até que as transações de vendas previstas altamente prováveis sejam reconhecidas nas demonstrações contábeis, ocasião em que os ganhos e as perdas nessas transações previstas devem ser reconhecidos (ou seja, a alteração no valor atribuível à alteração na taxa de câmbio entre a designação da relação de proteção e o reconhecimento de receita).

B6.6.10 Similarmente, se no exemplo a entidade tivesse a posição líquida nula, ela deve comparar o risco de moeda estrangeira relativo a alterações no valor das vendas previstas altamente prováveis com o risco de moeda estrangeira relativo a alterações no valor das compras previstas altamente prováveis. Entretanto, esses valores devem ser reconhecidos somente quando as respectivas transações previstas forem reconhecidas nas demonstrações contábeis.

Camadas (layers) de grupo de itens designados como item protegido

B6.6.11 Pelos mesmos motivos observados no item B6.3.19, designar componentes de camada de grupos de itens existentes requer a identificação específica do valor nominal dos grupos de itens a partir do qual se define o componente de camada protegida.

B6.6.12 A relação de proteção pode incluir camadas (layers) de diversos grupos diferentes de itens. Por exemplo, no hedge de posição líquida de grupo de ativos e grupo de passivos, a relação de proteção pode compreender, em combinação, um componente de camada do grupo de ativos e um componente de camada do grupo de passivos.

Apresentação de ganhos ou perdas no instrumento de hedge

B6.6.13 Se itens são protegidos conjuntamente como grupo em hedge de fluxo de caixa, eles podem afetar diferentes rubricas na demonstração do resultado e em outros resultados abrangentes. A apresentação de ganhos ou perdas de hedge nessa demonstração depende do grupo de itens.

B6.6.14 Se o grupo de itens não tiver quaisquer posições de risco que se compensam (por exemplo, grupo de despesas em moeda estrangeira que afetam rubricas diferentes na demonstração do resultado e em outros resultados abrangentes que são protegidos de risco de moeda estrangeira), então os ganhos e as perdas no instrumento de hedge reclassificado devem ser distribuídos às rubricas afetadas pelos itens protegidos. Essa distribuição deve ser realizada de forma sistemática e racional e não deve resultar no acréscimo dos ganhos ou perdas líquidos resultantes de um único instrumento de hedge.

B6.6.15 Se o grupo de itens tem posições de risco que se compensam (por exemplo, grupo de vendas e despesas denominadas em moeda estrangeira protegidas em conjunto para risco de moeda estrangeira), então a entidade deve apresentar os ganhos ou as perdas de proteção em rubrica separada na demonstração do resultado e em outros resultados abrangentes. Considere, por exemplo, o hedge do risco de moeda estrangeira de posição líquida de vendas em moeda estrangeira de FC 100 e despesas com moeda estrangeira de FC 80, utilizando contrato futuro de câmbio para FC 20. O ganho ou a perda no contrato de câmbio futuro reclassificado da reserva de hedge de fluxo de caixa para o resultado (quando a posição líquida afetar o resultado) deve ser apresentado em rubrica separada das despesas e vendas protegidas. Ademais, se as vendas ocorrem em período anterior ao das despesas, a receita de vendas ainda deve ser mensurada à taxa de câmbio à vista de acordo com o CPC 02. O respectivo ganho ou perda protegida deve ser apresentado em rubrica separada, de modo que o resultado reflita o efeito de proteger a posição líquida, com o ajuste correspondente à reserva de hedge de fluxo de caixa. Quando as despesas protegidas afetarem o resultado em período posterior, o ganho ou a perda protegido, anteriormente reconhecido na reserva de hedge de fluxo de caixa nas vendas, deve ser reclassificado para o resultado e apresentado como rubrica separada daquelas que incluem as despesas protegidas, que são mensuradas à taxa de câmbio à vista de acordo com o CPC 02.

B6.6.16 Para alguns tipos de hedge de valor justo, o objetivo do hedge não é essencialmente compensar a alteração no valor justo do item protegido, e, sim, transformar os fluxos de caixa do item protegido. Por exemplo, a entidade protege o risco de taxa de juros de valor justo de instrumento de dívida com taxa fixa utilizando swap de taxa de juros. O objetivo de hedge da entidade é transformar os fluxos de caixa com juros fixos em fluxos de caixa com juros flutuantes. Esse objetivo deve ser refletido na contabilização da relação de hedge, acumulando-se o provisionamento de juros líquido no swap de taxa de juros, no resultado. No caso de hedge de posição líquida (por exemplo, posição líquida de ativo de taxa fixa ou de passivo de taxa fixa), esse provisionamento de juros líquido deve ser apresentado em rubrica separada na demonstração do resultado e em outros resultados abrangentes. Isso é para evitar o acréscimo de ganhos ou perdas líquidas de um único instrumento em valores brutos que se compensam e reconhecê-los em diferentes rubricas (por exemplo, isso evita o acréscimo do recebimento de juros líquidos em um único swap de taxa de juros para a receita de juros bruta e despesa com juros bruta).

Data de vigência e transição (Capítulo 7)

Transição (Seção 7.2)

Ativo financeiro mantido para negociação

B7.2.1 Na data da aplicação inicial deste pronunciamento, a entidade deve determinar se o objetivo de seu modelo de negócios para a gestão de quaisquer de seus ativos financeiros atende à condição do item 4.1.2 (a) ou do item 4.1.2A(a) ou se o ativo financeiro é elegível para a escolha do item 5.7.5. Para esse fim, a entidade deve determinar se os ativos financeiros atendem à definição de mantidos para negociação como se a entidade os tivesse adquirido na data da aplicação inicial.

Redução ao valor recuperável

B7.2.2 Na transição, a entidade deve tentar se aproximar do risco de crédito no reconhecimento inicial, considerando todas as informações razoáveis e sustentáveis disponíveis sem custo ou esforço excessivos. A entidade não está obrigada a realizar pesquisa exaustiva de informações ao determinar, na data de transição, se houve aumentos significativos no risco de crédito desde o reconhecimento inicial. Se a entidade for incapaz de fazer essa determinação sem custo ou esforço excessivos, deve ser aplicado o item 7.2.20.

B7.2.3 Para determinar a provisão para perdas nos instrumentos financeiros inicialmente reconhecidos (ou compromissos de empréstimo ou contratos de garantia financeira, nos quais a entidade tornou-se parte do contrato) antes da data de aplicação inicial, tanto na transição quanto até o desreconhecimento desses itens, a entidade deve considerar informações relevantes ao determinar ou aproximar-se do risco de crédito no reconhecimento inicial. Para determinar ou aproximar-se do risco de crédito inicial, a entidade pode considerar informações internas e externas, incluindo informações de carteira, de acordo com os itens B5.5.1 a B5.5.6.

B7.2.4 A entidade com poucas informações históricas pode utilizar informações de relatórios internos e estatísticas (que podem ter sido geradas ao se decidir sobre o lançamento de novo produto), informações sobre produtos similares ou experiência de grupos equivalentes para instrumentos financeiros comparáveis, se pertinentes.

Definições (Apêndice A)

Derivativos

BA.1 Os exemplos típicos de derivativos são contratos futuros, a termo, de swap e opções. O derivativo normalmente possui valor nocional, que é valor de moeda, número de ações, número de unidades de peso ou volume ou outras unidades especificadas no contrato. Entretanto, o instrumento derivativo não exige que o titular ou lançador da opção invista ou receba o valor nocional no início do contrato. Alternativamente, o derivativo pode exigir pagamento fixo ou pagamento de valor que pode mudar (mas não proporcionalmente com a alteração no item subjacente) como resultado de algum evento futuro que não esteja relacionado ao valor nocional. Por exemplo, o contrato pode exigir o pagamento fixo de $ 1.000, se a Libor de seis meses aumentar em 100 pontos-base. Esse contrato é um derivativo, mesmo se o valor nocional não for especificado.

BA.2 A definição de derivativo, neste pronunciamento, inclui contratos que sejam liquidados pelo valor bruto por meio da entrega do item subjacente (por exemplo, contrato a termo para compra de instrumento de dívida à taxa fixa). A entidade pode ter um contrato para comprar ou vender item não financeiro que possa ser liquidado pelo valor líquido à vista ou em outro instrumento financeiro ou pela troca de instrumentos financeiros (por exemplo, contrato para comprar ou vender uma commodity a preço fixo em data futura). Esse contrato está dentro do alcance deste pronunciamento, a menos que tenha sido celebrado e continue a ser mantido para a finalidade de entrega de item não financeiro, de acordo com os requisitos de compra, venda ou uso esperados da entidade. Contudo, este pronunciamento deve ser aplicado a esses contratos para requisitos de compra, venda ou uso esperados da entidade, se esta fizer a designação de acordo com o item 2.5 (ver itens 2.4 a 2.7).

BA.3 Uma das características, que define um derivativo, é que ele possui investimento líquido inicial menor que o que seria necessário para outros tipos de contratos que se espera tenham resposta similar a alterações em fatores de mercado. O contrato de opção atende a essa definição, porque o prêmio é menor que o investimento que seria necessário para obter o instrumento financeiro subjacente ao qual a opção está ligada. O swap de moeda que exige a troca inicial de diferentes moedas de valores justos iguais atende à definição, pois possui investimento líquido inicial zero.

BA.4 A compra ou a venda de forma regular dá origem a compromisso de preço fixo entre a data de negociação e a data de liquidação que atenda à definição de derivativo. Entretanto, por causa da curta duração do compromisso, ele não é reconhecido como instrumento financeiro derivativo. Em vez disso, este pronunciamento prevê a contabilização especial dos contratos de forma regular (ver itens 3.1.2 e B3.1.3 a B3.1.6).

BA.5 A definição de derivativo está relacionada a variáveis não financeiras, que não são específicas a uma parte do contrato. Essas variáveis incluem índice de perdas por terremoto em região específica e índice de temperaturas em cidade específica. As variáveis não financeiras, específicas a uma parte do contrato, incluem a ocorrência ou não ocorrência de incêndio que danifique ou destrua o ativo de uma parte do contrato. A alteração no valor justo do ativo não financeiro é específica ao sócio, se o valor justo refletir não apenas as alterações nos preços de mercado desses ativos (variável financeira), mas também a condição do ativo não financeiro específico mantido (variável não financeira). Por exemplo, se a garantia do valor residual de carro específico expuser o avalista ao risco de alterações na condição física do carro, a alteração nesse valor residual é específica ao proprietário do carro.

Ativo e passivo financeiro mantido para negociação

BA.6 A negociação, de modo geral, reflete a compra e a venda ativa e frequente, e os instrumentos financeiros mantidos para negociação, de modo geral, são usados com o objetivo de gerar lucro de flutuações de curto prazo no preço ou na margem do revendedor.

BA.7 Passivos financeiros mantidos para negociação incluem:

(a) passivos derivativos que não são contabilizados como instrumentos de hedge;

(b) obrigações para entregar ativos financeiros emprestados por vendedor a descoberto (ou seja, a entidade que vende ativos financeiros que tomou por empréstimo e ainda não os possui);

(c) passivos financeiros que são incorridos com a intenção de recomprá-los, em futuro próximo (por exemplo, instrumento de dívida cotado que o emitente possa recomprar, em futuro próximo, dependendo das alterações no seu valor justo); e

(d) passivos financeiros, que fazem parte da carteira de instrumentos financeiros identificados, que são gerenciados em conjunto, e para os quais haja evidência de padrão recente de obtenção de lucro de curto prazo.

BA.8 O fato de que o passivo seja usado para custear atividades de negociação, por si só, não torna esse passivo um passivo mantido para negociação.

(1) Este termo (conforme definido no CPC 40) é utilizado nos requisitos para apresentar os efeitos das mudanças no risco de crédito de passivos designados como ao valor justo por meio do resultado (ver item 5.7.7).

(1A) O fluxograma também pode ser visualizado junto com a íntegra da Resolução CVM nº 76, na página da CVM (https://www.gov.br/cvm).

(2) O CPC 15 trata da aquisição de contratos com derivativos embutidos em combinação de negócios.

(3) Neste Pronunciamento, valores monetários são denominados em "unidades de moeda estrangeira" (FC).