Portaria MTB Nº 99 DE 08/02/2018


 Publicado no DOU em 9 fev 2018


Altera o Anexo II - Requisitos de segurança específicos para máquinas utilizadas nas indústrias de abate e processamento de carnes e derivados destinados ao consumo humano - da Norma Regulamentadora nº 36 - Segurança e Saúde no Trabalho em Empresas de Abate e Processamento de Carnes e Derivados e dá outras providências.


Sistemas e Simuladores Legisweb

O Ministro de Estado do Trabalho - Substituto, no uso das atribuições que lhe conferem o inciso II do parágrafo único do art. 87 da Constituição Federal e os arts. 155 e 200 da Consolidação das Leis do Trabalho - CLT, aprovada pelo Decreto-Lei nº 5.452, de 1º de maio de 1943,

Resolve:

Art. 1º Alterar o item 1 do Anexo II - Requisitos de segurança específicos para máquinas utilizadas nas indústrias de abate e processamento de carnes e derivados destinados ao consumo humano - da Norma Regulamentadora nº 36 - Segurança e Saúde no Trabalho em Empresas de Abate e Processamento de Carnes e Derivados, aprovada pela Portaria MTE nº 555, de 18 de abril de 2013, que passa a vigorar com a seguinte redação:

"1. Para fins do atendimento do item 36.7.1 desta Norma, estão abrangidos no presente anexo as seguintes máquinas de uso exclusivo na indústria de abate e processamento de carnes de derivados destinados ao consumo humano:

I - Máquina automática para descourear e retirar pele e película;

II - Máquina aberta para descourear e retirar pele;

III - Máquina de repasse de moela;

IV - Máquina Serra de Fita."

Art. 2º Incluir o item 1.4 no Anexo II, da Norma Regulamentadora nº 36, com a redação constante no Anexo desta Portaria.

Art. 3º Altera os itens 1.1.6, 1.2.5, 1.3.3 e 1.3.8.6 do Anexo II da Norma Regulamentadora nº 36, que passam a vigorar com as seguintes redações:

".....

1.1.6. O sistema de segurança e suas interligações devem atingir no mínimo categoria de segurança 3.

.....

1.2.5. O sistema de segurança e suas interligações devem atingir no mínimo categoria de segurança 3.

.....

1.3.3 O sistema de segurança e suas interligações devem atingir no mínimo categoria de segurança 3.

.....

1.3.8.6 O sistema de segurança e suas interligações devem atingir no mínimo categoria de segurança 3.

....."

Art. 4º Esta portaria entra em vigor na data de sua publicação, exceto quanto aos itens abaixo discriminados, exclusivamente para adequação das máquinas já em uso, que entrarão em vigor nos prazos consignados, contados da publicação:

Item  Prazo para empresas em geral  Prazo para micro e pequenas empresas 
1.4.6, alínea "a"  6 meses  12 meses 
1.4.6, alínea "d"  12 meses  18 meses

HELTON YOMURA

ANEXO

IV - Máquina Serra de Fita.

1.4. A máquina serra de fita é definida para fins deste anexo como sendo aquela formada por uma mesa de alimentação fixa ou uma mesa de alimentação parcialmente deslizante ou um transportador com cilindros ou uma correia transportadora, com uma canaleta regulável deslizante, uma polia superior e uma polia inferior, uma fita de corte, uma guia superior e uma guia inferior para a fita de corte, um dispositivo para ajustar a tensão da fita de corte, um sistema motriz e componentes elétricos, dependendo da especificidade da máquina, com uma altura de corte de até 550 mm.

1.4.1 As máquinas às quais se aplicam esta norma são utilizadas para cortar:

a) ossos;

b) carnes com ou sem ossos;

c) peixes;

d) blocos de produtos alimentícios;

e) outros produtos cárneos.

1.4.2 Esta norma não se aplica à serra de fita de uso restrito a açougues, mercearias, bares e restaurantes, prevista no Anexo VII da NR-12.

1.4.3 Os perigos mecânicos e requisitos de segurança abrangidos neste anexo se referem ao tipo de máquina descrita no item 1.4, devendo ser realizada uma prévia avaliação de risco da máquina, após a sua instalação, longo período de inatividade ou quando ocorrer mudança do processo operacional, em relação ao trabalhador, para evitar riscos adicionais oriundos do processo e das condições do ambiente de trabalho.

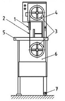
1.4.4 São consideradas zonas de perigo, conforme a figura 1:

Legenda:

1- Zona 1- Parte da fita de corte coberta por canaleta regulável deslizante

2 - Zona 2- Área de corte

3 - Zona 3 - Polias inferior e superior

4 - Zona 4 - Fita de corte fora da área de corte

5 - Zona 5 - Mesa de alimentação (fixa e/ou parcialmente deslizante)

6 - Zona 6 - Unidade motriz

7 - Zona 7- Sistema de rodízio para facilitar o transporte.

H - Altura da mesa de trabalho em relação ao solo Figura 1 - Zonas de perigo da máquina serra de fita Fonte: Norma Técnica EN 12268:2014

1.4.5 O acesso a zona de perigo 1 deve possuir uma canaleta regulável deslizante, para enclausurar o perímetro da fita serrilhada na região de corte, liberando apenas a área mínima de fita serrilhada para operação.

1.4.6 O acesso à zona de perigo 2, área de corte da lâmina, deve ser impedido pela aplicação conjunta das seguintes medidas:

a) limitar a distância das mãos do(s) operador(es) a no mínimo 20 cm da fita, por todos os lados;

b) não utilizar luvas de malha de aço, anticorte ou de material que possibilite agarramento;

c) quando utilizar vestimentas de manga longa na realização da atividade, esta deve ter fechamento no punho;

d) adotar medidas para evitar o acesso de terceiros à zona de perigo 2, limitando-se o acesso apenas ao posto de trabalho do(s) operador(es) da máquina.

1.4.6.1 Os cortes que exijam distância inferior ao previsto na letra "a" do item 1.4.6, somente podem ser realizados com a utilização de dispositivo que proteja completamente as mãos do(s) operador(es).

1.4.6.1.1 O dispositivo para proteção, constituído por material resistente ao corte da serra, pode ser do tipo empurrador, anteparo físico ou outras alternativas, conforme exemplos das figuras 2, 3 e 4, que impeçam o contato das mãos com a fita de corte;

1.4.6.1.2 As soluções alternativas para proteção devem ser projetadas de modo a atingir o nível necessário de segurança previsto neste anexo.

1.4.6.2 Quando não for possível limitar o acesso por meio do posicionamento da máquina no ambiente ou da organização dos postos de trabalho, o acesso de terceiros (outras pessoas) à área de corte da lâmina deve estar protegido por meio de proteção fixa ou móvel intertravada, conforme os itens de 12.38 a 12.55 da NR-12.

Figura 2 - Exemplo de dispositivo para proteção da mão do trabalhador

Fonte: Arquivo da subcomissão de máquinas da CNTT da NR-36

Figura 3 - Exemplo de dispositivo para proteção da mão do trabalhador

Fonte: Reducing bandsaw accidents in the food industry. Guidance Note PM33 do HSE (Health and Safety Executive), 2000.

Figura 4 - Exemplo de dispositivo para proteção da mão do trabalhador

Fonte: Reducing bandsaw accidents in the food industry. Guidance Note PM33 do HSE (Health and Safety Executive), 2000.

1.4.7 O acesso à zona de perigo 3, polias inferior e superior e à zona de perigo 4, fita de corte fora da área de corte, deve ser impedido em todas as faces por meio de proteção móvel intertravada, conforme os itens 12.38 a 12.55 da NR-12.

1.4.8 Na zona de perigo 5, mesa de alimentação, quando utilizada a mesa parcialmente deslizante, esta deve ser projetada para impedir qualquer salto ou deslizamento para fora dos trilhos ou da guia.

1.4.9 O acesso à zona de perigo 6, unidade motriz, deve ser impedido por meio de proteção móvel intertravada ou fixa, conforme os itens 12.38 a 12.55 da NR-12, que impeça o acesso aos movimentos perigosos do sistema motriz durante a operação normal.

1.4.10 A máquina serra de fita com uma altura de corte maior do que 420 mm deve ser dotada de unidade de alimentação e de evacuação não automática, como por exemplo, transportador com cilindros, correia (cinta) transportadora, mesa deslizante, entre outros.

1.4.11 Devem ser adotadas medidas para impedir a passagem de pessoas e materiais no espaço imediatamente atrás do(s) operador(es) de modo a evitar seu deslocamento acidental durante a operação.

1.4.12 Nas máquinas móveis que possuem rodízios, pelo menos dois deles devem possuir travas.

1.4.13 A altura "H", a partir do solo até a superfície superior da mesa de alimentação deve estar entre 850 mm à 1120 mm.

1.4.13.1 A altura "H" fora do padrão estabelecido no item

1.4.10 deste anexo só pode ser adotada por meio de uma análise ergonômica do trabalho (AET) do posto de trabalho.

1.4.14 Os componentes elétricos devem atender ao grau de proteção (IP), de acordo com as normas técnicas oficiais vigentes à época de publicação deste anexo.

1.4.14.1 Quando utilizado jato de pressão de água para higienização da máquina devem ser adotadas medidas adicionais para proteger componentes elétricos externos.

1.4.15 A máquina deve ser equipada com um dispositivo de parada de emergência, de forma que sua disposição permita o acionamento da parada de emergência dentro da área de alcance do operador.

1.4.15.1 O dispositivo de parada de emergência deve atender ao disposto na NR-12.

1.4.16 O sistema de segurança e suas interligações devem atingir no mínimo categoria de segurança 3.

1.4.17 Os operadores da máquina serra de fita devem estar identificados durante seu turno de trabalho.